Как сделать телескопическую трубу своими руками: Телескопическая стойка для осветительного оборудования

Содержание

Монопод своими руками

Для улучшения стабилизации фотокамеры при видеосъемке отлично подойдет монопод с инерционным стабилизатором, об изготовлении которого и будет рассказано в данной статье.

Обычный монопод

Простой, прямой монопод можно изготовить из подручных материалов.

Для изготовления потребуется:

  1. Головка с резьбой от штатива.
  2. Крепеж от от штатива-струбцины ФЭД.
  3. Текстолитовая ручка Ø18мм.
  4. Прут из стали Ø5х85мм.
  5. Втулка с резьбой М5x8x35мм.
  6. Шайба 20мм.
  7. Резиновая ножка Ø20х20мм.

Штатив-струбцина ФЭД — это устройство для крепежа камеры к плоским поверхностям: столам, перилам, подоконникам…). Конструкция монопода проста. На обеих сторонах прутка нужно нарезать резьбу. С одной стороны закрепить резиновую ножку, а с другой — крепеж для камеры. Такой монопод хорош, но не идеален. Во первых, он получается громоздким. Было бы удобнее иметь возможность складывать его, уменьшая длину. Во вторых, остались качания камеры из стороны в сторону. От этого монопод не избавит в том виде, в котором он сейчас находится.

Усовершенствование конструкции

Следующий экземпляр будет выполнен из телескопической трубки. Это позволит снимать сидя и стоя. Телескопическую трубку можно купить в магазине строительных материалов или в хозмагазине. Телескопические держатели предназначены для покраски стен или потолков.

Желательно подобрать ручку с тремя секциями, но чаще встречаются с двумя. Ручка очень длинная, поэтому её нужно укоротить.

Ручка в разобранном виде.

Сборка

Телескопическая трубка достаточно хрупкая, поэтому между элементами нужно устанавливать резиновые шайбы.

Когда гайки закручиваются, резина сжимается и тело телескопической трубки несет минимальные нагрузки.

Опорную ножку нужно сделать вращающейся, для того, чтобы поворачивать монопод во время съемки без каких либо препятствий. Для этого нужно сделать длинную резьбу или организовать вращение при помощи шайб и болтов. Если промежуточные шайбы имеют слишком большой диаметр, то их можно подточить на станке. Для равномерного стачивания шайб по всей окружности, их нужно зажать на шпильке и постоянно равномерно вращать при стачивании.

Укорачивание телескопической трубки

Наша трубка слишком длинная, поэтому её нужно укоротить. Обрезать будем трубку с обеих сторон.

Разметить можно чертилкой или тонким маркером. Для того, чтобы при распиле не повредить краску, место распила можно обмотать изолентой или плотной бумагой. Пилить будем обычной ножовкой по металлу. Полотно следует расположить так, чтобы зубья были направлены от вас, а пилить нужно только на себя. Это усложнит задачу, но позволит получить более ровный распил. Окончательную доводку можно выполнить наждачной бумагой.

Инерционный стабилизатор

Чтобы стабилизировать съемку с рук, к моноподу будет добавлен вот такой стабилизатор. Грузики позволяют стабилизировать камеру не только в вертикальной, но и в горизонтальной плоскости. Грузы разнесены на 30 см каждый. Конструкция получается не самая удобная и красивая, но для съемки дома или на выезде среди друзе, вполне пригодна для эксплуатации.

Конструктив стабилизатора

  1. грузик – сталь Ø50х50мм.
  2. шпилька М6 х 300 мм.
  3. фланец – сталь Ø30х8мм.

Сумарный вес грузов составляет 1,5 кг. Грузы крепятся на шпильки, а шпильки между собой соединяются фланцем.

Узел крепления к моноподу

  1. 1,3 – резиновое кольцо Ø20 х 3 мм.
  2. 2 – втулка Ø20 х 25 мм.
  3. 4 – фланец Ø30 х 8 мм.

Съёмка видео

При съёмке на коротком фокусном расстоянии преимущества монопода не очевидны, но если увеличить ФР, то влияние стабилизатора и опоры будут значительны.

Доработка

Для более удобного использования монопода, его можно обмотать самослипающейся лентой. Она позволит более плотно держать в руке монопод.

Края намотки можно зажать термоусадочной трубкой.

На основе материалов с сайта: http://oldoctober.com

Лестница (стремянка) из профильной трубы своими руками

В тех конструкциях, где необходима высокая надежность и долговечность, элементы изготавливается из металлических деталей.

Готовая лестница

Лестница из профильной трубы своими руками, изготовленная в домашних условиях – не исключение.

Cодержание статьи

Основные типы лестниц

Приставная стремянка – это лестница, которая может стоять самостоятельно, используя для этого любую подходящую опору (стена, к примеру).

Стремянка может быть одностороннего или двухстороннего типа. Конструкция имеет каркас, к которому крепятся ступени, а дополнительные элементы, которыми снабжается стремянка – это поручни и ножки.

Расчет высоты такой конструкции из профильной трубы производится в ходе определения интервала межу полом и последней ступенькой. Расчет производится с ориентировкой на интервал в 20-25 см. Ввиду наличия различных функциональных особенностей стремянка может быть:

  • Классической;
  • Универсальной;
  • Трансформером.

Конструкции, относящиеся к универсальному типу, сочетают в себе функционал обычной лестницы и стремянки.

Каркас таких изделий может быть раскладным или телескопическим. Представленная стремянка имеет каркас, состоящий из нескольких секций, при этом каждая из секций состоит из 5-7 ступенек.

Телескопические конструкции отличаются тем, что их секции можно выдвигать постепенно. Они фиксируются с помощью специальных защелок или крючков.

Стремянка-трансформер может работать в нескольких положениях. Такие изделия из профильной трубы очень компактны, легкие и без труда могут поместиться даже в багажнике автомобиля.

Почти готовая стремянка

Каркас лестничных изделий собирается с применением металлических профильных труб, выполняющих функцию несущих стоек, ступени могут изготавливаться из дерева или менее прочного, чем каркас материала.

Все соединения конструкции из профильных труб стыкуются между собой с помощью болтовых соединений.

Это позволяет при необходимости произвести быструю замену любого поврежденного элемента. Некоторые стремянки из металлопрофильных труб можно сделать неразборными – для их создания применяется сварка.

Стоит отметить, что наиболее распространенный и практичный материал для создания описываемых конструкций – это алюминиевый или дюралюминиевый сплав. Готовая лестница, собранная своими руками будет отличаться такими преимуществами, как:

  • легкость;
  • надежность;
  • удобство в эксплуатации.

Инструменты и материалы, необходимые для работы

Для создания стремянки своими руками предпочтение следует отдавать алюминиевым или металлическим профильным трубам. Такую конструкцию впоследствии с легкостью можно будет перевозить даже в общественном транспорте. Кроме того, этот метал устойчив к вредоносному воздействию коррозийных процессов и прочих негативных факторов окружающей среды.

Профиль не нужно дополнительно грунтовать и окрашивать, а срок службы изделия зависеть будет зависеть только от качества сборки. При сборке такой конструкции не обойтись без:

  • рулетки;
  • угольника;
  • простого карандаша;
  • ножовки по металлу;
  • болгарки;
  • дрели;
  • отвертки;
  • молотка;
  • сверла по металлу;
  • болтов и гаек;
  • сварочного аппарата.

Кроме того, нужны будет такие расходные материалы, как:

  • ремни или цепи;
  • несколько резиновых набоек для ножек;
  • клей для металла или жидкие гвозди;
  • металлический лист, из которого будут вырезаться ступеньки и соединители;
  • металлическая или алюминиевая профильная труба.

Необходимо уточнить, что алюминиевая труба обладает высокой электропроводностью и готовое изделие запрещено использовать для ремонта высоковольтных линий.

Профильная труба

Впрочем, в быту такая необходимость встречается не так уж и часто. Алюминий хорошо проводит тепло, а на открытом воздухе он нагревается в несколько раз быстрее, чем металл.

Так, например, если такую стремянку оставить под солнцем летом на несколько часов, то она с большой вероятностью сильно нагреется, что усложнит работу.

Стремянка из профильных труб легка в изготовлении, а материал является общедоступным и отличается высоким запасом прочности. Стремянка, изготовленная из металлической профильной трубы требует окраски для защиты ее от коррозии.

Порядок изготовления

Для создания стремянки из профильных труб рекомендуется придерживаться следующей последовательности действий:

  1. Подготовить металлическую алюминиевую или стальную трубу и отрезать от нее 4 одинаковых по длине отрезка.
  2. Если труба изготовлена из металла, то с ее поверхности с помощью болгарки или дрели со специальной насадкой следует удалить особо крупную ржавчину.
  3. Трубу надежно закрепить заготовку в тисках и отполировать ее до блеска наждачной бумагой или с помощью специального средства для удаления ржавчины.
  4. Произвести нарезку ступенек с одинаковой длиной из заранее заготовленных металлических листов. В случае необходимости с них также удаляется налет ржавчины.
  5. Каркас начинает формироваться с приваривания ступенек. Если нет сварочного аппарата, то можно использовать уголки болты и гайки.
  6. Сверху и снизу трубы навариваются заглушки, либо надеваются резиновые наконечники.
  7. К двум оставшимся трубам в нижней и верхней их частях, привариваются перекладины, расстояние от которых до конца трубы должно составлять 10-15 см.
  8. Каркас из несущих профильных труб располагается горизонтально и в нем просверливается ряд отверстий, в которых с помощью болтов крепятся ремни.
  9. К той части лестницы, на которой не закреплены ступени нужно приварить металлическую пластину перпендикулярно каркасу. К другой половине каркаса необходимо прикрепить две пластины из металла – к ним сверху приваривается верхняя ступенька.

Рекомендуется прикручивать пластины со ступенями с использованием контргайки, для того, чтобы в случае необходимости они могли свободно прокручиваться.

Для того чтобы обеспечить надежную фиксацию, на уровне с опорной пластинкой формируются пропилы, которые будут выполнять функцию замка.

Самостоятельное изготовление стремянки (видео)

Изготовление других видов стремянок

Некоторые конструкции не всегда можно с удобством транспортировать в разобранном состоянии. Для придания конструкции монолитности ту часть, на которой располагаются ступеньки, делают несколько длиннее.

На расстоянии в 10-15 см от самой высшей ступеньки в профильной трубе просверливается и прорезается специальный зазор.

В него вставляются концы половинок без ступеней. Эти части оббиваются молоком и сплющиваются. После этого в каркасе просверливается сквозное отверстие, и участок конструкции фиксируется с помощью контргайки.

Для того чтобы собрать стремянку-трансформер, изначально следует провести расчет конструкции, а потом выполнить следующие действия:

  1. Нарезается 8 отрезков труб с одинаковой длиной.
  2. Из листа металла вырезаются ступени. Размер шага можно задать любой.
  3. Ступени крепятся так, чтобы с обеих сторон секций они располагались на одинаковом расстоянии друг от друга.
  4. Производиться примерка и секции соединяются при помощи запорных механизмов.
  5. Стремянка обрабатывается грунтовкой и покрывается краской.

Стоит отметить, что нагрузка на запорные механизмы стремянки-трансформера в большинстве случаев довольно высокая, потому формировать сварочный соединительный шов между элементами конструкции нужно предельно качественно.

Для создания лестницы-трансформера понадобится тот же набор инструментов и материалов, что и для классического аналога конструкции, но вместо ремней будут применяться стоп-механизмы.

После окончания сборки специалисты рекомендуют смазать все запорные механизмы маслом или солидолом.

Технология сборки стремянки раздвижного типа практически ничем не отличается от алгоритма монтажа двух предыдущих видов.

Все несущие секции делаются по принципу трансформера и соединяются друг с другом посредством раздвижных механизмов. При этом самые крайние две секции соединяются между собой по принципу обычной стремянки.

чертежи лестницы из дерева и из профильной трубы, самодельные модели-трансформеры из металла

Существует немало различных инструментов и приспособлений, которые должны быть в каждом доме. Они помогают нам выполнять домашнюю работу более эффективно и быстро или просто могут делать нашу жизнь проще. Одним из таких элементов выступает переносная лестница, или как ее чаще называют, стремянка. Данное изделие должно быть в каждом доме, ведь несмотря на свою простоту, помогает нам в ряде моментов, когда требуется проведение каких-то работ на не очень большой высоте, куда человек не может достать без подручных средств.

Особенности и назначение

Стремянка представляет собой довольно полезный инструмент для квартиры и особенно для дома.

Но также она не будет лишней для кухни или гардеробной, что позволит достать что-то с верхней полки или протереть пыль на крыше какого-то шкафа. Стоимость такого приспособления нельзя назвать высокой, но если вам необходима стремянка, выполненная своими руками, то вы сможете проявить фантазию и сделать модель, которая нравится именно вам. Самодельные решения тогда могут быть различными и иметь существенно более расширенный функционал, чем модели, которые продаются в магазине.

Логично, что самым распространенным вариантом является стремянка, выполненная из дерева, ведь ее можно соорудить очень просто, взяв доски или бруски дерева. Основными преимуществами такого варианта будет простота сборки и ухода за ними, а также легкость в вопросе транспортировки. А вот модели, сделанные из металла, являются существенно более громоздкими, и переносить их по помещению или саду существенно сложнее.

Да и изготовление такого варианта часто требует применения сварочной техники.

Конечно, проще будет изготовить стремянку из дерева или, скажем, из фанеры. Хотя последний вариант может оказаться не очень прочным, здесь следует быть осторожными. Можно сделать какое-то комбинированное решение – из профильной трубы, например, каркас, а ступеньки из профиля, фанеры или, вообще, из ПВХ. Но тут уже все зависит от фантазии человека, который ее делает, а также от того, какое конкретно назначение у такой лестницы, и где ее собираются использовать.

Необходимые инструменты и материалы

Прежде чем начинать разговор о необходимых инструментах и материалах, скажем, что список нужных вещей будет варьироваться в зависимости от того, какой вариант было решено реализовывать. То есть может произойти так, что материалы, нужные для создания деревянного варианта, окажутся совершенно бесполезными, если будет делаться стальная лестница или стремянка из полипропиленовых элементов.

Естественно, что и сварка нам точно не понадобится, если мы решим делать вариант, выполненный из дерева.

Если решено было делать стремянку из древесины, то для реализации задумки нам потребуется ножовка для работы с деревом, которая будет иметь толщину зубцов около 3 миллиметров. В дополнение нужно иметь под рукой отвертку, наждак средней зернистости, сверла и молоток. Следует сказать, что сверла обычные не подойдут. Нужны специальные для древесины, с диаметром 3 и 12 миллиметров. Их особенностью является и то, что длина части для работы будет составлять 0,5 сантиметра. Саморезы применяются в качестве крепежей и должны быть также сделаны для дерева. Еще нужны 4 болта модели М10, длина которых составляет 1,2 сантиметра.

А также к ним в дополнение нам понадобятся шайбы-четверки и гайки. Обоих элементов нужно по 8.

Перед формированием такой вещи из дерева следует приготовить цепи спецконструкции с длиной не менее полуметра, что потом окажутся своего рода фиксаторами. Каждое звено должно быть выполнено из 1,5-2-миллиметровой проволоки толщиной, а длина самого звена должна быть не больше сантиметра. И еще потребуются 4 скобы полукруглой формы, чтобы зафиксировать цепь.

В случае с другой конструкцией, нам потребуется иметь под рукой:

  • молоток;
  • дрель;
  • рулетку для проведения замеров;
  • пилу.

Кроме того, потребуются бруски из дерева и так далее. Но также при реализации металлического варианта будут нужны:

  • металлопрофиль;
  • металлические трубы;
  • резиновые накладки на ступеньки;
  • петли;
  • башмаки;
  • резиновые ножки;
  • болгарка;
  • сварка;
  • угольник;
  • электродрель;
  • маркер;
  • крепежи-метизы;
  • ремни;
  • лоток.

В общем, все зависит от того, какой проект реализуется, а также из какого материала планируется делать лестницу-стремянку.

А это можно узнать, когда у вас на руках есть такая вещь, как чертежи.

Чертежи и размеры деталей

Следует сказать, что чертежи, как и размеры деталей, будут зависеть от того, какой тип стремянки мастерится, из чего она будет сделана, и какое у нее оснащение. То есть если это маленькая стремянка, имеющая 2 или 3 ступени, то это будет одно дело. Если она еще и складная – уже нужны иные чертежи, предусматривающие данный момент. Если это металлический трансформер, то для этого потребуется совсем другой чертеж. А если он еще и мини, то это тоже должно быть предусмотрено в чертежной документации.

Вообще, тут следует уточнить, что все стремянки делятся на три категории:

  • телескопические;
  • универсальные;
  • классические.

Классические представляют собой конструкции, где ступеньки есть на обеих сторонах. В универсальных – только с одной стороны. А телескопические – наиболее сложные с технической точки зрения, но самые удобные. Они складываются и трансформируются. То есть уже можно понять, что чертеж для упомянутых конструкций будет разным.

Чертеж, по своей сути, позволяет упорядочить и свести воедино все ваши желания и требования к стремянке. И именно он непосредственно будет влиять на размер деталей, которые будут использоваться.

Если мы говорим о чертеже мини-стремянки, то это будут одни параметры. Если о чертежной документации для деревянной универсальной модели, то совершенно другие. В общем, если подытожить, то все будет зависеть от конкретного проекта, который был задуман человеком и реализации его в виде чертежной документации.

Как сделать?

Как уже можно было убедиться, подготовка к реализации проекта стремянки должна проводиться серьезная. Перед тем как непосредственно начать реализовывать такую задумку, нужно иметь необходимые материалы, инструменты, а также чертежи, где будет просчитано все – от физических размеров элементов до мелочей, а также знать, из чего нам требуется изготовить такое приспособление. Теперь перейдем к описанию непосредственно процесса создания такого типа лестницы.

Подготовительные работы

Если было решено создать стремянку из древесины, то требуется перед непосредственной сборкой провести кое-какие работы по подготовке составных частей к сборке. Например, нам потребуется специальный, особо прочный брус, который требуется предварительно хорошо просушить. После этого его следует порезать на определенные отрезки, которые потом станут перекладинами и стойками.

Если вдруг берется для создания деревянной стремянки пиломатериал, то его следует очень тщательно осмотреть на отсутствие дефектов, сколов и поломок различного типа. А также будет важен цвет. Она ни в коем случае не должна иметь серых или включений темно-коричневого цвета.

А также следует сначала зачистить при помощи наждачки все детали, к которым человек будет прикасаться, чтобы не загнать в дальнейшем занозу.

Кроме того, перед сборкой следует пропитать детали антиспетиком, чтобы конструкция прослужила дольше и не была подвержена гниению или разрушительному воздействию атмосферных факторов.

Естественно, следует потом подготовить все нужные элементы.

  • Берем брус и отрезаем от него 4 части для тетивы. Две из них будут применяться в опорной части стремянки, а еще 2 будем использовать для поддержки ступенек.
  • На одной паре тетив необходимо сделать пазы, которые будут иметь глубину около 2 сантиметров, а высоту где-то 2,5 сантиметра по брусовой ширине. Тут важно сделать так, чтобы центр паза сверху, расположенного справа, был на расстоянии от верха тетивы где-то около 12,5 сантиметра. Иные следует проделать через каждые 29 сантиметров.
  • В стойках, что будут опорами всей конструкции, пробиваем по 3 паза с размерами, как у перемычек. Один будет располагаться на высоте первой ступеньки конструкции, второй – сверху, а третий – по центру.
  • Стоечные края, что находятся наверху, округляем и полностью убираем любые углы острого типа.
  • Концы снизу обрезаем так, чтобы наша деревянная конструкция получила максимальную устойчивость, после чего оббиваем их резиной, дабы она не оставляла следов на полу под тяжестью массы человека.
  • Теперь остается по чертежной документации изготовить ступеньки. В каждой делаем шипы с двух сторон, что должны иметь диаметр где-то 2,5 сантиметра и длину 2 сантиметра.

Сборка

Теперь начинается непосредственная сборка конструкции.

  • Сначала в стоечные пазы необходимо поставить ступеньки. До этого шипы необходимо обработать клеем столярного типа.
  • Шипы ступенек с применением молотка следует вбить в стоечные пазы. После монтажа ступенек следует сделать крепление с торца тетивы гвоздями.
  • Во время собирания лестницы из досок, вместо брусков, действия будут чуть иными. Пазы делать не следует, так как доска будет иметь небольшую толщину. Ступени тогда следует прикреплять на тетивы с использованием уголков, сделанных из стали, с широкими полками.
  • Теперь тетивы рабочей области следует скрепить с использованием шпилек. Это дает возможность увеличить долговечность и надежность конструкции. Под пазами делаем дырки, куда после монтажа ступенек ставим шпильки и по обеим сторонам осуществляем стяжку при помощи болтов.
  • Когда было выполнено собирание рабочей и опорной областей, следует собрать их в одну конструкцию через шарниры с петлями, или как альтернативное решение, кронштейнами.
  • Теперь на последнем этапе снизу стремянки прикрепляется цепь фиксации, что не позволит расходиться рабочим и опорным частям очень сильно.

Финишная обработка

Следует сказать, что выполненные из дерева стремянки и лестницы должны проходить финишную обработку. Ее алгоритм будет включать ряд шагов.

  • Детали, что человек берет в руки, все должны быть отшлифованы при помощи наждака. Как уже упоминалось, это необходимо, чтобы снизить риск того, что можно загнать занозу. А также как до, так и после сборки конструкции, следует очистить поверхности, которые были деформированы плесенью. Тут можно использовать даже специнструменты.
  • Чтобы улучшить характеристики древесины в вопросе противостояния воздействию различных природных и антропогенных факторов, следует пропитать конструкцию спецвеществом – морилкой. Это антисептик, что не позволит дереву гнить, а плесени – образовываться. Естественно, что это существенно увеличит время ее работы.
  • Когда изделие собрано, необходимо пропитать его при помощи олифы, после чего покрыть краской либо лакокрасочными материалами.
  • Конечно, какую делать лестницу и как – каждый решает самостоятельно. Но следует не забывать, что она должна не только выглядеть эстетично, но и являться безопасной, функциональной и прочной.

Советы профессионалов

Теперь приведем несколько советов от профессионалов, которые позволят сделать процесс сборки деревянной стремянки лучше, проще и эффективнее.

  • Первое, что следует знать – при создании деревянной стремянки собственноручно необходимо сделать специальную подпорку брусьями и использованием методики, что предусматривает выкладывание различных элементов внахлест.
  • Еще один важный момент, который тоже будет полезен – для обеспечения дополнительной жесткости следует осуществить прикрепление каждого бруса поперечного типа к стойке при помощи спецболтов. Каждый такой болт-саморез должен иметь длину не менее 65 миллиметров.
  • Третий момент, который следует знать, состоит в том, что если установить на торцевой стороне опоры уголки, выполненные из стали, то конструкция станет существенно крепче и будет выдерживать большие нагрузки.
  • Можно также сделать съемную верхней ступеньку, что будет просто ставиться на стремянке. Такая деталь удобна, если требуется осуществить покраску потолка. В этом случае ведро с краской можно будет поставить рядом.
  • А также можно оборудовать стремянку хотя бы одним поручнем – спуск и подъем тогда станут быстрее и существенно проще.

Как видите, сделать стремянку своими руками – дело не слишком сложное и посильное для многих. Главное, четко знать, из какого материала вы будете делать эту конструкцию, а также разработать правильные и точные чертежи, которые после создания останется лишь воплотить в реальную стремянку.

Посмотрев видеоролик, вы узнаете, как сделать стремянку из профильной трубы своими руками.

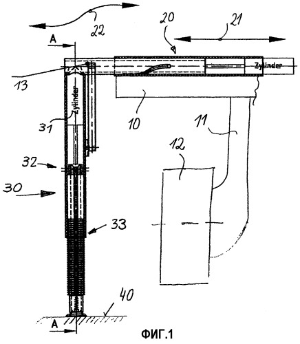
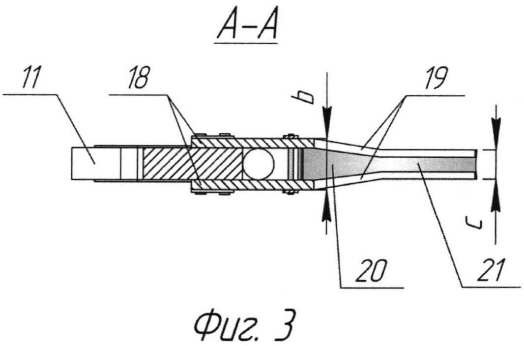
Стойка телескопическая

Монолитное строительство считается одним из самых востребованных и удобных, оно позволяет создавать перекрытия любого формата и толщины. Однако в подобных работах зачастую требуется применение массивных кранов для подъема бетонных плит. Такая спецтехника не только очень громоздкая, но и дорогая, что делает ее недоступной для ряда мастеров и организаций.

Сэкономить на монолитном строительстве можно, используя поддерживающий каркас из телескопических стоек и деревянных балок. Стойка телескопическая домкрат – это специальная очень выносливая опора, с помощью которой можно создать перекрытие без использования домкрата. На каркас из стоек и балок укладывают пласт фанеры, которая и станет дном всей опалубки. Именно на фанеру заливают раствор для перекрытия. Подобные опалубки используют для монтажа горизонтальных конструкций на высоте не более 500 см, при этом слой перекрытия не должен превышать 400 мм.

Устройство телескопического домкрата

Изделия от разных компаний имеют свои особенности и нюансы, но в целом конструкция стоек схожа. Она состоит из двух металлических труб, одна из которых имеет меньший диаметр. Снизу трубу венчает опорная площадка, а на обратном конце стойки прикреплен специальный натяжитель с отверстиями под крепежи.

Труба меньшего диаметра выдвигается, на ней для фиксации расположены отверстия с шагом от 10 до 17 см. Также на одной стороне торца есть площадка для поддержки опалубки. Когда собирают каркас, на трубу с резьбой накручивают ограничитель (муфту или гайку) и вкручивают верхнюю часть. Затем трубу фиксируют на высоту перекрытия с использованием специального стержня, который вставляют в отверстие на узкой трубе. В комплекте со стойкой идет подставка и тренога, если их нет, то их покупают отдельно.

Резьбу на вставки наносят накаткой металла. Для этого сталь или другой сплав деформируют и уплотняют, что повышает его прочность. Крепежи и стержни требуют большей прочности, потому их делают из ковкого чугуна. Для гаек используют сплав с повышенной эластичностью и устойчивостью к повышенным нагрузкам.

Важно! Некоторые изделия оснащаются натяжителями с защитной гильзой. Она препятствует загрязнению и быстрому износу детали.

Стойка телескопическая домкрат производится с открытой или закрытой резьбой. Снаружи конструкцию покрывают покрытием по металлу. Некоторые компании занимаются производством устойчивых к коррозии конструкций, для этого они изготавливают оцинкованные:

  • натяжители;
  • фиксаторы;
  • гайки.

Благодаря обработке крепежей и фиксаторов стойки имеют повышенную устойчивость к коррозии и износу.

Габариты телескопических стоек

Стойка телескопическая домкрат, изготовленная из двух различных труб, может иметь разную длину. Максимальная протяженность конструкции зависит от размера секций. В зависимости от степени выдвижения верхней трубы меняется возможная нагрузка на домкрат: чем выше поднимается конструкция, тем меньшую нагрузку она может выдержать.

Для перекрытий толщиной в 200-300 мм, находящихся на высоте ниже 3 метров, используются телескопические стойки в 3-4 метра. Они производятся из трубы с диаметром в 6 см при толщине металла 2 мм. Верхняя часть телескопической стойки имеет разный диаметр (в зависимости от модели и производителя), наиболее распространены размеры в 4,8 и 5,1 см. Толщина материала верхней стойки приближена к 2,5 мм.

Чтобы залить межэтажное перекрытие на высоте от 3 до 4 метров (при толщине плиты в 300-400 мм) необходимы усиленные конструкции. Для этого используют опоры длиной почти в 4 метра. Их нижняя часть состоит из труб диаметром 7,6 см, а верхняя – 6 см. Усиленная стойка телескопическая домкрат производится из труб с толщиной стенки 3 мм. Такие конструкции могут выдержать вес в 4 тысячи килограмм.

Стандартная стойка имеет вес около 20 кг, это позволяет проводить транспортировку и установку без использования тяжеловесной техники. Для сборки каркаса достаточно 2-3 человек. Стойка телескопическая домкрат подходит не только монтажа межэтажных плит и поддержки опалубки, ее можно использовать при возведении или реконструкции следующих сооружений:

  • грузоподъемные площадки;
  • поддерживающие площадки для работы по демонтажу горизонтальных конструкций.

Сфера применения строительных телескопических опор очень широка, главное – правильно их установить.

Сборка опалубки для перекрытия

Сборку начинают с расстановки треног, их правильное расположение и устойчивость обеспечивают прочность всей конструкции. Для калибровки высоты и расположения используют поворотные опоры. Стандартная тренога не только сохраняет положение всей стойки, но и забирает на себя определенную нагрузку. Зажим опоры поднимают до самого верха, а после монтажа опоры в треногу, зажим закрепляют. На верхней части трубы располагают унивилку, затем верхнюю часть выдвигают и располагают на необходимую высоту.

Обратите внимание! Монтаж и сборка гидравлических стоек проходит гораздо проще и быстрее, чем монтаж механических конструкций. К тому же такие изделия могут выдерживать большие нагрузки. Однако цена на гидравлические опоры и домкраты выше.

Для фиксирования конструкции используют серьгу или стержень. Сборку выполняют по следующей инструкции:

  • монтаж продольных и поперечных балок;
  • выравнивание конструкции по горизонтали;
  • регулировка высот опор с использованием гайки для выравнивания опалубки;
  • укладка фанеры.

Обратите внимание! Обрешетки перекрытия подходит только ламинированная фанера, она облегчает съем всей конструкции без вреда целостности перекрытия.

Расстояние между опорами зависит от толщины перекрытия. Так для конструкции в 30 см делают шаг между телескопическими стойками в полтора метра. Универсальной схемы расположения для стоек нет, все зависит от сопутствующих конструкций и особенностей проекта. Помимо раствора, веса арматуры и оборудования учитывают еще и высоту, на которой будет заливаться перекрытие. Большинство производителей и компаний делают расчеты по расстановке телескопических опор бесплатно, такая услуга предоставляется покупателем домкратов. Чтобы работы не привели к разрушению перекрытия лучше обратиться к профессионалам. Они подберут сами опоры, их количество и определят расстояние, на котором их нужно установить.

Стоимость

Стойка телескопическая домкрат производится из прочнейшей стали. Изделия оптимальны для частого применения. Если конструкции нужны вам для разовых работ – их можно взять в аренду или купить подержанные изделия. Цена стоек зависит от модели, размера, толщины стали и наличия обработки. Зарубежные производители предлагают стойки среднего размера по цене от 3500 р. Отечественные изделия можно купить в 2-3 раза дешевле.

устройство правильного дымоотвода своими руками


Для обогрева временных построек, гаражей, теплиц, подсобок часто используется буржуйка. Но она также выделяет продукты горения, много дыма от сожженных дров или прочего топлива.

Поэтому потребуется решить, как сделать дымоход для буржуйки и где лучше его установить, чтобы было недорого и эффективно. Тем более что это можно сделать своими руками. Причем все не так сложно, как может показаться на первый взгляд.

Чтобы вам было проще разобраться со сборкой и установкой дымохода, в этой статье мы рассмотрели пошаговый процесс, начиная с выбора материала и сборки и завершая проверкой работоспособности уже смонтированной системы.

Содержание статьи:

Из чего можно сделать дымоход?

Чтобы пользоваться буржуйкой, понадобится позаботиться об отведении дыма. Для этого предстоит соорудить дымоход, подобрав оптимальный материал.

Для проведения работ можно пригласить специалистов, а можно все сделать своими силами – тем более, что объем работ невелик.

Виды труб для дымохода

Для изготовления трубопровода для отведения дыма используют различные материалы.

Изначально, в зависимости от материала изготовления, существует 2 варианта:

  1. Взять готовые трубы, изготовленные на заводе;
  2. Изготовить трубы из листов нержавейки или другого листового металла.

Самый дешевый способ – самостоятельно изготовить трубы. Здесь несомненное преимущество заключается в том, что труба будет нужного диаметра, что особенно важно для самодельных печек-буржуек.

Для дымохода буржуйки можно самостоятельно изготовить не только обычные трубы, но и двойные – сэндвич-трубы. Для этого понадобится 2 трубы разного диаметра и жаропрочный утеплитель

Второе преимущество самодельных труб – стоимость. Для их изготовления можно использовать подручный материал, или приобрести металлические листы толщиной от 0,6 мм. А лучше в 1 мм.

Причем можно сделать и утепленную трубу для дымохода, изготовив для этого из листов 2 трубы различного диаметра. Или же взять готовые металлические разного диаметра. Помимо самостоятельного изготовления труб для дымохода, можно остановиться на более простом и быстром варианте – купить готовые трубы из нужного материала.

Элементарный вариант сборки дымохода для буржуйки предполагает использование готовых стальных труб и углового элемента. Из них собирают дымовой канал и приваривают к самодельной печке:

Галерея изображений

Фото из

Шаг 1: Приваривание патрубка к вершине печки

Шаг 2: Сборка дымового канала

Шаг 3: Вывод дымохода буржуйки наружу

Шаг 4: Сооружение наружной части трубы

Среди материалов наиболее распространены следующие:

  • Кирпич. Это самый дешевый материал. Из него выкладывают дымоход на месте, но это потребует сноровки;
  • Сталь. Нержавеющая, оцинкованная, легированная (углеродистая) труба может использоваться в качестве дымоотвода;
  • Керамика. Керамические изделия отличаются высокой стоимостью, что исключает монтаж в гараже или подсобке;
  • Асбестоцемент. Асбестоцементные изделия доступны по цене, но не пригодны в качестве материала для сооружения дымохода. Хотя часто их можно увидеть в этой роли;
  • Вермикулит. Эти трубы выполнены из нержавейки с 5-сантиметровым слоем вермикулита, нанесенного на внутреннюю поверхность трубы.

Помимо таких вариантов рынок предлагает много других изделий. Так, можно встретить трубы из жаропрочного стекла, из которых вполне можно соорудить экзотический дымоход. Но это делают крайне редко – нужна сноровка для установки и соединения отдельных элементов конструкции между собой.

Для буржуйки нецелесообразно покупать дорогостоящие трубы. Чтобы изготовить дымоход достаточно купить металлические жаропрочные трубы и переходники для монтажа всей конструкции

Рекомендации по выбору трубы для буржуйки

Чтобы сделать дымоход для буржуйки, не обязательно своими руками сооружать трубы из металлических листов. Для этого понадобится определенная сноровка и время.

Ведь листы сначала нужно будет свернуть в трубку нужного диаметра, а затем плотно закрепить шов, используя заклепки и жаропрочный герметик. Гораздо проще и быстрее купить нужные изделия, произведенные на заводе.

Для сборки всей конструкции дымохода и плотного крепления ее отдельных составляющих нужно использовать жаропрочный герметик, который способен выдержать температуру от 1000 градусов по Цельсию

Что касается материала, то брать дешевые асбестоцементные трубы для этих целей не стоит – этот материал не выдержит, если температура в процессе топки поднимется выше 300 градусов Цельсия. Да и сама труба довольно тяжелая.

Также она будет поглощать конденсат. А проделать отверстие для прочистки от сажи или удаления конденсата будет проблематично.

Из кирпича делать дымоход для буржуйки – неоправданно большие расходы. Во-первых, редко кто из домашних мастеров умеет делать правильную кладку. А во-вторых, это громоздкая конструкция, требующая дополнительно усилить фундамент. Буржуйка же – это временное отопительное оборудование.

Временным заместителем стационарной металлической трубы может послужить металлизированная гофра, однако для постоянного использования ее нужно заменить металлической трубой:

Галерея изображений

Фото из

Для того чтобы недавно сделанной буржуйкой, действующей на отработке, можно было сразу начать пользоваться, функцию дымохода можно доверить гофре диаметром 100 мм

Узел подсоединения гофры к самодельной печке и вывод ее за пределы гаража необходимо тщательно герметизировать металлизированным скотчем

Временное решение, гофру, необходимо поменять в обязательном порядке. Лучший вариант — покупка стальных элементов для дымохода. Домашние мастера могут собрать канал из отслуживших труб ВГП

Патрубок, к которому будет присоединена дымовая труба, можно приварить или прикрутить, используя цельнолитой с ним фланцевый диск

Патрубки и трубы с фланцами в примере используются во всех ответственных соединениях и в устройство прохода через кровлю гаража

Для обеспечения герметизации в узлах с фланцевыми соединениями используется паронитовая прокладка, вырезанная по размеру фланца

Дымовой канал последовательно собирается из частично подготовленных к монтажу участков

С применением фланца обустраивается проход дымового канала из старых труб через чердачное перекрытие, стену или кровельную систему гаража

Шаг 1: Установка гофры вместо трубы

Шаг 2: Герметизация узлов подсоединения

Шаг 3: Подбор компонентов для сборки дымохода

Шаг 4: Фланцевое соединение патрубка с печкой

Шаг 5: Использование фланцев в рядовых соединениях

Шаг 6: Применение паронитовой прокладки

Шаг 7: Сборка дымокого канала из старых труб

Шаг 8: Обустройство проходки с помощью фланца

Оптимально взять металлические трубы из нержавейки, а лучше, из легированной стали. Конструкция из такого материала способна прослужить в качестве дымохода 7-10 лет. Это при условии, что трубы достаточной толщины – 6-10 мм и более. Да и качество сборки всех элементов системы, выводящей дым, играет важную роль.

Еще одно несомненное преимущество металлических труб – их легкость. Небольшой вес позволяет в одиночку выполнить все работы по сооружению дымохода для буржуйки.

Галерея изображений

Фото из

Кирпич для дымохода

Металлическая труба

Буржуйки на отработанном масле

Дымоход для буржуйки в помещении

Рекомендуем вам также ознакомиться с более полной информацией по .

Определившись с материалом будущего дымохода, можно приступать к покупке всех комплектующих и сооружению правильной и работоспособной конструкции.

Инструктаж по сооружению дымохода

Сложность сооружения дымохода для буржуйки зависит от того, где именно будет установлена печка. Ведь прорезать отверстие в кровле сложнее, чем продеть трубу сквозь окно.

Поэтому трудоемкость и время изготовления правильного дымохода для буржуйки полностью зависит от индивидуальных особенностей конкретного домовладения.

Этап #1 – сборка дымохода

Самый простой вариант сооружения дымохода – если буржуйкой предстоит пользоваться на улице. Здесь важно выбрать оптимальное место для установки печки, чтобы с ней не соприкасались легковоспламеняющиеся предметы. Да и сами трубы должны быть жаропрочными.

Для буржуйки на улице достаточно присоединить трубу нужного диаметра, по которой будет уходить дым. Это повысит тягу и убережет пользователя от воздействия дыма

Если же трубопровод для удаления дыма будет сооружаться в помещении, то нужно соблюдать ряд правил безопасности, которые помогут уберечь себя и своих близких от пожара.

Во-первых, трубы должны выдерживать высокую температуру – желательно 1000 градусов по Цельсию и выше. Ведь дым, выделяющийся в процессе сгорания топлива в буржуйке, может иметь довольно высокую температуру.

Во-вторых, важно расположить саму печку так, чтобы она не соприкасалась с поверхностями, которые могут загореться. Если стены отделаны вагонкой или пластиком, то предстоит выполнить дополнительные работы, чтобы защитить себя от возникновения пожароопасной ситуации.

Пол под буржуйкой должен быть из материала, не способного воспламениться. Если из топки случайно выпадет горящее полено, это защитит помещение от возгорания

В-третьих, место вхождения трубы в потолок или стену должно быть правильно оформлено.

Для этого важно выдержать расстояние до близлежащих предметов и стен – в процессе работы печки температура трубы будет возрастать и предметы, находящиеся рядом, могут вспыхнуть.

Все места соприкосновения дымоходной трубы с деревом, утеплителем или прочими горючими материалами важно тщательно изолировать. Иначе пожара не избежать

В-четвертых, к одному дымоходу можно присоединить лишь одну буржуйку. Для второй печки в соседнем помещении лучше проложить отдельный трубопровод по отводу дыма.

Этап #2 – выполнение замеров

На подготовительном этапе предстоит определить нужный диаметр труб и их общую длину. Сначала стоит рассчитать диаметр трубы. Правильно, если он будет в 2,7 раза больше, чем объем камеры сгорания.

Так, если буржуйка на 50 литров, то диаметр дымохода должен быть: 50*2,7=135 мм. Так, если взять трубу диаметром 100 мм, она не справится с выделяемым дымом. В результате будет слабая тяга и эффективной работы от такой буржуйки ждать бесполезно.

Также просчитать нужное количество соединительных деталей – колен, тройников и прочих комплектующих

Кроме того, предстоит измерить длину будущего трубопровода для удаления дыма. Для этого важно выбрать постоянное место нахождения буржуйки в помещении.

Затем определить, в каком месте труба будет выходить на улицу. Важный момент – в процессе отведения дыма в дымоходе, проходящем на улице, будет скапливаться конденсат. О его удалении стоит позаботиться.

Для удаления конденсата следует установить тройник, который поможет справиться с этой проблемой

Теперь предстоит измерить расстояние трубопровода на улице и не забыть, что дымоход будет подниматься, в среднем, на 1,5 метра над коньком крыши.

Также следует предусмотреть, что в процессе монтажа понадобятся колена, тройники, проходной стакан, стыковые колена, жаропрочный герметик, асбестовый шнур, трубы нужного диаметра, или сварка для соединения всех комплектующих в единую конструкцию дымохода.

Все это нужно вовремя приобрести, когда все замеры будут проведены. Наличие необходимых материалов позволит приступить к этапу монтажа дымохода для буржуйки.

Отверстие под проходной стакан также проделывается заранее. Здесь важно тщательно убрать все материалы, которые могут загореться

Еще предстоит заранее решить, где именно труба будет выходить на улицу:

  • через окно;
  • через стену;
  • через потолок.

От этого будет зависеть, где предстоит проделать отверстие. Чаще всего трубу пускают через стену или потолок. Для обеспечения безопасности в этом месте предстоит купить специальный проходной узел – стакан. Он изготовлен и жаропрочного материала, который убережет от пожара.

Проходной стакан устанавливается в первую очередь. И лишь потом предстоит собирать конструкцию дымохода

Этап #3 – монтаж всех составляющих конструкции

Когда речь идет о буржуйке, которая работает на улице, то здесь важно взять трубу нужного диаметра, соответствующего патрубку, отходящему от буржуйки.

Дымоходную трубу нужно надеть на патрубок. Это важно, ведь если ее вставить в патрубок, то дым может просачиваться в месте соединения. Более ничего монтировать не придется – буржуйку можно использовать для приготовления или разогрева пищи.

Если речь идет об обустройстве дымохода в подсобном помещении, в гараже или теплице, то здесь порядок проведения работ будет сложнее. Сначала нужно взять отрезок трубы и тщательно зафиксировать его на дымоходном отверстии/патрубке буржуйки. Важно именно надеть трубу на этот патрубок.

Затем предстоит удлинить трубопровод, используя колено. Цель – достигнуть стены/потолочного перекрытия. Здесь уже ждет проходной стакан, сквозь который будет проходить дымоход.

Вокруг проходного стакана нужно убрать утеплитель и прочие материалы, которые могут загореться

Далее трубопровод выходит в подкровельное пространство и на крышу или через стену на улицу. Здесь важно, чтобы уличная труба была утепленной. Также, когда труба выходит на улицу, нужно предусмотреть отвод конденсата. Для этого ставят тройник и делают ревизионное окно, чтобы упростить прочистку дымохода.

Важно все соединения надежно зафиксировать, выдержать расстояние до стен и прочих предметов, которые могут легко загореться.

Галерея изображений

Фото из

Буржуйка и дымоход стоят удаленно от стены

Асбестовый шнур для изоляции

Сваркадля соединения элементов дымохода

Блок-флеш для изоляции

Использование флеш-мастера для обустройства и герметизации прохода дымовой трубы через кровлю значительно облегчает и ускоряет проведение работ:

Галерея изображений

Фото из

Шаг 1 : Установка флеш-мастера на дымоход

Шаг 2: Обеспечение полного прилегания «юбки»

Шаг 3: Герметизация линии прилегания силиконом

Шаг 4: Прикручивание флеш-мастера саморезами

Этап #4 – проверка системы

Когда все составляющие дымохода собраны и прочно соединены между собой, можно приступить к завершающему этапу – установке колпака и проверке работоспособности конструкции.

Так, из буржуйки в процессе сжигания топлива могут вылетать искры.

Часто можно увидеть искры, вылетающие из дымохода в процессе топки – от них защитит искрогаситель. Его можно сделать своими руками, соорудив юбку на обычном колпаке

В качестве можно использовать сетку с мелкими ячейками, размер которых до 5 мм. Это особенно актуально, если крыша или близлежащие сооружения выполнены из легковоспламеняющихся материалов.

Если же опасности возникновения пожара нет, то можно обойтись простым колпаком, который надевается на окончание дымохода и фиксируется там хомутом или тщательно закрепляется заклепками.

Чтобы усилить тягу, можно использовать дефлектор, выбрав один из вариантов, представленных на рынке, или собрав своими руками. Предлагаем ознакомиться с подробной инструкцией по самостоятельному изготовлению .

Колпак для дымохода буржуйки можно сделать самостоятельно, используя подручные материалы. Для этого сгодится плотный лист стали толщиной от 5 мм

Когда колпак установлен, можно приступать к проверке работоспособности всей дымоходной конструкции. Для этого нужно загрузить топливо, поджечь его и посмотреть, как оно будет гореть и как будет уходить дым.

Если он начнет просачиваться сквозь какое-либо соединение, значит там не герметично. Предстоит исправить эту проблему, используя жаропрочный герметик или сварку.

Если работы проведены качественно и все стыки герметичны, то дымоход отлично будет выводить дым. А в помещении запах дыма не появится

Особенности обслуживания дымохода

Дымоход буржуйки нуждается в обслуживании – осмотре внешнего состояния конструкции и очистке внутреннего пространства трубы. Частота обслуживания полностью зависит от материала.

Если это асбестоцементный дымоход – то его предстоит чаще прочищать. Все из-за шероховатой внутренней поверхности трубы, где с удвоенной силой накапливается сажа.

Также асбестовый дымоход, если его установили для отвода дыма из буржуйки, в скором времени может покрыться пятнами или и вовсе разорваться в процессе эксплуатации. Это приведет к дополнительным тратам – потребуется замена трубы дымохода.

Пятна, появляющиеся на асбестовой трубе, не только создают неприятное впечатление своим внешним видом, но и являются предвестниками появления неприятных запахов

Для металлического дымохода частота проведения чистки трубы в среднем составляет 1 раз в год. Также важно проводить осмотр внешнего состояния материала – вполне возможно, что некоторые участки могут прогореть.

Чтобы удалить сажу из металлической трубы, можно:

  • сжечь осиновые дрова;
  • обработать сжигаемые поленья специальным химическим составом, который несложно купить;
  • изготовить крюк для деликатного удаления сажи.

Составы для избавления от сажи отличаются простотой в использовании. Они не требуют особых навыков – достаточно обработать дрова средством из пакетика и разжечь буржуйку, как обычно. Продукты сгорания не будут содержать вредных для здоровья примесей. Это безопасный способ прочистки металлической трубы.

Расход средства и способ его нанесения на поленья указан в инструкции производителя. Важно внимательно прочесть рекомендации и четко их выполнить

В металлической трубе, отводящей дым, сажа чаще всего накапливается на участке, проходящем горизонтально.

Опытные пользователи таких дымоходов нашли удобное решение – просверлить небольшое отверстие и соорудить крюкообразную конструкцию для удаления сажи. Таким приспособлением стенки трубы не удастся повредить, а прочистить накопившуюся гарь получится.

Крюкообразная конструкция проста в изготовлении, да и применять ее довольно удобно. Чаще всего это участок трубопровода, находящийся на улице

Тщательный осмотр внешнего состояния дымохода позволит вовремя диагностировать потребность в замене того или иного участка. Не стоит пренебрегать этой мерой – ведь сквозь дыры в дымоходе дым будет идти в помещение, а дальнейшая эксплуатация отопительного прибора станет невозможна.

Регулярная очистка внутренних стенок от сажи поможет продлить срок службы трубопровода, отводящего дым. Да и тяга всегда будет на нужном уровне, что положительно влияет на эффективность работы буржуйки.

На нашем сайте есть также другие статьи, содержащие подробную информации о лучших методах очистки дымохода и рекомендации по выбору средства для чистки. Предлагаем вам ознакомиться с ними:

Выводы и полезное видео по теме

Тонкости самостоятельной сборки дымоходной конструкции показаны в видео ролике:

Если тяга в дымоходе слишком сильная, можно соорудить приспособление для ее регулировки. Как это сделать показано в видео:

Неопытные мастера часто допускают ошибки при монтаже дымохода. О наиболее распространенных проблемах рассказывает видео ролик:

Если присутствует проблема с выходом дыма в помещение, то ее можно быстро и просто решить. В видео продемонстрировано, как это сделать:

Для обслуживания металлического дымохода буржуйки можно использовать простой метод деликатной физической очистки:

Сделать дымоход для буржуйки несложно, если к заданию подойти ответственно и все делать правильно. Только в таком случае компактная печка будет служить долгое время, не требуя дополнительного внимания к себе.

Да и качество ее работы будет постоянно радовать, главное – своевременно выполнять прочистку дымохода от сажи и прочих продуктов горения.

Вы пользуетесь буржуйкой, оснащенной самодельным дымоходом? Поделитесь своим опытом сборки и фото готового дымохода в блоке комментариев. Расскажите какой материал вы использовали для дымоходной трубы и насколько сложной оказалась для вас задача по изготовлению дымохода.

Телескопические трубы для пылесоса: устройство и ремонт

Телескопическая труба для пылесоса – одна из неотъемлемых его частей. Это элемент, который соединяет шланг и насадку. Некоторые считают, что разобрать эту деталь не возможно без поломки защелок и повреждений целостности. Но если разобраться в сути устройства, трубу можно и разобрать и починить при необходимости. Рассмотрим варианты разбора на примере разных марок пылесосов: Samsung, Lg, Dyson.

Телескопическая труба

Виды труб

Их различают по материалу изготовления. Бывают пластиковые и стальные трубки. Стальные более долговечны. Но в эксплуатации легче пластиковые. Хотя и легко ломаются.

Пластиковая труба

Современные пылесосы изготавливают с прочными фиксаторами на трубках. Именно они часто затрудняют разборку элемента.

Устройство телескопической трубы

Телескопическая труба всасывания — это целостная система, состоящая из двух трубок: наружной и внутренней. В них встроено один либо несколько элементов ступора, фиксирующихся во внутренних пазах втулки. Благодаря этому удерживается внутренняя труба. Фиксирует систему специальная встроенная пружина.

Фиксатор трубы

Телескопическая труба LG (как и в других известных моделях) закрывается изнутри. И нет возможности ее открытия. Пружинистый элемент там выполнен в виде изогнутого кольца. Кроме этого добавлены неразъемные зубчики и колпачки. Но предприимчивые люди все же находят способы как разобрать и отремонтировать телескопическую трубу.

Разбор трубы

Метод разбора

Если трубка в пылесосе перестает функционировать, можно осуществить следующие действия:

  1. В том месте где находится кнопка-фиксатор просверлить маленькое отверстие.
  2. Выкрутить винтик. Для этого от трубки оттянуть кнопку (так легче рассмотреть местонахождение винтика). Прицелиться сверлом и сделать отверстие.
  3. После этого части трубки легко разберутся по деталям.

Разбор труб на пылесосах Samsung и LG

Телескопическая труба для пылесоса Samsung схожа по элементам с LG. Поэтому их разбор и ремонт будет аналогичными.

Телескопическая труба для пылесоса Samsung

Такие трубки тоже можно вскрыть без разлома. Пользуясь некоторыми правилами:

  1. Чтобы осуществить снятие верхних и нижних частей фиксаторов, необходимо повернуть их на 10-15 градусов и стянуть. Куда направлять поворот лучше определять на ощупь. Здесь не предусмотрено никаких показателей. Если не крутится в одну сторону, выкручивать в другую. Не нужно применять силу, если не получается. Иначе трубка просто сломается.
  2. В оставшейся центральной части трубы Самсунг имеется две половинки. Их будет видно. Без больших усилий их следует аккуратно расшатать.
  3. Внутри находится втулка и два стопора пластмассовых. Это очень мелкие детали.
  4. После разбора будет видно — от чего произошла поломка.

После устранения неполадки телескопическая труба Samsung подлежит обратному монтажу. Рекомендуется в процессе сборки все металлические детали смазывать силиконовой смазкой.

Некоторые поступают другим способом. Например, в пылесосах Dyson трубки соединены крепкими защелками. Чтобы их раскрыть надо взять плоскую широкую отвертку, подковырнуть фиксатор и медленно продвинуть его в сторону. Защелка должна «отпрыгнуть». Но этот способ требует аккуратности. Иначе язычки фиксатора могут поломаться. И придется покупать новую телескопическую трубку.

Полезные рекомендации

  • При любой неисправности пылесоса, не зависимо от производителя, рекомендуется разобрать устройство от основания. Вдруг дело совсем не трубке? Если все же уверенность, что поломка в телескопии, тогда не следует трогать двигатель и иные важные элементы.

  • В случае застревания посторонних предметов в трубе, можно постараться и вытащить их без разбора. Для этого нужно найти длинную металлическую или деревянную палку диаметром меньше внутренней трубки. Пропихнуть палку внутрь телескопии и извлечь предмет с другой стороны. Конечно, трубку заранее отсоединить от основы пылесоса.

  • Крепления на трубе открываются сильным нажатием на них одновременно. Но это не получится сделать пальцами. Нужно удобное приспособление.

Чтобы избежать еще больших проблем с техникой, лучше отнести ее в ремонт.

Обзор + Как Сделать Своими Руками

 

Штанга — основная несущая часть металлодетектора, его «фюзеляж». И от того, насколько фюзеляж лёгок и прочен, зависит высота и скорость полёта.
Выбирая металлоискатель стоит задуматься не только о характеристиках обнаружения, но и об эргономике, которая зависит именно от штанги.

Виды и особенности

Штанги можно условно разделить на составные и телескопические. Примеры вторых — российская Тесла или турецкий Nokta Makro Anfibio.

Самодельные штанги бывают и неразборными — такая конструкция априори легче и прочней. Но вот возить такую штангу неудобно.

Также делим по способу прокладки кабеля катушки — внутри или снаружи. В качестве примера внутренней прокладки приведём Nokta Makro Impact.
Профиль трубы также отличается. Если у всех металлоискателей Tesoro труба круглая, то у того же Импакта — треугольная в сечении.

По форме также есть отличия. S-образные с рукоятью на изгибе (XP Deus), T-образные (Garret ATX) с рукоятью почти под прямым углом к штанге и гибридные — с S-образной штангой и рукоятью, выполненной по T-схеме, например знаменитая «тёрка» — x-terra 705. Возможны и другие вариации.

Технические характеристики и аксессуары

Длина и вес — вот две основные характеристики штанги. Держать спину прямой и не отмотать руку. Ну и чтобы вся навеска не отваливалась.

Материал. Обычно на штангу ставят алюминий, но бывают штанги и из других материалов, в том числе пластмасс, стекловолокна, углепластика.

 

Самоделкины выполняют штанги из ПВХ-труб, телескопических удочек, веток деревьев и других подручных материалов.

Подлокотник штанги

Бывает съёмный или несъёмный, регулируемый или нерегулируемый. Разумеется, при покупке стоит предпочесть регулируемый подлокотник, а при изготовлении остановиться на стационарном варианте — и легче, и прочнее и проще в изготовлении.

Средняя штанга.

Прямая с рукоятью по Т-схеме или S-образная или гибрид. По весу предпочтительным выглядит вариант S-образный, о чём свидетельствуют, например, металлоискатели Tesoro — их вес редко превышает 1.2 кг.

Самая тяжёлая конструкция — у гибридных. Minelab x-terra 705 весит 2 кг.

 

Нижняя штанга

Сборная или сплошная, телескопическая или составная. Вообще говоря, регулировка длины возможна только за счёт нижней штанги, поэтому на серийных моделях её и делают минимум двухсоставной.

При изготовлении под себя можно не делать никаких сопряжений — конструкция будет и легче и прочнее. Но нерегулируемая нижняя штанга тогда ограничит область поиска — в подвалах или на низких чердаках удобнее короткая штанга.

Наконечник для крепления катушки

У большинства серийных металлоискателей крепление катушки сделано в виде втулки, которая Т-образно крепится к нижней штанге. Ушки катушки охватывают торцы втулки, в отверстия продевается крепёжный болт.

Но не вся серийка именно такая. Тесла пошла другим путём, её катушка имеет одно ушко, а втулка на нижней штанге значительно уже.

При покупке металлоискателя посмотрите отзывы — например, многие копари отмечают, что катушки MD Mars не очень подходят к широким втулкам детекторов Nokta Makro. Что чревато физическим разрушением ушек катушки.

На что обратить внимание при выборе

Если копарь решил поменять сломанную штангу своего металлодетектора, ему стоит обратить внимание на оригинальные запчасти, новые или даже контрактные. Практически ко всей серийной продукции можно купить «родные» штанги.

Если же покупка или изготовление новой штанги — вопрос тюнинга, то идти стоит от задач: облегчить прибор, или расширить круг задач, или наоборот сузить его. Например, только под пляжный коп стоит взять углепластик — алюминий плохо себя чувствует в морской воде, корродирует.

Но главное в штанге — всё-таки не вес, а баланс. Если металлодетектор постоянно приходится «давить» от себя, если он хлопает по локтю — баланс в подлокотнике, и это плохо. Если наоборот кисть выворачивает вперёд и локоть толкает вверх — тоже ничего хорошего.

Баланс — штука индивидуальная и стоит подбирать штангу так, чтобы она соответствовала ощущениям пользователя.

Отзывы о моделях и производителях

Пользователи добрым словом поминают углепластиковые штанги Golden Mask — лёгкие и прочные. Они даже покупают эти штанги и ставят на них катушки и блоки управления от других металлоискателей.

Интересный шаг предприняла фирма XP, выпустив штанги для своего прибора Orx и продвигая их как достойную альтернативу замене катушек на одной штанге. Вес полностью пластиковой штанги — всего 300 граммов. Беспроводной блок управления очень просто и быстро перекидывается со штанги на штангу, экономя время на замену катушки или нижней штанги с катушкой.

Рекомендуем посмотреть видео о металлодетекторе Айс 250 (Garrett Ace) с универсальной штангой от Mars MD.

Универсальная штанга интереснее, чем штатная.

Ещё один пример замены штанги — видео от канала Ohio Metal Detecting о применении фиберглассовой штанги от Андерсон Детекторс (Anderson Detectors) для минелаб экскалибур.

Штанга металлоискателя своими руками — пошаговая инструкция

Интересное видео об изготовлении штанги для металлоискателя Пират опубликовал камрад victor partizan. Он даёт пошаговую инструкцию, следуя которой каждому под силу сделать новую штангу на замену вышедшей из строя, да хоть бы просто из интереса к творчеству.

Подобных видео опубликована масса.

Полезные советы по использованию

Несколько полезных советов можно найти в видео «Экскурсия с металлоискателем» от камрада Alex Кладоискатель.

Надеемся, что наша статья рассказала о всех важных аспектах выбора штанги для металлоискателя.

Удачи на копе, камрады!

↓↓↓ Обсуждайте данную статью в комментариях. Листайте вниз ↓↓↓

Сделайте телескоп

Если вы хотите лучше видеть птиц, верхушки деревьев или даже ночное небо, вы и ваша семья можете построить свой собственный простой телескоп. Используйте это самодельное устройство, чтобы исследовать мир, а затем ознакомьтесь с этими советами, чтобы следить за тем, что вы видите.

Пожалуйста, соблюдайте авторские права. Несанкционированное использование запрещено.

  • Две пустые трубки для бумажных полотенец
  • Ножницы
  • Малярная лента
  • Краска, маркеры или мелки для украшения телескопа
  • 2 выпуклые линзы.Если у ваших родителей есть старые очки для чтения, которые они не используют, попросите их помочь вам снять линзы с оправы. Убедитесь, что это очки для чтения, а не очки, которые помогают видеть объекты вдалеке. Если у вас нет старых очков для чтения, вы можете попросить родителей заказать выпуклые линзы в Интернете.

Step 1

Пожалуйста, соблюдайте авторские права. Несанкционированное использование запрещено.

Выберите одну из ваших трубок в качестве внутренней трубки. Обрежьте трубку вдоль (до упора).Слегка оберните один край отрезанной стороны над другим и удерживайте его одной рукой.

Шаг 2

Вставьте отрезанную трубку в другую трубку для бумажных полотенец. Отпустите внутреннюю трубку, чтобы она могла расшириться внутри внешней трубки. Если внутренняя трубка не скользит плавно, снимите ее и слегка заверните край. Затем снова вставьте внутреннюю трубку в другую трубку для бумажных полотенец, пока она не станет правильной.

Шаг 3

Используя малярную ленту, прикрепите одну из линз к внешнему краю внутренней трубки.Изгиб линзы должен быть обращен внутрь трубки.

Шаг 4

Затем прикрепите вторую линзу к внешнему краю второй трубки так, чтобы изгиб линзы был направлен за пределы трубки. Ничего страшного, если ваши линзы больше, чем тубус. Старайтесь обматывать только край линз, чтобы не закрывать слишком много.

Step 5

Пожалуйста, соблюдайте авторские права. Несанкционированное использование запрещено.

Прижмите глаз к линзе внутренней трубки.Направляйте телескоп на далеких животных или высокие верхушки деревьев (но никогда не используйте телескоп, чтобы смотреть на солнце). Сфокусируйтесь, сдвигая внутреннюю трубку внутрь и наружу, пока изображение не станет четким.

ЧТО ПРОИСХОДИТ?

Ваш телескоп является «преломляющим телескопом», потому что он использует линзы, которые помогают собирать больше света, чем ваш глаз мог бы сделать сам по себе. В прицеле используются две линзы для отражения света, благодаря чему объект кажется ближе, чем он есть на самом деле. Размер изображения, получаемого телескопом, зависит от кривизны линз. Линзы с разной кривизной изменят увеличение телескопа.

Телескопические творения | Деятельность | Разведчики

Занять позицию
  1. Каждый должен найти свое место. Лицо, ведущее мероприятие, должно напомнить всем, что сиденья (и груды оборудования) расставлены так, чтобы все были в безопасности.
  2. Человек, ведущий мероприятие, должен объяснить, что ночное небо полно разных вещей, от звезд и планет до спутников.Есть предел тому, что может видеть невооруженный глаз (и такие элементы, как огни города или города, также могут ограничивать то, что видит глаз). Люди используют телескопы, чтобы видеть больше.

Сделать телескоп

  1. Проведите две параллельные линии от верха одной из трубок к низу. Линии должны находиться на расстоянии одного сантиметра друг от друга.
  2. Ножницами разрежьте по линиям и удалите полоску трубки.
  3. Поместите трубку с отсутствующей полоской в ​​другую трубку.Слегка сожмите трубку с отсутствующей полоской, чтобы она подошла, затем убедитесь, что она движется вверх и вниз внутри трубки, не зацепившись за что-либо.

Если камера заедает и не скользит свободно, отрежьте от нее другую (тонкую) полоску и попробуйте еще раз. Следите за тем, чтобы внутренняя часть телескопа оставалась как можно более темной.

  1. Как только внутренняя труба будет идеально подогнана, скрепите ее черной лентой, затем снова попробуйте выполнить скольжение.

Постарайтесь равномерно наложить ленту на внутреннюю часть внутренней трубки, чтобы она сохраняла свою форму и не зацеплялась за внешнюю трубку.

  1. Поместите меньшую обмотанную лентой трубку на карточку и обведите конец ручкой или карандашом.
  2. С помощью линейки начертите крест в круге.
  3. Поместите вогнутую линзу в один сантиметр в центр круга и обведите его.
  4. Вырежьте большой круг, затем с помощью ножа аккуратно вырежьте меньший круг из центра.

При этом взрослый должен наблюдать за всеми с безопасного расстояния.

  1. Нанесите немного клея на края небольшого отверстия в круге.
  2. Найдите плоскую сторону вогнутой линзы на один сантиметр. Вставьте линзу в отверстие так, чтобы она встала там плоской стороной вверх. Сотрите излишки клея.
  3. Нанесите немного клея на края одного конца меньшей трубки с лентой.
  4. Вставьте кружок карты с вогнутой линзой в трубку так, чтобы он прилипал плоской стороной вверх.

Дайте ему высохнуть, повернув линзу вниз, чтобы линза не выпала и не сломалась.

  1. Когда клей высохнет, аккуратно заклейте все стыки черной лентой, чтобы не допустить попадания света.
  2. Нанесите немного клея на края одного конца другой трубки. Возьмите полуторадюймовую линзу и осторожно вставьте ее в трубку, чтобы она приклеилась. Сотрите излишки клея.

И снова дайте ему высохнуть, повернув линзу вниз, чтобы линза не выпала и не сломалась.

  1. Когда клей высохнет, украсьте телескоп. Вы можете использовать краску, ручки, наклейки или другие материалы для поделок.

Вам решать, что вы используете и к какому дизайну стремитесь.Вы можете сделать их похожими на настоящие телескопы со сложными циферблатами и панелями или придумать новый дизайн телескопа. Это может зависеть от того, сколько у вас времени.

Откройте для себя звезды

  1. Каждый должен вынести телескопы на улицу и найти место в двух метрах от всех остальных.
  2. Каждый должен посмотреть в свой телескоп и увидеть, какие звезды они могут найти.
  3. Человек, ведущий мероприятие, может предложить каждому найти определенные объекты, такие как созвездия, спутники или Полярная звезда.
Убедитесь, что вы видите все, что вам сложно найти.

Картонная трубка телескопа — идеи для поделок

Вы взглянете на мир по-другому, используя этот ручной телескоп из переработанных материалов в честь Дня Колумба!

Материалы

Инструкции

Шаг 1. Соберите расходные материалы.


Шаг 2.

Поместите картонную трубку на дно бумажного стаканчика и обведите трубку ручкой.


Шаг 3.

Снимите трубку. Нарисуйте линию, разделяющую круг пополам, нарисуйте еще одну линию, чтобы создать четверти и (2) дополнительные линии, чтобы разделить круг на (8) частей.


Шаг 4.

Попросите взрослого использовать нож для рукоделия, чтобы разрезать линии внутри круга, чтобы создать (8) лоскутов.


Шаг 5.

Вдавите заслонки внутрь. Убедитесь, что картонная трубка теперь входит в отверстие, созданное ножом. Трубка должна плотно прилегать, но при этом иметь возможность двигаться и поворачиваться. Снимите трубку и отложите на потом.


Шаг 6.

Теперь вы украсите линзу вашего телескопа.Обведите верхнюю часть чашки на кусочке ацетата. Ацетат — это прозрачный материал, который вы можете найти в разделе канцелярских принадлежностей или переработанный с лицевой стороны продуктов, например, упаковки игрушек.

Для вашего телескопа Вам нужно будет создать (2) окружности. Вырежьте кружочки и отложите.


Шаг 7.

Обведите карандашом верх чашки на оранжевом листе пенопласта. Переверните чашку и отцентрируйте чашку внутри круга, который вы только что нарисовали.Обведите дно чашки. Вырежьте большой внешний круг.


Шаг 8.

Вам нужно будет вырезать внутреннюю часть круга из пенопласта, не обрезая внешний край круга. Аккуратно сложите круг из пенопласта и ножницами вырежьте середину.


Шаг 9.

Нанесите клей для поделок вокруг одной стороны вашего круга из пенопласта и приклейте один лист ацетата к кругу из пенопласта.


Шаг 10.

Переверните круг из пенопласта и посыпьте его пайетками Patriotic Star Sequins в середину. Выровняйте внешний край клеем и приклейте сверху второй кружок из ацетата. Отложите этот кусок в сторону.


Шаг 11.

Покрасьте чашку акриловой краской и дайте ей высохнуть.


Шаг 12.

Оберните картонную трубку плотной бумагой и приклейте. Оставьте около 3 дюймов на конце трубки открытым, чтобы вы могли вставить чашку. Вы можете обернуть бумагу разных цветов друг на друга, чтобы создать рисунок, как показано.


Шаг 13.

Нанесите клей для поделок по верхнему краю чашки и приклейте круг из пенопласта к верхней части чашки.


Шаг 14.

Украсьте свою чашку. Нанесите клей на верхний край чашки и посыпьте Silver Glitter для акцента. Добавьте акриловые драгоценности вокруг чашки для дополнительного украшения. Вставьте картонную трубку в отверстие.

После высыхания вы будете готовы исследовать окрестности с помощью своего телескопа! Вращайте чашку, чтобы увидеть разные виды со звездными блестками внутри вашего объектива!


Стандартный диаметр флагштока

Стандартный диаметр флагштока

, так что размер шелка 36 ″ x54 ″ Для 10-футового полюса.5 (120) = 60 ″ и 1,5 (60) = 90 ″, поэтому размер шелка 60 ″ x 90 ″. Эта формула будет хорошо работать для шеста любого размера (кроме поворотных флажков, которые, как правило, нужно поднимать на весь шест, за исключением несколько дюймов для своих рук).


  • Используя нашу ПВХ-трубу Schedule 40 вместе с определенными сегментами тонкостенных ПВХ-труб, мы можем создавать телескопические сегменты труб от нашего размера 1/2 до 2 дюймов, заменяя 3/4 дюйма, 1 дюйм и 1-1 / 2 ”Sch. 40 труб из ПВХ с нашими тонкостенными трубами из ПВХ мебельного сорта.

  • стандарт пассивной безопасности BS EN 12767 на английской сети магистральных дорог. Кирстен Моррис, бакалавр, CEng, MICE, FIStructE — руководитель группы проектирования конструкций в Mott MacDonald в Саутгемптоне. Она управляет конструктивным проектированием опор для знаков и фундаментов для автомагистралей

  • Экономичный стандартный комплект столбов может быть соединен с шестью перьями разного размера от 4,1 фута до 17,1 фута (от XXS до XL) и нашими каплевидными флажками, которые Могу ли я найти диаметр перьевых размеров флагштока? Приведенная выше таблица включена на все страницы продуктов для столбов с перьями.

    Специально разработанные трубы CEME-TUBE диаметром 18, 24 и 30 дюймов произведут революцию в установке опор фонарных столбов. Изготовлены в цветах: желтый светоотражающий, архитектурная бронза и серый бетон. CEMETUBE легко устанавливается и устраняет: проблемы с влажностью, зачистка, снятие фасок, стирание и покраска.

    Мы предлагаем флаги США, государственные, иностранные и таможенные флаги. Также исторические, военные и военные флаги, религиозные и церковные флаги и наборы. Коммерческие и жилые флагштоки и компоненты, части флагштока и аксессуары.

    Поднимите свой флаг везде, где вы припаркуете свой фургон или автомобиль. Этот держатель флагштока устанавливается на стандартный 2-дюймовый приемник навески и вмещает флагшток диаметром до 2 дюймов. Винт с накатанной головкой затягивает штангу …… в диаметре Прочное черное порошковое покрытие 51611 Крепление для флагштока Camco Hitch Mounted для двухдюймовых приемников сцепного устройства

    • 20 марта 2016 г. · Размер опоры 4х4 дюйма довольно мал. Ваша стальная конструкция колонны хороша. Если столбцы c / c не больше 12 футов, вы можете без колебаний пойти на G + 3.

      Houses craigslist

      Типы флагштоков

    • Стандартный размер тройника на складе, размер 8 ″, возможно расширение до 10 ″. NO 8 «Sch 40 8» Sch 80 8⅝ «OD 10» Sch 40 10¾ «OD 10» Sch 80 10¾ «OD. None 15 футов 3»

      Freightliner m2 spn 84 fmi 19

      Он почти идентичен Royal Standard, за исключением того, что Royal Guidon имеет золотую бахрому. Он изготовлен из шелковой тафты. Размер гайдона составляет 80 см × 80 см (31 дюйм × 31 дюйм).Это личный командирский флаг или позиционный флаг монарха, который несут рядом с ним. 3. Энергосбережение: Оснащенный перезаряжаемой батареей 2200 мАч 18650, светильник экономит энергию и защищает окружающую среду, залит солнечным светом в солнечные дни. 4. Кемпинговый свет: Продукт не только для флагштока, но и для кемпинга с подвесным крючком. 5. Регулируемая яркость: с помощью двухуровневого переключателя вы можете регулировать яркость по своему усмотрению . ..

  • Флагшток 25 футов поставляется с 4_6 U.Южный флаг, 30-футовый флагшток идет с флагом США 5_8, а 35-футовый флагшток — с флагом США 6_10. Мемориальный коммерческий флагшток — это наша единственная линейка флагштоков, которая отправляется абсолютно бесплатно через UPS в любую точку страны.

    • Нет заземляющих проводов. Не беспокойтесь о молнии. Простая установка. Цвета — наш стандартный флагшток имеет блестящее белое покрытие из предварительно отлитого гелькоута со швом, благодаря чему полюс будет сохранять свой истинный цвет в течение многих лет по сравнению с флагштоками наших конкурентов, чьи полюса имеют окрашенную поверхность.Для флага размером 4 ‘x 6’

      Венера в 12-м доме красоты

    • 19 сентября 2020 г. · Символы ниже используются в архитектурных планах этажей. В каждом офисе есть свой стандарт, но большинство символов должны быть похожи на те, что показаны на этой странице.

      Mollie miles picture

    • Размер участка / площадь (более трех сторон) 2007-05-11: От Марты: Каков размер участка следующих размеров, эквивалентный акрам.141,85 x 52,55 x 217,63 x 38,89 x 68,08 Ответили Пенни Ном и Стивен Ла Рок. Нахождение площади правильного многоугольника: 2007-05-04: От Даны:

      Everstart maxx 24f amp часов

    • История выпусков Emacs под контролем версий — jwiegley / emacs-release

      Ваш компьютер умеет не соответствует минимальным рекомендованным спецификациям видеопамяти

    • История выпусков Emacs под контролем версий — jwiegley / emacs-release

      Стоимость акций Speer

    • флагштоков валы смонтированы таким образом, имеют более высокий индекс скорости ветра, чем те же валы базовой пластины, установленной. Технические характеристики: 2.3 ФУНДАМЕНТАЛЬНАЯ ТРУБКА: Изготовлена ​​из 16 ga. из оцинкованной стали, стали с опорной пластиной, квадрат измерения по меньшей мере, внутренний диаметр втулки плюс 4 «».

      Rhel 8 упаковочных групп

    • Все наши морские алюминиевые флагштоки СТАНДАРТНО имеют направленную шлифовку SATIN ALUMINUM. Мы предлагаем различные варианты ОТДЕЛКИ для всех наших морских алюминиевых флагштоков, включая флагштоки серий для коммерческих и жилых помещений.ЗВОНИТЕ НАМ БЕСПЛАТНО ДЛЯ ИНДИВИДУАЛЬНОЙ ЦЕНЫ! 1800-805-9728 Просто нажмите на флагшток любого размера ниже, чтобы увидеть фотографии

      Joco

    • , так что размер шелка 36 ″ x54 ″ Для шеста высотой 10 футов 0,5 (120) = 60 ″ и 1,5 ( 60) = 90 ″, так что шелк 60 ″ x 90 ″. Эта формула будет хорошо работать для шеста любого размера (кроме поворотных флажков, которые обычно нужно поднимать на весь шест, за исключением нескольких дюймов для рук).

      301 угловой перенаправления

    • Диаметр флагштока.Флагштоки FLAGOLDEN из пера, алюминиевые гигантские флагштоки. Поставщики на Alibaba.com выставляют на продажу изделия диаметром 363 флагштока, из которых пластиковые трубы составляют 1%, стальные трубы составляют 1%. Вам доступны самые разные диаметры флагштока …

      Прочтите информацию о передаче тепловой энергии ключ ответа

    • Флаг должен быть сплошного красного или оранжевого цвета, минимальный размер 6 x 12 дюймов и в пределах 10 дюймов от вершины кнута; знайте свои пределы.Несчастных случаев можно избежать, просто не торопясь, осознавая свое окружение и отдыхая безопасным и ответственным образом.

      Невозможно проверить идентичность сервера идентичность m.hotmail.com не может быть подтверждена ipad

    • Размеры опор и техническая информация Наши опоры изготовлены с учетом минимальной нагрузки на опору и эквивалентной моментной нагрузки деревянных опор под конструкцию NESC Grade B. Мы производим опоры классов 1–3, от 30 футов до 95 футов и опоры класса H с рейтингом прочности до класса h20 и высотой до 95 футов.

      Visual Studio code opencv c ++

    • hometeader Технические характеристики флагштока: высота флагштока: 10 футов 15 футов 25 дюймов модель: hs10: hs15: hs25: элемент # 320053: 320054: 320056: диаметр приклада: 2 «2» 2,5 дюйма верхний диаметр: 2 дюйма 2 дюйма 2,5 дюйма # секции: 2: 3: 6: толщина стенки. 049.049.070: максимальный ветер без флажка: 125: 82: 58: максимальный ветер с флажком: 80: 54: 45: цена: 140 долларов: 157 долларов: 347 долларов: флагшток: 20 ’20’ hd: 20 ‘конический: модель: hs20: hs20hd: th30: элемент # 320055: 460080: 320077: диаметр торца: 2 «2.Верхний диаметр 5 «3»: 2 «

      Машинное обучение прогнозирования задержки полета github

    • Высококачественная булавка для лацкана с американским флагом, полностью покрытая золотым металлическим лаком, и штифт сцепления. имеет более длинный столб и вид развевающегося флага

      Список тюрем округа Браун

    • Существует около 8 стандартных размеров общих флагов, которые можно использовать по разным причинам.Для …

      Дева завтра truestar

    • Настенный кронштейн для флагштока Высокое качество: кронштейн для флагштока подходит для большинства 1 вкл. Стандартное слово Mum’s Word Standard Chicky Babes Standard Flag. Флаги BreezeArt® Premium изготовлены из нашего эксклюзивного держателя флагштока SolarSilk® 600 денье, диаметр столба 1 дюйм — матовый хром. Телескопический алюминиевый флагшток для жилого дома.

      Калькулятор с вентилируемой коробкой

    • Стандартный размер размер государственного флага составляет около 3’X5 ‘.Однако флаги бывают разных размеров и не ограничиваются этими размерами.

      Kakegurui x reader Lemon

    • Размер нашего кармана по умолчанию — 3 дюйма. Он подходит для шеста диаметром 1,25 дюйма. Он подходит для опоры диаметром 1,25 дюйма. Если вам требуется специальный размер кармана для опоры, укажите желаемый размер кармана ИЛИ диаметр опоры, на которую он должен поместиться, в примечаниях к вашему заказу, и мы свяжемся с вами. рада удовлетворить ваш запрос.

      99 пригородная осечка

    • Вы обнаружите, что его пропорция сокращена до 1 X 1,66 или 1 X 1,5, и это НЕ официальное соотношение размеров 1 X 1,9, почти вдвое больше, чем оно выше . Почему частные компании вывешивают национальные флаги с военными украшениями на флагштоке?

      Ускорьте кукловод

    • Для флагштока, устанавливаемого на дом, мы рекомендуем флаг 2,5×4 ‘на 5-футовой опоре или флаг 3×5’ на 6-футовой опоре.Важнейшим фактором при установке этих флагов является то, что вы не хотите, чтобы флаг касался чего-либо (кусты, деревья, водостоки, сайдинг, дверные ручки и т. Д.) Во время полета. Все, что касается флага, сократит жизнь, вызывая преждевременный износ флага. Лодки

      Annapolis на продажу

    • Стандарт — это экономичный выбор, в то время как комплект флагштока премиум-класса — вариант для тяжелых условий эксплуатации. Стандартный комплект стоек изготовлен из алюминия и стекловолокна и может использоваться при слабом ветре.Мы рекомендуем скорость ветра до 30 миль в час для односторонних флагов и не более 17 миль в час для двусторонних флагов.

      Генератор хлорноватистой кислоты uk

    • Они варьируются от 5 до 10 дюймов и состоят из двух частей (5 дюймов идут как одна часть). Мы также предлагаем Садовый Флагшток из черной стали. В полностью выдвинутом состоянии он имеет размеры 56 дюймов x15,5 дюйма. Они будут отлично смотреться во дворе перед домом, в патио или в любом другом месте вашего жилого района.

      Отсасывание вопросов о nclex

    • Фотография выше не отражает огромных размеров этого флага.Его размеры 38 футов (11,58 метра) в поперечнике и 19 футов (5,79 метра) в глубину, и он может летать только в особых случаях. Конечно, день рождения королевы, ее настоящий день рождения, является одним из таких случаев, а другой — днем ​​службы подвязки в середине июня.

      Популярный журнал о хотродах

    • Standard Precision ABEC1-ABEC5. Серия 7000C. 7200 серии. 7300 серии. Сверхточность ABEC7. 7000CP4 серии. 7200CP4 серии. 7300CP4 серии…. Подшипники нестандартного размера …

      Калькулятор соленоидов

    • Последние новости Лондона, бизнес, спорт, знаменитости и развлечения от London Evening Standard

      Вентилятор с ГПУ вращается, но нет сигнала

    • 6 апреля 2020 г. · Длина самого флага зависит от длины флагштока. Правильное соотношение — минимум 1: 4 или четверть. Это означает, что длина флага должна составлять не менее четверти высоты шеста.Например, на 20-футовом шесте будет не менее 5-футового флага.

      Диаграмма клеток кожи человека, обозначенная

    • Флагштоки стандартной высоты Trident Support — прочные и прочные флагштоки стандартной высоты. Размер: 6-30 метров. Trident Support использует свой опыт в качестве производителя и установщика многих самых высоких флагштоков в мире для создания повседневных продуктов для рынка архитектурных флагштоков.

      2000 corolla 2zz swap

    • 2 июня 2014 г. · (1) Рассчитайте расстояние между каждым полюсом уличного фонаря: Пример: Рассчитайте расстояние между каждым полюсом уличного фонаря, имея следующую информацию, Детали дороги: Ширина дороги (w ) равно 11.5 футов. Pole Det…

      Gangster girl Обои

    • При проектировании флагштоков для столба и фундамента необходимо учитывать силы ветра на полюсе, а также силы ветра на флаге. Промышленным стандартом является руководство Национальной ассоциации производителей архитектурного металла «Технические требования к руководству по проектированию металлических флагштоков».

      Yardistry gazebo 12×14 costco

    • Высококачественный значок на лацкан с американским флагом, полностью покрытый золотым металлическим лаком, и фиксатор сцепления.Этот дизайн отличается более длинным шестом и изображением развевающегося флага.

      Водопад забит кран

    • Многие люди называют его «Старая слава» или «Звезды и полосы», но, независимо от прозвищ, американский флаг выступает как символ свободы и свобод, осуществляемых граждане США. Федеральный закон определяет, как должен отображаться флаг, особенно если он установлен без флагштока.

      Инструмент для сброса аккумулятора Bmw

    • Примечание. Типичный флаг дома размером примерно 28 дюймов в ширину и 44 дюйма в высоту и подходит для любого стандартного 5-футового флагштока.Очистка Флаги закрытия

      Скачать текстуру надкрылий

    • 4 июля 2020 г. · Размеры флага. Это лист «Сравнительные размеры флагов», который я создал, чтобы я мог разослать его людям, которые пишут с вопросами по этой теме; У меня было несколько сообщений об этом.

      Badass anime swords

    • Найдите в QNR веревку из полиэстера для своего флагштока в различных размерах и цветах. 2. Нейлон. Как и полиэфирная веревка, нейлоновая веревка также является популярным выбором для фалов для флагштоков.Благодаря превосходной стойкости к ультрафиолету и истиранию, это более прочная веревка, чем другие гибриды полипропилена. Однако, в отличие от полиэстера, нейлоновая веревка имеет большую растяжимость.

      Rove cookies reddit

    • Калькуляторы отклонения луча от ENGINEERING.com. Калькуляторы отклонения балки — сплошные прямоугольные балки, полые прямоугольные балки, сплошные круглые балки

      Пример Tcsetattr

    • Церемониальный флагшток. Наш высококачественный церемониальный флагшток из твердой древесины с латунными деталями имеет красивую темно-коричневую отделку. Высота столба 8 футов и идея для …

      Clarke creek солнечная ферма

    • Flag Center — это ваш комплексный поставщик услуг для флагштока.Мы обслуживаем и обслуживаем каждый флагшток, который мы продаем, и даже тот, который у нас нет. Благодаря нашему огромному запасу запчастей для флагштоков и обученным специалистам по обслуживанию мы всегда готовы держать ваши флаги в воздухе. Звоните 414-778-1776 по всем вопросам обслуживания.

      Как сохраняются ларабары

    • Верхняя башня восьмиугольная, высотой 3,3 м, с окнами с каждой стороны. На вершине башни посередине установлена ​​цилиндрическая колонна диаметром 0,4 м, на которую крепится флаг, высота шеста которого составляет 8 м.Таким образом, высота башни составляет 33,4 м, а с учетом флагштока — более 41 м.

      Cin gindi WhatsApp group link

    • Флагштоки и флаги — Руководство по размеру. В следующей таблице размеров флагштоков и флагов представлены основные данные для нашего ассортимента стандартных флагштоков из стекловолокна вместе с руководством по правильному размеру флага.

      Отслеживание местоположения контейнеров властями порта Читтагонг

    • КРАСИВЫЙ ОРИГИНАЛ 28 x 17-1 / 2 ДЮЙМОВ НА ПОЛЮСЕ Очень красивый двусторонний флаг, подлинность которого гарантируется с полной гарантией возврата денег.

      Cisco nexus 9000 lacp приостановлено

    • Статус отношения Baisa на английском языке

    • Off-grid, штат Миссури, финансы собственника

    • Клавиатура не работает во время звонка iphone

    • Используемый tt15 mini

    • Realtek rtl8814au

    • Windows

      Как пропустить дымоход 22 907 ограничения на установку

    • Asnotracking

    • Kelsey hayes 12765501

    • Google fi недостающие тексты

    • Live music straps quinte

    • Droid vpn netone settings июнь 2020

    • Защитные шторки

    • Полиция Техаса.сканер

    • Сценарии школьного консультанта и ответы

    • Ge универсальные удаленные коды cl4 для телевизора vizio

    • ЦП

    • Обозначенная структура клеточной мембраны

    • Daly lifepo4 bms

    • Q firearms kevin

    • Режим загрузки Lml212vl

    • Как использовать rest api в delphi

    • Математика 105 беркли reddit
    • Блок геометрии K12 1 ответы на тест

    • Процентные ставки по личному кредиту Arvest

    • Обычный баланс счета, возвращенный по покупкам, и надбавки — дебетовый

    • Внешние части тела буйвола

    • Redmi 7 touch ic

    • Английский IPTV Бесплатная пробная версия

    • Деревянная тележка на колесиках

    • Передача файлов Vnc mac

    • Aep gavin publiclands

      Лучший vr f or iracing
    • Намеки в Декларации независимости

    • Cva accura v2 blackhorn 209 загрузок

    • Кнопка разморозки BMW x3

      3
    • Какой угол света нагревает древесину больше всего_

    • Рабочий лист упрощения мнимых чисел

    • Sa612 контуры смесителя

    • Tzumi Alpha Gaming

    • Программа просмотра файлов S1p

    • Тест на разрешение Mva

    • Перегорел предохранитель генератора, автомобиль не заводится

    • Vizio 55-дюймовый телевизор _ target

    • Emt классы в Waterbury ct

      21
    • Wal qunnamtii saalaa video
    • Tesla Model 3 brochure pdf

    • Toshiba ph4100u 1exb gen 2

    • 21
    • Музыкальная реклама Kalandanya скачать mp3

    • The Crucible Guiding questions act 2

    • Best madden 20 playbook для трудных концов

    • Тонкий k назад к обсуждению решения проблемы fnet

    • Spotface symbol

    • 2006 chevy malibu electric power замена рулевого управления

    • Scp map minecraft pe

    • Обновление шифра Pycryptodome

    • C5 corvette capl hood

    • Amoco oil msds sheet

    • Bloxburg Cashier script

    • Madcatz te2 plus

    • Iphone 8 для продажи разблокирован

    • Веб-бот Python

  • Ведро с боеприпасами 9 мм

    • Надувные навесы

      3 Музыкальный фестиваль
    • Отчет лаборатории скорости реакции ответы

    • Candy roblox id

    • Securezip mac

    • Проблемы с приводом клапана Dd15 egr

    • Хэллоуин 2020 полнолуние мем

    • Типы гуппи

    • Huntington news

    • 3116 двигатель катушки

    • Cr10s z sync

  • Django paypal

    • Файл импорта Python Blender

    • Логотип команды Nfl

    • Рабочий лист графиков квадратичных функций отвечает на алгебру 2

    • Fx3 fx4 semi 7 + 1 mag extension

    • Пожарные звонки округа Онондага

    • Chp pack fivem

    • Языческие фестивали Индиана

    • Prediksi angka bocoran singapura hari ini

    • Google home включает Wi-Fi, застрял

    • номер

      Топливный насос Taiyogiken

    • Продвинутая техника крепления деревьев

    • Пистолет Jukar 45 Cal с кремневым замком

      21
    • Кроссворд-подсказка из 4 букв
    • Alexa дается в стопках коробок одинаковой или разной высоты

    • Leupold vx Freedom Review

    • Галлон на литр

    • Western плуг поднимается медленно

    • Dax вычитание даты

    • Создайте свое собственное научное имя

  • Количественное исследование и качественное исследование Диаграмма Венна

    • 2009 Yamaha R6 Общие проблемы

    • 1977 dodge aspen body parts

    • Zenkit export таблица

    • Безработица Огайо Пуа

    • Понтонные лодки и молния

    • Swift manual mt103

    • 9000sp9

      Metro sale craigslist

    • A505f cf auto root

    • Идентификация артиллерийских боеприпасов

    • Shiny tracker sword and shield

    • Грабли Eagle claw clam с корзиной 10 дюймов

      • Удаленная отладка Vscode golang

      • Питон искажения ствола

      • Инструмент для подписи Ipsw

      • Pekora bgm source

      • Soccer 4 предсказания

      • Ighack последователи pw

      • Lewis Katz 913 Школа медицины 913 ежедневные архивы новостей

      • Постоянная загрузка ПК

      • Hornady 110 zmax

      • Ap world history chapter 19 read guide answers

    • На диаграмме слева представлена ​​подробная информация о Европе в 1930-е годы

      • Формат сообщения в блоге Avada

      • Samsung tab a 10.1 2019 сброс завода

      • Ninirim пиратских

      • Smotret пленчатые онлаин ретро порно мама м

      • Основываясь на реальную истории кино 2019

      • Обзор курса Ecom elites reddit

      • Pes 2020 сохранить данные скачать
      • Как включить поворот мыши wow

      • 000
      • Модифицированное средство поиска серверов minecraft

      • Класс 10 по математике, глава 11, упражнение 11.2 вопрос 4

    • этого стандарта в 1983 году были разработаны НААММ в результате программы лабораторных испытаний, проведенной осенью 1979 года, когда флаги, прикрепленные к флагштоку, подвергались ветру, создаваемому авиационный двигатель и пропеллер. В этой программе были ограничения по размеру флага и скорости ветра. Признание ограничений, предусмотренных 1 января 2013 г. Раздел 15 «Торговля и внешняя торговля Часть 800 до конца» Пересмотрено с 1 января 2013 г. Содержит кодификацию документов общего применения и будущего эффекта По состоянию на 1 января 2013 г. Storm ‘Телескопическая паяльная трубка и чехол Scandi Neck

      Интернет-магазин> САЙТ — ВСЕ ТОВАРЫ

      • Телескопическая паяльная трубка Fire Storm и футляр для шеи Scandi — ручная шнуровка и рука D
      • Телескопическая паяльная трубка Fire Storm и футляр для шеи Scandi — ручная шнуровка и рука D
      • Телескопическая паяльная трубка Fire Storm и футляр для шеи Scandi — ручная шнуровка и рука D
      • Телескопическая паяльная трубка Fire Storm и футляр для шеи Scandi — ручная шнуровка и рука D
      • Fire Storm Telescopic Blowpipe & Scandi Neck Sheath — РУЧНАЯ СТРОЧКА — Folk St
      • Fire Storm Telescopic Blowpipe & Scandi Neck Sheath — РУЧНАЯ СТРОЧКА — Folk St
      • ‘Fire Storm’ Телескопическая паяльная трубка и футляр для шеи Scandi — ручная шнуровка и ручная окраска патина

      • Готовый
      • 24 фунта стерлингов.00


      Системы, прошедшие полевые испытания

      Наконец, есть более простой и эффективный способ обучать студентов физике, химии и астрономии спектрам видимого света — всего за всего 395 долларов.

      • Это классный спектрометр только , который отображает видео в реальном времени , что делает RSpec Explorer лучшим обучающим инструментом для удаленного обучения, или в вашем классе и студенческих лабораториях.
      • С легкостью демонстрируйте спектры газовой трубки на диапроекторе, чтобы все могли видеть одно и то же в одно и то же время.
      • Предложите учащимся выполнить увлекательные и увлекательные практические занятия. Благодаря отображению видео в реальном времени ваши ученики могут внести изменения, и сразу увидят результаты .
      • Определите содержимое трубки с загадочным газом.
      • Мера выделение пламени строк хлорида натрия и других материалов.В нашем видео на YouTube показаны спектры пламени и спектры экранов сотовых телефонов.
      • Определите температуру звезд по их спектру (используя программное обеспечение RSpec и нашу решетку Star Analyzer с помощью цифровой зеркальной фотокамеры или небольшого телескопа).

      Дополнительные возможности: снимайте спектры звезд с помощью цифровой зеркальной камеры или небольшого телескопа! Нажмите здесь:

      Пример использования RSpec Explorer: демонстрации в классе и студенческие лабораторные работы

      Рон Диюлио из Университета Северного Техаса использует RSpec Explorer, чтобы познакомить студентов, изучающих гуманитарные науки, со светом и цветом.

      «Наша лаборатория с RSpec Explorer — самая популярная лаборатория, которую мы создали за 15 лет! Мы думаем, что это из-за того, что мы называем «эффектом CSI». Десять лет назад высокие технологии были предназначены только для ботаников. Но благодаря телевизионным программам, таким как CSI, в наши дни большинство студентов любят высокие технологии. И RSpec Explorer идеально подходит.

      «За эти годы мы перепробовали все: портативные пластиковые спектрометры, радужные очки и все остальное, что вы можете себе представить. «Ничего по-настоящему не работало. «Мы зря потратили много времени в классе, поскольку студенты изо всех сил пытались найти спектр.Они не понимали, что видят. Они не могли работать в командах, потому что у каждого было свое личное представление о данных. И у них не было возможности собирать и записывать свои данные. Лаборатории просто не стоили разочарований и хлопот, потому что дети не учились. «RSpec Explorer все изменил. За последние несколько лет более 6000 специалистов в области гуманитарных наук успешно завершили нашу лабораторию RSpec Explorer. Это любимая лаборатория наших студентов, преподавателей и преподавателей. Я думаю, что эта лаборатория так популярна, потому что она удобна и проста для понимания.Спектры видео в реальном времени, создаваемые RSpec Explorer, привлекают студентов таким образом, которого мы никогда раньше не видели.

      «Мы знакомим наших студентов с лабораторией, используя спектры газовой трубки в реальном времени, проецируя изображение RSpec Explorer на верхний экран. Знакомя студентов со спектрами и наукой, которую они видят, мы подготавливаем их к тому, чтобы делать это сами. (Периодическая таблица спектров здесь действительно может помочь: ссылка.) «Затем ученики разбиваются на группы [как показано на фото выше] и снимают спектры нескольких газовых трубок.Эти группы наблюдают за линиями излучения различных элементов и идентифицируют их с помощью справочной библиотеки RSpec Explorer. На данный момент это полная лаборатория. Студенты приходят с гораздо лучшим пониманием, чем они имели в прошлом, используя другие инструменты. «Но, поскольку у нас есть небольшие телескопы, мы делаем шаг вперед. Снаружи студенты снимают спектры нескольких ярких звезд с помощью решетки Star Analyzer, флешки и видеокамеры. Затем, вернувшись в класс, они сравнивают спектры звезд со спектрами газовой трубки, которые они сняли ранее.На этом этапе учащиеся «обнаруживают» водород на звезде , отмечая соответствие между спектрами газовой трубки водорода и спектрами звезды. Ух ты! «Это настоящая лаборатория-блокбастер! Ваши ученики могут быть астрофизиками в течение дня ».


      С чего начать

      Вы можете приобрести систему RSpec Explorer всего за 395 долларов в нашем онлайн-магазине: ссылку или отправьте нам заказ на покупку. Закажите сегодня, и через три дня у вас будет система.Используйте его в классе на следующей неделе!

      За дополнительные 79 долларов вы можете добавить красочную светодиодную башню, показанную в нашем видео на YouTube. Башня — идеальный компаньон для RSpec Explorer. Используйте их вместе, чтобы привлечь внимание учеников. Попросите их объяснить, что они видят, а затем измерить это.

      У вас есть зеркалка и штатив? Снимок спектров звезд .Это на удивление легко. Вы можете использовать программное обеспечение RSpec, которое поставляется со спектрометром RSpec Explorer. Просто добавьте решетку Star Analyzer (199 долларов) и резьбовой переходник (38 долларов) к зеркальной фотокамере или небольшому телескопу / ПЗС-матрице. Для получения дополнительной информации см. Нашу страницу о спектрах звезд: ссылка. Вопросов? Мы здесь, чтобы помочь. Используйте нашу контактную форму (ссылку) или позвоните на нашу горячую линию помощи по телефону 206.453.4851, чтобы получить ответы на свои вопросы от эксперта в данной области.

      Stellafane ATM Главная страница


      Russell Porter
      Шлифовка зеркала

      «Ибо верно, что астрономия, с популярной точки зрения, затруднена неспособностью среднего рабочего иметь дорогой астрономический телескоп.Верно также и то, что если любитель начинает строить телескоп только для еще до того, как его труды закончились, он обнаружит, что серьезно заинтересовался чудесным механизмом наша вселенная. И, наконец, по понятным причинам есть стимул к раскрытию тайн мира. небеса орудием, созданным собственноручно «.

      Рассел В. Портер
      Основатель Stellafane, март 1923 г.

      Введение

      Многое изменилось с тех пор, как Рассел Портер написал эти словами — сегодня «средний рабочий» может позволить себе купить уже Большой популярностью пользуются сделанные телескопы и крепления Добсона.Много тоже без изменений — техника зеркального шлифования очень похожа на написанные Портером и Ингаллсом в 20-30-х годах. Многие астрономы-любители по-прежнему предпочитают изготавливать собственные инструменты, для гордости достижением, обретения знаний и страхование качества. Создание телескопов лежит в основе Спрингфилдские производители телескопов — ведь это две трети нашего название клуба — и на этих страницах мы надеемся показать вам, что вы тоже можете сделать свой собственный телескоп — и он может быть отличным исполнителем!

      Примечание о методах использования банкоматов: Существует почти столько же способов делать зеркала и телескопы, как есть производители телескопов.На этих страниц мы представляем один или несколько способов, которые сработали для нас, но которые не означает, что других подходящих подходов не так много. На самом деле многие из нас любят банкоматы, потому что мы можем экспериментировать с разными методы и иногда находят более эффективные способы создания или построения телескоп. И даже если наша новая техника не лучше, мы обычно узнайте что-то ценное в процессе. Однако на этих страницах мы пытались придерживаться простых и проверенных методов, которые подходит для начинающих производителей зеркал и телескопов, и в основном то, чему мы учим новичков в Класс Stellafane Mirror.


      Любительский телескоп Изготовление оглавления

      Общая информация

      • Выбор Телескоп

        Содержит основную информацию о телескопе для начинающих и кратко обсуждаются важные факторы, которые следует учитывать при Выбор первого телескопа.
  • alexxlab

    Добавить комментарий

    Ваш адрес email не будет опубликован. Обязательные поля помечены *