Π€Π°Π·ΠΎΠ²ΡΠΉ Π°Π²ΡΠΎΡΠΎΠΊΡΡ: Π’ΠΈΠΏΡ Π°Π²ΡΠΎΡΠΎΠΊΡΡΠ°: ΡΠ°Π·ΠΎΠ²ΡΠΉ, ΠΊΠΎΠ½ΡΡΠ°ΡΡΠ½ΡΠΉ ΠΈ Π³ΠΈΠ±ΡΠΈΠ΄Π½ΡΠΉ
ΠΠ²ΡΠΎΡΠΎΠΊΡΡ ΡΠΎΡΠΎΠΊΠ°ΠΌΠ΅Ρ
ΠΠ²ΡΠΎΡΠΎΠΊΡΡ β ΡΠΈΡΡΠ΅ΠΌΠ°, ΠΎΠ±Π΅ΡΠΏΠ΅ΡΠΈΠ²Π°ΡΡΠ°Ρ Π°Π²ΡΠΎΠΌΠ°ΡΠΈΡΠ΅ΡΠΊΡΡ ΡΠΎΠΊΡΡΠΈΡΠΎΠ²ΠΊΡ ΠΎΠ±ΡΠ΅ΠΊΡΠΈΠ²Π° ΡΠΎΡΠΎΠ°ΠΏΠΏΠ°ΡΠ°ΡΠ° Π½Π° ΠΎΠ΄ΠΈΠ½ ΠΈΠ»ΠΈ Π½Π΅ΡΠΊΠΎΠ»ΡΠΊΠΎ ΠΎΠ±ΡΠ΅ΠΊΡΠΎΠ² ΡΡΡΠΌΠΊΠΈ. ΠΠ²ΡΠΎΡΠΎΠΊΡΡ ΡΠΎΡΡΠΎΠΈΡ ΠΈΠ· Π΄Π°ΡΡΠΈΠΊΠ°, ΡΠΏΡΠ°Π²Π»ΡΡΡΠ΅ΠΉ ΡΠΈΡΡΠ΅ΠΌΡ ΠΈ ΠΏΡΠΈΠ²ΠΎΠ΄Π°, ΠΏΠ΅ΡΠ΅ΠΌΠ΅ΡΠ°ΡΡΠ΅Π³ΠΎ ΠΎΠΏΡΠ°Π²Ρ ΠΎΠ±ΡΠ΅ΠΊΡΠΈΠ²Π° ΠΈΠ»ΠΈ Π΅Π³ΠΎ ΠΎΡΠ΄Π΅Π»ΡΠ½ΡΠ΅ Π»ΠΈΠ½Π·Ρ.
ΠΠ²ΡΠΎΡΠΎΠΊΡΡ (AF) ΡΠ°Π±ΠΎΡΠ°Π΅Ρ Π»ΠΈΠ±ΠΎ Ρ ΠΈΡΠΏΠΎΠ»ΡΠ·ΠΎΠ²Π°Π½ΠΈΠ΅ΠΌ ΡΠ΅Π½ΡΠΎΡΠΎΠ² ΠΊΠΎΠ½ΡΡΠ°ΡΡΠ° Π² ΠΊΠ°ΠΌΠ΅ΡΠ΅ (ΠΏΠ°ΡΡΠΈΠ²Π½ΡΠΉ AF), Π»ΠΈΠ±ΠΎ Ρ ΠΏΡΠΈΠΌΠ΅Π½Π΅Π½ΠΈΠ΅ΠΌΒ ΡΠΈΠ³Π½Π°Π»Π° Π΄Π»Ρ ΠΏΠΎΠ΄ΡΠ²Π΅ΡΠΊΠΈ ΠΈΠ»ΠΈ ΠΎΡΠ΅Π½ΠΊΠΈ ΡΠ°ΡΡΡΠΎΡΠ½ΠΈΡ Π΄ΠΎ ΠΎΠ±ΡΠ΅ΠΊΡΠ° (Π°ΠΊΡΠΈΠ²Π½ΡΠΉ AF). ΠΠ°ΡΡΠΈΠ²Π½ΡΠΉ AF ΠΌΠΎΠΆΠ΅Ρ ΠΎΡΡΡΠ΅ΡΡΠ²Π»ΡΡΡΡΡ ΠΌΠ΅ΡΠΎΠ΄Π°ΠΌΠΈ ΠΊΠΎΠ½ΡΡΠ°ΡΡΠ½ΠΎΠ³ΠΎ ΠΈΠ»ΠΈ ΡΠ°Π·ΠΎΠ²ΠΎΠ³ΠΎ Π΄Π΅ΡΠ΅ΠΊΡΠΎΡΠ°.
ΠΠΊΡΠΈΠ²Π½ΡΠ΅ ΡΠΈΡΡΠ΅ΠΌΡ Π½Π΅ Π·Π°Π²ΠΈΡΡΡ ΠΎΡ ΡΡΠ»ΠΎΠ²ΠΈΠΉ ΠΎΡΠ²Π΅ΡΠ΅Π½ΠΈΡ ΠΈ ΠΌΠΎΠ³ΡΡ Π½Π°Π²ΠΎΠ΄ΠΈΡΡΡΡ Π² ΠΏΠΎΠ»Π½ΠΎΠΉ ΡΠ΅ΠΌΠ½ΠΎΡΠ΅ Π½Π° ΠΎΠ±ΡΠ΅ΠΊΡΡ Π±Π΅Π· ΠΊΠΎΠ½ΡΡΠ°ΡΡΠ½ΡΡ Π΄Π΅ΡΠ°Π»Π΅ΠΉ. ΠΠΌΠ΅ΡΡΠ΅ Ρ ΡΠ΅ΠΌ, ΠΎΠ½ΠΈ ΠΎΠ±Π»Π°Π΄Π°ΡΡ ΡΡΠ΄ΠΎΠΌ Π½Π΅Π΄ΠΎΡΡΠ°ΡΠΊΠΎΠ², ΠΎΠ΄Π½ΠΈΠΌ ΠΈΠ· ΠΊΠΎΡΠΎΡΡΡ ΡΡΠΈΡΠ°Π΅ΡΡΡ Π½Π΅Π²ΠΎΠ·ΠΌΠΎΠΆΠ½ΠΎΡΡΡ ΡΠΎΡΠ½ΠΎΠΉ ΡΠΎΠΊΡΡΠΈΡΠΎΠ²ΠΊΠΈ, Π΅ΡΠ»ΠΈ ΠΌΠ΅ΠΆΠ΄Ρ ΠΎΠ±ΡΠ΅ΠΊΡΠΎΠΌ ΠΈ ΠΊΠ°ΠΌΠ΅ΡΠΎΠΉ Π΅ΡΡΡ ΠΏΡΠΎΠ·ΡΠ°ΡΠ½ΠΎΠ΅ ΠΏΡΠ΅ΠΏΡΡΡΡΠ²ΠΈΠ΅, Π½Π°ΠΏΡΠΈΠΌΠ΅Ρ ΡΡΠ΅ΠΊΠ»ΠΎ. ΠΠ°ΡΡΠΈΠ²Π½ΡΠΉ Π°Π²ΡΠΎΡΠΎΠΊΡΡ ΠΎΡΠ½ΠΎΠ²Π°Π½ Π½Π° Π°Π½Π°Π»ΠΈΠ·Π΅ ΡΠ²Π΅ΡΠΎΠ²ΡΡ ΠΏΡΡΠΊΠΎΠ², ΠΏΠΎΠΏΠ°Π΄Π°ΡΡΠΈΡ Π²Π½ΡΡΡΡ ΠΊΠ°ΠΌΠ΅ΡΡ, ΠΈ Π½ΠΈΡΠ΅Π³ΠΎ Π½Π΅ ΠΈΠ·Π»ΡΡΠ°Π΅Ρ Π² ΠΎΠΊΡΡΠΆΠ°ΡΡΠ΅Π΅ ΠΏΡΠΎΡΡΡΠ°Π½ΡΡΠ²ΠΎ.
ΠΡΠΈΠ½ΡΠΈΠΏ Π΄Π΅ΠΉΡΡΠ²ΠΈΡ ΠΊΠΎΠ½ΡΡΠ°ΡΡΠ½ΠΎΠ³ΠΎ Π°Π²ΡΠΎΡΠΎΠΊΡΡΠ° ΠΎΡΠ½ΠΎΠ²Π°Π½ Π½Π° ΡΠΎΠΌ, ΡΡΠΎ ΠΌΠΈΠΊΡΠΎΠΏΡΠΎΡΠ΅ΡΡΠΎΡ ΠΊΠ°ΠΌΠ΅ΡΡ ΡΡΠ°Π²Π½ΠΈΠ²Π°Π΅Ρ ΠΊΠΎΠ½ΡΡΠ°ΡΡ ΠΌΠ΅Π»ΠΊΠΈΡ
Π΄Π΅ΡΠ°Π»Π΅ΠΉ ΠΈΠ·ΠΎΠ±ΡΠ°ΠΆΠ΅Π½ΠΈΡ, ΠΏΠΎΠ»ΡΡΠ°Π΅ΠΌΠΎΠ³ΠΎ Π½Π° ΠΌΠ°ΡΡΠΈΡΠ΅ ΠΏΡΠΈ ΡΠ°Π·Π½ΡΡ
ΠΏΠΎΠ»ΠΎΠΆΠ΅Π½ΠΈΡΡ
ΠΎΠ±ΡΠ΅ΠΊΡΠΈΠ²Π°.
ΠΡΠΈ ΠΊΠΎΠ½ΡΡΠ°ΡΡΠ½ΠΎΠΌ Π°Π²ΡΠΎΡΠΎΠΊΡΡΠ΅ ΠΎΡΠ΅Π½ΠΈΠ²Π°Π΅ΡΡΡ ΠΈΠ·ΠΎΠ±ΡΠ°ΠΆΠ΅Π½ΠΈΠ΅ Ρ Π½Π΅Π±ΠΎΠ»ΡΡΠΎΠ³ΠΎ ΡΡΠ°ΡΡΠΊΠ° ΠΌΠ°ΡΡΠΈΡΡ β ΠΈΡΠΏΠΎΠ»ΡΠ·ΡΠ΅ΠΌΠΎΠ³ΠΎ Π² ΠΊΠ°ΡΠ΅ΡΡΠ²Π΅ Π΄Π°ΡΡΠΈΠΊΠ° ΠΈ ΡΠΎΠ²ΠΏΠ°Π΄Π°ΡΡΠ΅Π³ΠΎ Ρ ΡΠΎΡΠΊΠΎΠΉ ΡΠΎΠΊΡΡΠΈΡΠΎΠ²ΠΊΠΈ, Π²ΡΠ±ΡΠ°Π½Π½ΠΎΠΉ ΡΠΎΡΠΎΠ³ΡΠ°ΡΠΎΠΌ. ΠΡΠΎ ΠΏΠΎΠ·Π²ΠΎΠ»ΡΠ΅Ρ Π²ΡΠ±ΡΠ°ΡΡ ΠΎΠ±ΡΠ΅ΠΊΡ, Π½Π° ΠΊΠΎΡΠΎΡΠΎΠΌ Π½ΡΠΆΠ½ΠΎ ΡΡΠΎΠΊΡΡΠΈΡΠΎΠ²Π°ΡΡΡΡ, ΠΈ ΠΈΠ·Π±Π°Π²Π»ΡΠ΅Ρ ΠΏΡΠΎΡΠ΅ΡΡΠΎΡ ΡΠΎΡΠΎΠ°ΠΏΠΏΠ°ΡΠ°ΡΠ° ΠΎΡ Π½Π΅ΠΎΠ±Ρ ΠΎΠ΄ΠΈΠΌΠΎΡΡΠΈ ΠΎΡΠ΅Π½ΠΈΠ²Π°ΡΡ ΠΊΠΎΠ½ΡΡΠ°ΡΡ Π²ΡΠ΅Π³ΠΎ ΠΈΠ·ΠΎΠ±ΡΠ°ΠΆΠ΅Π½ΠΈΡ.
Π€Π°Π·ΠΎΠ²ΡΠΉ Π°Π²ΡΠΎΡΠΎΠΊΡΡ ΠΎΡΠ½ΠΎΠ²Π°Π½ Π½Π° ΠΏΡΠΈΠ½ΡΠΈΠΏΠ΅, ΡΠΎΠ³Π»Π°ΡΠ½ΠΎ ΠΊΠΎΡΠΎΡΠΎΠΌΡ, ΠΈΡΡ
ΠΎΠ΄ΡΡΠΈΠ΅/ΠΎΡΡΠ°ΠΆΠ΅Π½Π½ΡΠ΅ ΠΎΡ ΡΠΎΡΠΊΠΈ, Π½Π°Ρ
ΠΎΠ΄ΡΡΠ΅ΠΉΡΡ Π² ΡΠΎΠΊΡΡΠ΅, Π»ΡΡΠΈ Π±ΡΠ΄ΡΡ Π² ΡΠ°Π²Π½ΠΎΠΉ ΡΡΠ΅ΠΏΠ΅Π½ΠΈ ΠΎΡΠ²Π΅ΡΠ°ΡΡ ΠΏΡΠΎΡΠΈΠ²ΠΎΠΏΠΎΠ»ΠΎΠΆΠ½ΡΠ΅ ΡΡΠΎΡΠΎΠ½Ρ ΠΎΠ±ΡΠ΅ΠΊΡΠΈΠ²Π° (Β«Π±ΡΠ΄ΡΡ Π½Π°Ρ
ΠΎΠ΄ΠΈΡΡΡΡ Π² ΡΠ°Π·Π΅Β»). ΠΡΠ»ΠΈ ΠΎΠ±ΡΠ΅ΠΊΡΠΈΠ² ΡΡΠΎΠΊΡΡΠΈΡΠΎΠ²Π°Π½ ΠΏΠ΅ΡΠ΅Π΄ ΠΈΠ»ΠΈ ΠΏΠΎΠ·Π°Π΄ΠΈ ΡΡΠΎΠΉ ΡΠΎΡΠΊΠΈ, ΡΡΠΈ Π»ΡΡΠΈ ΡΠ²Π΅ΡΠ° ΠΏΠΎ-ΡΠ°Π·Π½ΠΎΠΌΡ ΠΏΡΠΎΡ
ΠΎΠ΄ΡΡ ΡΠ΅ΡΠ΅Π· ΠΊΡΠ°Ρ ΠΎΠ±ΡΠ΅ΠΊΡΠΈΠ²Π° (Β«Π½Π°Ρ
ΠΎΠ΄ΡΡΡΡ Π½Π΅ Π² ΡΠ°Π·Π΅Β»).
Π€Π°Π·ΠΎΠ²ΡΠΉ Π°Π²ΡΠΎΡΠΎΠΊΡΡ ΠΌΠΎΠΆΠ΅Ρ ΠΏΡΠΈΠΌΠ΅Π½ΡΡΡΡΡ ΡΠΎΠ»ΡΠΊΠΎ Π² ΠΎΠ΄Π½ΠΎΠΎΠ±ΡΠ΅ΠΊΡΠΈΠ²Π½ΡΡ Π·Π΅ΡΠΊΠ°Π»ΡΠ½ΡΡ ΡΠΎΡΠΎΠ°ΠΏΠΏΠ°ΡΠ°ΡΠ°Ρ Β Ρ Π·Π΅ΡΠΊΠ°Π»ΡΠ½ΡΠΌ ΠΎΠ±ΡΡΡΠ°ΡΠΎΡΠΎΠΌ, ΠΏΠΎΡΠΎΠΌΡ ΡΡΠΎ ΡΡΠ΅Π±ΡΠ΅Ρ ΠΎΡΠ΄Π΅Π»ΡΠ½ΠΎΠ³ΠΎ ΠΎΠΏΡΠΈΡΠ΅ΡΠΊΠΎΠ³ΠΎ ΡΡΠ°ΠΊΡΠ°, ΠΏΠΎΠ·Π²ΠΎΠ»ΡΡΡΠ΅Π³ΠΎ ΡΠ°Π·Π±ΠΈΠ²Π°ΡΡ ΠΏΡΡΠΊΠΈ ΡΠ²Π΅ΡΠ° Π½Π° Π΄Π²Π΅ ΡΠ°ΡΡΠΈ. ΠΠ³ΠΎ ΠΎΡΠ½ΠΎΠ²Π½ΡΠΌ ΡΠ»Π΅ΠΌΠ΅Π½ΡΠΎΠΌ ΡΠ²Π»ΡΠ΅ΡΡΡ Π΄Π΅ΡΠ΅ΠΊΡΠΎΡ ΡΠΎΠΊΡΡΠΈΡΠΎΠ²ΠΊΠΈ, ΠΊΠΎΡΠΎΡΡΠΉ ΡΡΡΠ°Π½Π°Π²Π»ΠΈΠ²Π°Π΅ΡΡΡ Π² Π½ΠΈΠΆΠ½Π΅ΠΉ ΡΠ°ΡΡΠΈ ΡΠΎΡΠΎΠ°ΠΏΠΏΠ°ΡΠ°ΡΠ° ΠΏΠΎΠ΄ Π·Π΅ΡΠΊΠ°Π»ΠΎΠΌ. Π‘Π²Π΅Ρ ΠΏΠΎΠΏΠ°Π΄Π°Π΅Ρ ΠΊ Π΄Π΅ΡΠ΅ΠΊΡΠΎΡΡ ΠΏΡΠΈ ΠΏΠΎΠΌΠΎΡΠΈ Π²ΡΠΏΠΎΠΌΠΎΠ³Π°ΡΠ΅Π»ΡΠ½ΠΎΠ³ΠΎ Π·Π΅ΡΠΊΠ°Π»Π°, Π·Π°ΠΊΡΠ΅ΠΏΠ»ΡΠ½Π½ΠΎΠ³ΠΎ Π½Π° ΡΠ°ΡΠ½ΠΈΡΠ΅ ΠΏΠΎΠ΄ ΠΏΠΎΠ»ΡΠΏΡΠΎΠ·ΡΠ°ΡΠ½ΡΠΌ ΠΎΡΠ½ΠΎΠ²Π½ΡΠΌ. ΠΡΠΈ ΡΡΠΎΠΌ Π΄Π»ΠΈΠ½Π° ΠΎΠΏΡΠΈΡΠ΅ΡΠΊΠΎΠ³ΠΎ ΠΏΡΡΠΈ ΡΠ²Π΅ΡΠ° ΠΎΡ ΠΎΠ±ΡΠ΅ΠΊΡΠΈΠ²Π° Π΄ΠΎ Π΄Π΅ΡΠ΅ΠΊΡΠΎΡΠ° Π΄ΠΎΠ»ΠΆΠ½Π° ΡΠΎΡΠ½ΠΎ ΡΠΎΠ²ΠΏΠ°Π΄Π°ΡΡ Ρ Π΄Π»ΠΈΠ½ΠΎΠΉ ΠΏΡΡΠΈ Π΄ΠΎ ΡΠΎΡΠΎΠΌΠ°ΡΠ΅ΡΠΈΠ°Π»Π° ΠΈΠ»ΠΈ ΠΌΠ°ΡΡΠΈΡΡ.
ΠΠ°ΠΆΠ΄ΡΠΉ Π΄Π°ΡΡΠΈΠΊ ΡΠΏΠΎΡΠΎΠ±Π΅Π½ ΠΎΡΠ΅Π½ΠΈΡΡ Π»ΠΈΡΡ ΠΌΠ°Π»ΡΡ ΡΠ°ΡΡΡ ΠΈΠ·ΠΎΠ±ΡΠ°ΠΆΠ΅Π½ΠΈΡ.
ΠΠΎΡΠΈΠ·ΠΎΠ½ΡΠ°Π»ΡΠ½ΡΠ΅ Π΄Π°ΡΡΠΈΠΊΠΈ ΡΠΎΡΠ½Π΅Π΅ ΡΠ°Π±ΠΎΡΠ°ΡΡ Ρ Π²Π΅ΡΡΠΈΠΊΠ°Π»ΡΠ½ΡΠΌΠΈ Π΄Π΅ΡΠ°Π»ΡΠΌΠΈ. Π Π±ΠΎΠ»ΡΡΠΈΠ½ΡΡΠ²Π΅ ΠΈΠ·ΠΎΠ±ΡΠ°ΠΆΠ΅Π½ΠΈΠΉ Π²Π΅ΡΡΠΈΠΊΠ°Π»ΡΠ½ΡΠ΅ Π΄Π΅ΡΠ°Π»ΠΈ ΠΏΡΠ΅ΠΎΠ±Π»Π°Π΄Π°ΡΡ, ΠΏΠΎΡΡΠΎΠΌΡ Π³ΠΎΡΠΈΠ·ΠΎΠ½ΡΠ°Π»ΡΠ½ΡΡ
Π΄Π°ΡΡΠΈΠΊΠΎΠ² ΠΈΡΠΏΠΎΠ»ΡΠ·ΡΠ΅ΡΡΡ Π±ΠΎΠ»ΡΡΠ΅. ΠΠ΅ΡΡΠΈΠΊΠ°Π»ΡΠ½ΡΠ΅ Π΄Π°ΡΡΠΈΠΊΠΈ ΠΎΠ±ΡΡΠ½ΠΎ ΡΠ°ΡΠΏΠΎΠ»Π°Π³Π°ΡΡΡΡ ΠΊΡΠ΅ΡΡΠΎΠΎΠ±ΡΠ°Π·Π½ΠΎ Ρ Π³ΠΎΡΠΈΠ·ΠΎΠ½ΡΠ°Π»ΡΠ½ΡΠΌΠΈ.
Π ΠΏΠ΅ΡΠ²ΡΡ ΡΠΈΡΡΠ΅ΠΌΠ°Ρ ΡΠ°Π·ΠΎΠ²ΠΎΠ³ΠΎ Π°Π²ΡΠΎΡΠΎΠΊΡΡΠ°Β Π±ΡΠ» ΡΠΎΠ»ΡΠΊΠΎ ΠΎΠ΄ΠΈΠ½ Π΄Π°ΡΡΠΈΠΊ Π² ΡΠ΅Π½ΡΡΠ΅ ΠΈΠ·ΠΎΠ±ΡΠ°ΠΆΠ΅Π½ΠΈΡ. Π‘Π΅ΠΉΡΠ°Ρ Π² Π½Π΅ΠΊΠΎΡΠΎΡΡΡ ΠΊΠ°ΠΌΠ΅ΡΠ°Ρ ΡΠΈΡΠ»ΠΎ Π΄Π°ΡΡΠΈΠΊΠΎΠ² ΠΌΠΎΠΆΠ΅Ρ Π΄ΠΎΡΡΠΈΠ³Π°ΡΡ Π½Π΅ΡΠΊΠΎΠ»ΡΠΊΠΈΡ Π΄Π΅ΡΡΡΠΊΠΎΠ².Β
ΠΡΠ½ΠΎΠ²Π½ΡΠΌ ΠΏΡΠ΅ΠΈΠΌΡΡΠ΅ΡΡΠ²ΠΎΠΌ ΡΠ°Π·ΠΎΠ²ΠΎΠ³ΠΎ Π°Π²ΡΠΎΡΠΎΠΊΡΡΠ° ΡΠ²Π»ΡΠ΅ΡΡΡ Π±ΡΡΡΡΠΎΠ΄Π΅ΠΉΡΡΠ²ΠΈΠ΅ ΠΈ Π²ΠΎΠ·ΠΌΠΎΠΆΠ½ΠΎΡΡΡ ΠΈΡΠΏΠΎΠ»ΡΠ·ΠΎΠ²Π°Π½ΠΈΡ ΡΠ»Π΅Π΄ΡΡΠ΅Π³ΠΎ Π°Π²ΡΠΎΡΠΎΠΊΡΡΠ°, Π½Π΅Π΄ΠΎΡΡΠ°ΡΠΊΠΎΠΌ — Π½Π΅ΠΎΠ±Ρ ΠΎΠ΄ΠΈΠΌΠΎΡΡΡ ΡΡΡΠΈΡΠΎΠ²ΠΊΠΈ ΠΈ ΠΏΡΠΎΠ³ΡΠ°ΠΌΠΌΠ½ΠΎΠΉ Π½Π°ΡΡΡΠΎΠΉΠΊΠΈ, Π° ΡΠ°ΠΊΠΆΠ΅ Π½Π΅Π²ΠΎΠ·ΠΌΠΎΠΆΠ½ΠΎΡΡΡ ΡΠ°Π±ΠΎΡΡ Π½Π° Π½Π΅ΡΠ²Π΅ΡΠΎΡΠΈΠ»ΡΠ½ΡΡ ΠΎΠ±ΡΠ΅ΠΊΡΠΈΠ²Π°Ρ .
ΠΠ±ΡΠ΅ΠΊΡ ΡΡΡΠΌΠΊΠΈ ΡΠΈΠ»ΡΠ½ΠΎ Π²Π»ΠΈΡΠ΅ΡΒ Π½Π° ΡΠ°Π±ΠΎΡΡ Π°Π²ΡΠΎΡΠΎΠΊΡΡΠ°. Π’ΡΠΈ Π½Π°ΠΈΠ±ΠΎΠ»Π΅Π΅ Π²Π°ΠΆΠ½ΡΡ
ΡΠ°ΠΊΡΠΎΡΠ°, Π²Π»ΠΈΡΡΡΠΈΡ
Π½Π° Π°Π²ΡΠΎΡΠΎΠΊΡΡ, β ΡΡΠΎ ΡΡΠ΅ΠΏΠ΅Π½Ρ ΠΎΡΠ²Π΅ΡΡΠ½Π½ΠΎΡΡΠΈ, ΠΊΠΎΠ½ΡΡΠ°ΡΡΠ½ΠΎΡΡΡ ΠΏΡΠ΅Π΄ΠΌΠ΅ΡΠ° ΠΈ Π΄Π²ΠΈΠΆΠ΅Π½ΠΈΠ΅ ΠΊΠ°ΠΌΠ΅ΡΡ ΠΈΠ»ΠΈ ΠΏΡΠ΅Π΄ΠΌΠ΅ΡΠ°. ΠΠ²ΡΠΎΡΠΎΠΊΡΡ Π΄ΠΎΡΡΠΈΠΆΠΈΠΌ Π΄Π°ΠΆΠ΅ Π½Π° ΡΠ»Π°Π±ΠΎ ΠΎΡΠ²Π΅ΡΡΠ½Π½ΠΎΠΌ ΠΏΡΠ΅Π΄ΠΌΠ΅ΡΠ΅, Π΅ΡΠ»ΠΈ ΠΎΠ½ ΠΈΠΌΠ΅Π΅Ρ ΠΏΡΠΈ ΡΡΠΎΠΌ Π²ΡΡΠΎΠΊΠΈΠΉ ΠΊΠΎΠ½ΡΡΠ°ΡΡ, Π½ΠΎ Π² ΡΠ»ΡΡΠ°Π΅ ΠΎΡΠ²Π΅ΡΠ΅Π½Π½ΠΎΠ³ΠΎ ΠΌΠ°Π»ΠΎΠΊΠΎΠ½ΡΡΠ°ΡΡΠ½ΠΎΠ³ΠΎ ΠΎΠ±ΡΠ΅ΠΊΡΠ° Ρ ΡΠΎΠΊΡΡΠΈΡΠΎΠ²ΠΊΠΎΠΉ ΠΌΠΎΠ³ΡΡ Π±ΡΡΡ ΠΏΡΠΎΠ±Π»Π΅ΠΌΡ.
Β ΠΠ½ΠΎΠ³Π΄Π° ΠΊΠ°ΠΌΠ΅ΡΠ° ΠΌΠΎΠΆΠ΅Ρ ΡΡΠΎΠΊΡΡΠΈΡΠΎΠ²Π°ΡΡΡΡ ΡΠΎΠ»ΡΠΊΠΎ Π½Π° ΡΠΎΠ½Π΅, Π° Π½Π΅ Π½Π° ΡΠ°ΠΌΠΎΠΌ ΠΎΠ±ΡΠ΅ΠΊΡΠ΅ ΡΡΠ΅ΠΌΠΊΠ΅. Β
Π‘ΡΠ°ΡΠΈΡΠ½ΡΠ΅ ΡΠ½ΠΈΠΌΠΊΠΈ Π»ΡΡΡΠ΅ Π²ΡΠ΅Π³ΠΎ ΡΠ½ΠΈΠΌΠ°ΡΡ Π² ΡΠ΅ΠΆΠΈΠΌΠ΅ ΡΠ°Π·ΠΎΠ²ΠΎΠ³ΠΎ ΡΠΎΠΊΡΡΠ°, ΠΊΠΎΡΠΎΡΡΠΉ Π³Π°ΡΠ°Π½ΡΠΈΡΡΠ΅Ρ, ΡΡΠΎ ΡΠΎΡΠ½ΡΠΉ ΡΠΎΠΊΡΡ Π±ΡΠ» ΠΏΠΎΠ»ΡΡΠ΅Π½ Π΄ΠΎ Π½Π°ΡΠ°Π»Π° ΡΠΊΡΠΏΠΎΠ·ΠΈΡΠΈΠΈ. ΠΠ»Ρ ΠΏΠΎΡΡΡΠ΅ΡΠΎΠ² Π½Π°ΠΈΠ»ΡΡΡΠ΅ΠΉ ΡΠΎΡΠΊΠΎΠΉ ΡΠΎΠΊΡΡΠΈΡΠΎΠ²ΠΊΠΈ ΡΠ²Π»ΡΡΡΡΡ Π³Π»Π°Π·Π°.
ΠΡΠΈ ΡΡΡΠΌΠΊΠ΅ Π΄Π²ΠΈΠΆΠ΅Π½ΠΈΡ ΠΌΠΎΠΆΠ½ΠΎ ΠΈΡΠΏΠΎΠ»ΡΠ·ΠΎΠ²Π°ΡΡ ΡΠ»Π΅Π΄ΡΡΠΈΠΉ ΡΠ΅ΠΆΠΈΠΌ ΠΈΠ»ΠΈ ΠΏΡΠ΅Π΄Π²Π°ΡΠΈΡΠ΅Π»ΡΠ½ΠΎ ΡΡΠΎΠΊΡΡΠΈΡΠΎΠ²Π°ΡΡ ΠΊΠ°ΠΌΠ΅ΡΡ Π½Π° ΠΎΠ±Π»Π°ΡΡΠΈ, Π² ΠΊΠΎΡΠΎΡΠΎΠΉ ΠΎΠΆΠΈΠ΄Π°Π΅ΡΡΡ ΠΏΠΎΡΠ²Π»Π΅Π½ΠΈΡ Π΄Π²ΠΈΠΆΡΡΠ΅Π³ΠΎΡΡ ΠΎΠ±ΡΠ΅ΠΊΡΠ°.Β Β Β Β
Π§Π΅ΠΌ ΠΎΡΠ»ΠΈΡΠ°Π΅ΡΡΡ ΠΌΠΎΠ±ΠΈΠ»ΡΠ½ΡΠΉ Π°Π²ΡΠΎΡΠΎΠΊΡΡ — Hi-News.ru
ΠΠΎΠ³Π΄Π° Π²Ρ Π΄Π΅Π»Π°Π΅ΡΠ΅ ΡΠ½ΠΈΠΌΠΊΠΈ Π½Π° ΡΠΌΠ°ΡΡΡΠΎΠ½, ΠΎΡΠ΅Π½Ρ Π²Π°ΠΆΠ½ΠΎ, ΡΡΠΎΠ±Ρ ΡΠΎΡΠΎΠ³ΡΠ°ΡΠΈΠΈ Π±ΡΠ»ΠΈ ΡΠ΅ΡΠΊΠΈΠΌΠΈ, Π° Π² ΡΠ΅Π½ΡΡΠ΅ Π²Π½ΠΈΠΌΠ°Π½ΠΈΡ ΠΎΠΊΠ°Π·Π°Π»ΠΎΡΡ ΠΈΠΌΠ΅Π½Π½ΠΎ ΡΠΎ, ΡΡΠΎ Π½ΡΠΆΠ½ΠΎ.
ΠΠ»Ρ ΡΡΠΎΠ³ΠΎ ΠΎΠ±ΡΠ΅ΠΊΡ ΡΠ½ΠΈΠΌΠΊΠ° Π΄ΠΎΠ»ΠΆΠ΅Π½ Π±ΡΡΡ Π² ΡΠΎΠΊΡΡΠ΅ Π΄ΠΎ ΡΠΎΠ³ΠΎ, ΠΊΠ°ΠΊ Π²Ρ Π½Π°ΠΆΠΌΠ΅ΡΠ΅ Π½Π° ΠΊΠ½ΠΎΠΏΠΊΡ Β«Π‘Π΄Π΅Π»Π°ΡΡ ΡΠΎΡΠΎΒ». ΠΠΎΠΌΠΎΠ³Π°ΡΡ Π² ΡΡΠΎΠΌ ΡΠ΅Ρ
Π½ΠΎΠ»ΠΎΠ³ΠΈΠΈ Π°Π²ΡΠΎΠΌΠ°ΡΠΈΡΠ΅ΡΠΊΠΎΠΉ ΡΠΎΠΊΡΡΠΈΡΠΎΠ²ΠΊΠΈ, ΠΊΠΎΡΠΎΡΡΠ΅ ΠΈΠΌΠ΅ΡΡ ΡΠ²ΠΎΠΈ ΠΎΡΠΎΠ±Π΅Π½Π½ΠΎΡΡΠΈ ΠΈ Π½Π°ΡΠ»ΠΈ ΠΏΡΠΈΠΌΠ΅Π½Π΅Π½ΠΈΠ΅ Π² ΡΠΎΠ²ΡΠ΅ΠΌΠ΅Π½Π½ΡΡ
ΡΠΌΠ°ΡΡΡΠΎΠ½Π°Ρ
ΡΠ°Π·Π½ΠΎΠ³ΠΎ ΡΠ΅Π½ΠΎΠ²ΠΎΠ³ΠΎ ΡΠ΅Π³ΠΌΠ΅Π½ΡΠ°.
ΠΡΠΈ Π²ΡΠ±ΠΎΡΠ΅ ΡΠ΅Π»Π΅ΡΠΎΠ½Π° Ρ Ρ ΠΎΡΠΎΡΠ΅ΠΉ ΠΊΠ°ΠΌΠ΅ΡΠΎΠΉ ΠΌΠ½ΠΎΠ³ΠΈΠ΅ ΡΠ΄Π΅Π»ΡΡΡ Π²Π½ΠΈΠΌΠ°Π½ΠΈΠ΅ ΠΊΠΎΠ»ΠΈΡΠ΅ΡΡΠ²Ρ ΠΌΠ΅Π³Π°ΠΏΠΈΠΊΡΠ΅Π»Π΅ΠΉ. ΠΠ΄Π½Π°ΠΊΠΎ Π²Π°ΠΆΠ½Π΅Π΅ ΠΈ ΠΏΠΎΠ»Π΅Π·Π½Π΅Π΅ Π²Π·Π³Π»ΡΠ½ΡΡΡ Π½Π° Π΄ΡΡΠ³ΠΈΠ΅ ΡΠ°ΠΊΡΠΎΡΡ, ΠΊΠΎΡΠΎΡΡΠ΅ ΠΎΠΊΠ°Π·ΡΠ²Π°ΡΡ Π½Π΅ ΠΌΠ΅Π½Π΅Π΅ ΡΠ΅ΡΡΠ΅Π·Π½ΠΎΠ΅ Π²Π»ΠΈΡΠ½ΠΈΠ΅ Π½Π° ΠΊΠ°ΡΠ΅ΡΡΠ²ΠΎ ΡΠΎΡΠΎΠ³ΡΠ°ΡΠΈΠΉ. Π‘ΡΠ΅Π΄ΠΈ Π½ΠΈΡ β ΡΠΈΠΏ Π°Π²ΡΠΎΡΠΎΠΊΡΡΠ° ΠΊΠ°ΠΌΠ΅ΡΡ ΡΠΌΠ°ΡΡΡΠΎΠ½Π°.
Π‘ΠΎΠ΄Π΅ΡΠΆΠ°Π½ΠΈΠ΅
- 1 ΠΠΎΠ½ΡΡΠ°ΡΡΠ½ΡΠΉ Π°Π²ΡΠΎΡΠΎΠΊΡΡ
- 2 ΠΠ°Π·Π΅Ρ Π²ΡΠ΅ΠΌΡ Π³ΠΎΠ»ΠΎΠ²Π°
- 3 Π€Π°Π·ΠΎΠ²ΡΠΉ Π°Π²ΡΠΎΡΠΎΠΊΡΡ
- 4 Dual Pixel
ΠΠΎΠ½ΡΡΠ°ΡΡΠ½ΡΠΉ Π°Π²ΡΠΎΡΠΎΠΊΡΡ
ΠΠ°Π·Π²Π°Π½ΠΈΠ΅ Π΄Π°Π½Π½ΠΎΠΉ ΡΠ΅Ρ
Π½ΠΎΠ»ΠΎΠ³ΠΈΠΈ Π½Π΅ΠΏΠΎΡΡΠ΅Π΄ΡΡΠ²Π΅Π½Π½ΠΎ ΡΠ²ΡΠ·Π°Π½ΠΎ Ρ ΠΏΡΠΈΠ½ΡΠΈΠΏΠΎΠΌ Π΅Ρ ΡΠ°Π±ΠΎΡΡ, ΠΊΠΎΡΠΎΡΡΠΉ Π·Π°ΠΊΠ»ΡΡΠ°Π΅ΡΡΡ Π² ΠΏΠΎΡΡΠΎΡΠ½Π½ΠΎΠΌ ΡΡΠΈΡΡΠ²Π°Π½ΠΈΠΈ ΠΈ Π°Π½Π°Π»ΠΈΠ·Π΅ ΠΈΠ·ΠΎΠ±ΡΠ°ΠΆΠ΅Π½ΠΈΡ Ρ ΠΌΠ°ΡΡΠΈΡΡ. ΠΠ°Π½ΠΈΠΌΠ°Π΅ΡΡΡ ΡΡΠΈΠΌ Π½Π΅Π»ΡΠ³ΠΊΠΈΠΌ Π΄Π΅Π»ΠΎΠΌ ΠΌΠΈΠΊΡΠΎΠΏΡΠΎΡΠ΅ΡΡΠΎΡ. ΠΠ»Π°Π²Π½ΠΎΠΉ Π΅Π³ΠΎ Π·Π°Π΄Π°ΡΠ΅ΠΉ ΡΠ²Π»ΡΠ΅ΡΡΡ ΠΏΠ΅ΡΠ΅ΠΌΠ΅ΡΠ΅Π½ΠΈΠ΅ ΠΎΠ±ΡΠ΅ΠΊΡΠΈΠ²Π° Π² ΠΏΠΎΠΈΡΠΊΠ°Ρ
Π·ΠΎΠ½Ρ Ρ Π½Π°ΠΈΠ±ΠΎΠ»ΡΡΠΈΠΌ ΠΊΠΎΠ½ΡΡΠ°ΡΡΠΎΠΌ. ΠΠ΅ Π½Π°Ρ
ΠΎΠΆΠ΄Π΅Π½ΠΈΠ΅ ΠΈ Π΅ΡΡΡ ΡΠΎ, ΡΡΠΎ ΠΌΡ ΠΏΡΠΈΠ²ΡΠΊΠ»ΠΈ Π½Π°Π·ΡΠ²Π°ΡΡ Β«ΠΏΠΎΠΏΠ°Π΄Π°Π½ΠΈΠ΅ΠΌ Π² ΡΠΎΠΊΡΡΒ».
ΠΠ°ΠΈΠ±ΠΎΠ»Π΅Π΅ ΠΎΡΠ΅Π²ΠΈΠ΄Π½ΡΠΉ Π½Π΅Π΄ΠΎΡΡΠ°ΡΠΎΠΊ ΠΊΠΎΠ½ΡΡΠ°ΡΡΠ½ΠΎΠ³ΠΎ Π°Π²ΡΠΎΡΠΎΠΊΡΡΠ° β Π΅Π³ΠΎ ΠΌΠ΅Π΄Π»ΠΈΡΠ΅Π»ΡΠ½ΠΎΡΡΡ. Π‘Π΄Π΅Π»Π°ΡΡ Π²ΡΠ²ΠΎΠ΄ ΠΎ Π½Π°ΠΈΠ²ΡΡΡΠ΅ΠΌ ΡΡΠΎΠ²Π½Π΅ ΠΊΠΎΠ½ΡΡΠ°ΡΡΠ° ΠΌΠΎΠΆΠ½ΠΎ Π»ΠΈΡΡ ΠΏΠΎΡΠ»Π΅ Π°Π½Π°Π»ΠΈΠ·Π° Π²ΡΠ΅Π³ΠΎ ΠΈΠ·ΠΎΠ±ΡΠ°ΠΆΠ΅Π½ΠΈΡ ΠΈ Π²ΠΎΠ·Π²ΡΠ°ΡΠ΅Π½ΠΈΡ ΠΎΠ±ΡΠ΅ΠΊΡΠΈΠ²Π° ΠΎΠ±ΡΠ°ΡΠ½ΠΎ, ΡΡΠΎ ΡΠΎΠΆΠ΅ ΡΡΠ΅Π±ΡΠ΅Ρ Π½Π΅ΠΊΠΎΡΠΎΡΠΎΠ΅ Π²ΡΠ΅ΠΌΡ.
ΠΠ°Π½Π½ΡΠΉ ΡΠΈΠΏ Π°Π²ΡΠΎΡΠΎΠΊΡΡΠ° Π½Π° ΡΠ΅Π³ΠΎΠ΄Π½ΡΡΠ½ΠΈΠΉ Π΄Π΅Π½Ρ ΠΈΡΠΏΠΎΠ»ΡΠ·ΡΠ΅ΡΡΡ ΠΏΡΠ΅ΠΈΠΌΡΡΠ΅ΡΡΠ²Π΅Π½Π½ΠΎ Π² Π±ΡΠ΄ΠΆΠ΅ΡΠ½ΡΡ ΡΠΌΠ°ΡΡΡΠΎΠ½Π°Ρ , ΡΠ°ΠΊΠΈΡ ΠΊΠ°ΠΊ MOTOROLA G5S Plus, SAMSUNG Galaxy J7, MEIZU M6 Note ΠΈ Π΄ΡΡΠ³ΠΈΡ .
ΠΠ°Π·Π΅Ρ Π²ΡΠ΅ΠΌΡ Π³ΠΎΠ»ΠΎΠ²Π°
Π Π΅ΡΠ΅Π½ΠΈΠ΅ΠΌ ΠΏΡΠΎΠ±Π»Π΅ΠΌΡ Π΄ΠΎΠ»ΠΆΠ΅Π½ Π±ΡΠ» ΡΡΠ°ΡΡ Π»Π°Π·Π΅Ρ. ΠΠΎΡΠ»Π΅Π΄Π½ΠΈΠΉ, ΠΊ ΡΠ»ΠΎΠ²Ρ, Π΄ΠΎΠ²ΠΎΠ»ΡΠ½ΠΎ Π΄Π°Π²Π½ΠΎ ΠΈΡΠΏΠΎΠ»ΡΠ·ΡΠ΅ΡΡΡ Π΄Π»Ρ ΠΎΠΏΡΠ΅Π΄Π΅Π»Π΅Π½ΠΈΡ ΡΠ°ΡΡΡΠΎΡΠ½ΠΈΡ. ΠΠ°ΠΊ ΠΎΠ½ ΡΡΠ½ΠΊΡΠΈΠΎΠ½ΠΈΡΡΠ΅Ρ? Π£ΡΡΡΠΎΠΉΡΡΠ²ΠΎ ΠΈΠ·Π»ΡΡΠ°Π΅Ρ Π½Π΅Π²Π΅ΡΠΎΡΡΠ½ΠΎ ΡΠΎΠ½ΠΊΡΡ ΠΏΠΎΠ»ΠΎΡΡ ΡΠ²Π΅ΡΠ°, ΠΊΠΎΡΠΎΡΠ°Ρ ΠΎΡΡΠ°ΠΆΠ°Π΅ΡΡΡ ΠΎΡ Π²ΡΠ΅Π²ΠΎΠ·ΠΌΠΎΠΆΠ½ΡΡ ΠΏΠΎΠ²Π΅ΡΡ Π½ΠΎΡΡΠ΅ΠΉ ΠΈ Π²ΠΎΠ·Π²ΡΠ°ΡΠ°Π΅ΡΡΡ ΠΎΠ±ΡΠ°ΡΠ½ΠΎ. Π‘ΠΌΠ°ΡΡΡΠΎΠ½ Π²ΡΡΡΠΈΡΡΠ²Π°Π΅Ρ Π²ΡΠ΅ΠΌΡ ΠΏΡΡΠ΅ΡΠ΅ΡΡΠ²ΠΈΡ Π»Π°Π·Π΅ΡΠ°, ΡΠΌΠ½ΠΎΠΆΠ°Π΅Ρ ΡΠ΅Π·ΡΠ»ΡΡΠ°Ρ Π½Π° ΡΠΊΠΎΡΠΎΡΡΡ ΡΠ²Π΅ΡΠ° ΠΈ Π΄Π΅Π»ΠΈΡ Π½Π° 2. ΠΠΎΠ½Π΅ΡΠ½Π°Ρ ΡΠΈΡΡΠ° ΠΈ Π±ΡΠ΄Π΅Ρ ΡΠ°ΡΡΡΠΎΡΠ½ΠΈΠ΅ΠΌ Π΄ΠΎ ΠΎΠ±ΡΠ΅ΠΊΡΠ°, Π±Π»Π°Π³ΠΎΠ΄Π°ΡΡ ΡΠ΅ΠΌΡ ΠΈ ΡΠ΄Π°ΡΡΡΡ ΡΡΠΎΠΊΡΡΠΈΡΠΎΠ²Π°ΡΡΡΡ.
ΠΡΠ΅Π²ΠΈΠ΄Π½ΠΎ, ΡΡΠΎ Π»Π°Π·Π΅Ρ ΠΎΠ±Π»Π°Π΄Π°Π΅Ρ Π½Π΅ΠΊΠΎΡΠΎΡΡΠΌΠΈ ΠΏΡΠ΅ΠΈΠΌΡΡΠ΅ΡΡΠ²Π°ΠΌΠΈ, Π° ΠΈΠΌΠ΅Π½Π½ΠΎ Π²ΡΡΠΎΠΊΠΎΠΉ ΡΠΎΡΠ½ΠΎΡΡΡΡ Π²ΡΡΠΈΡΠ»Π΅Π½ΠΈΡ ΠΈ ΠΏΡΠΈΠ»ΠΈΡΠ½ΠΎΠΉ ΡΠΊΠΎΡΠΎΡΡΡΡ ΡΠ°Π±ΠΎΡΡ.
ΠΠΎ Π½Π΅ ΠΎΠ±ΠΎΡΠ»ΠΎΡΡ ΠΈ Π±Π΅Π· Π½Π΅Π΄ΠΎΡΡΠ°ΡΠΊΠΎΠ². ΠΠ΅Π»ΠΎ Π² ΡΠΎΠΌ, ΡΡΠΎ ΠΊΡΠΎΡ
ΠΎΡΠ½ΡΠ΅ ΡΠ°Π·ΠΌΠ΅ΡΡ Π»ΡΡΠ° ΡΠ²Π»ΡΡΡΡΡ ΠΏΡΠΈΡΠΈΠ½ΠΎΠΉ Π½Π΅ΡΡΡΠ΅ΠΊΡΠΈΠ²Π½ΠΎΡΡΠΈ Π΅Π³ΠΎ ΡΠ°Π±ΠΎΡΡ Π½Π° Π±ΠΎΠ»ΡΡΠΈΡ
ΡΠ°ΡΡΡΠΎΡΠ½ΠΈΡΡ
ΠΈΠ»ΠΈ Π½Π° ΠΎΡΠΊΡΡΡΠΎΠΌ ΠΏΡΠΎΡΡΡΠ°Π½ΡΡΠ²Π΅.
ΠΠΎΡΡΠΎΠΌΡ ΠΏΡΠΎΠΈΠ·Π²ΠΎΠ΄ΠΈΡΠ΅Π»ΠΈ ΡΠ΅ΠΉΡΠ°Ρ ΡΠΎΠ²ΠΌΠ΅ΡΠ°ΡΡ ΠΊΠΎΠ½ΡΡΠ°ΡΡΠ½ΡΠΉ ΠΈ Π»Π°Π·Π΅ΡΠ½ΡΠΉ Π°Π²ΡΠΎΡΠΎΠΊΡΡ. ΠΠΎ Π²ΡΠ΅ΠΌΡ Π·Π°ΠΏΡΡΠΊΠ° ΠΊΠ°ΠΌΠ΅ΡΡ ΡΠΌΠ°ΡΡΡΠΎΠ½ ΠΈΠ·Π»ΡΡΠ°Π΅Ρ Π»ΡΡ ΡΠ²Π΅ΡΠ°, ΡΡΠΎΠ±Ρ ΠΏΡΠΎΠ²Π΅ΡΠΈΡΡ, Π΅ΡΡΡ Π»ΠΈ ΠΏΠΎΠ±Π»ΠΈΠ·ΠΎΡΡΠΈ ΠΊΠ°ΠΊΠΈΠ΅-Π»ΠΈΠ±ΠΎ ΠΏΡΠ΅Π΄ΠΌΠ΅ΡΡ. Π ΡΠ»ΡΡΠ°Π΅ ΠΈΡ ΠΎΡΡΡΡΡΡΠ²ΠΈΡ ΡΡΡΡΠΎΠΉΡΡΠ²ΠΎ Π½Π°ΡΠΈΠ½Π°Π΅Ρ ΠΈΡΠΏΠΎΠ»ΡΠ·ΠΎΠ²Π°ΡΡ ΠΊΠΎΠ½ΡΡΠ°ΡΡΠ½ΡΠΉ Π°Π²ΡΠΎΡΠΎΠΊΡΡ.
ΠΠ°Π·Π΅ΡΠ½ΡΠΌ Π°Π²ΡΠΎΡΠΎΠΊΡΡΠΎΠΌ ΠΎΡΠ½Π°ΡΠ΅Π½Ρ ΠΏΡΠ΅ΠΈΠΌΡΡΠ΅ΡΡΠ²Π΅Π½Π½ΠΎ ΡΠΌΠ°ΡΡΡΠΎΠ½Ρ LG, Π½ΠΎ Π΅ΡΡΡ ΠΈ ΠΈΡΠΊΠ»ΡΡΠ΅Π½ΠΈΡ: ΡΠΎΡ ΠΆΠ΅ ΡΠ»Π°Π³ΠΌΠ°Π½ Huawei P20 Pro ΠΈΠ»ΠΈ Asus Zenfone 2 Laser.
Π€Π°Π·ΠΎΠ²ΡΠΉ Π°Π²ΡΠΎΡΠΎΠΊΡΡ
Π’ΡΠ΅ΡΠΈΠΉ ΡΠΈΠΏ Π°Π²ΡΠΎΡΠΎΠΊΡΡΠ° Π½Π°Π·ΡΠ²Π°Π΅ΡΡΡ ΡΠ°Π·ΠΎΠ²ΡΠΌ. ΠΠ»Ρ Π΅Π³ΠΎ ΡΠ΅Π°Π»ΠΈΠ·Π°ΡΠΈΠΈ ΠΏΡΠ΅Π΄ΡΡΠΌΠΎΡΡΠ΅Π½Ρ Π΄ΠΎΠΏΠΎΠ»Π½ΠΈΡΠ΅Π»ΡΠ½ΡΠ΅ Π΄Π°ΡΡΠΈΠΊΠΈ, ΠΊΠΎΡΠΎΡΡΠ΅ ΠΏΠΎΠ·Π²ΠΎΠ»ΡΡΡ ΠΊΠ°ΠΌΠ΅ΡΠ΅ ΠΏΠΎΠ»ΡΡΠΈΡΡ Π±ΠΎΠ»ΡΡΠ΅ Π΄Π°Π½Π½ΡΡ Π΄Π»Ρ Π½Π°ΡΡΡΠΎΠΉΠΊΠΈ ΡΠΎΠΊΡΡΠ°.
ΠΠ΅ΡΠ²ΠΎΠ΅ ΠΈ Π³Π»Π°Π²Π½ΠΎΠ΅ ΠΏΡΠ΅ΠΈΠΌΡΡΠ΅ΡΡΠ²ΠΎ ΡΠ°Π·ΠΎΠ²ΠΎΠ³ΠΎ Π°Π²ΡΠΎΡΠΎΠΊΡΡΠ° β ΠΎΠ½ Π½Π°ΠΌΠ½ΠΎΠ³ΠΎ Π±ΡΡΡΡΠ΅Π΅ ΠΊΠΎΠ½ΡΡΠ°ΡΡΠ½ΠΎΠ³ΠΎ, ΡΡΠΎ ΠΏΡΠΎΡΡΠΎ must have Π΄Π»Ρ ΡΡΠ΅ΠΌΠΊΠΈ Π΄Π²ΠΈΠΆΡΡΠΈΡ
ΡΡ ΠΎΠ±ΡΠ΅ΠΊΡΠΎΠ². ΠΡΠΎΠΌΠ΅ ΡΠΎΠ³ΠΎ, ΠΊΠ°ΠΌΠ΅ΡΠ° ΠΌΠΎΠΆΠ΅Ρ ΠΎΡΠ΅Π½ΠΈΠ²Π°ΡΡ Π΄Π²ΠΈΠΆΠ΅Π½ΠΈΠ΅ ΠΎΠ±ΡΠ΅ΠΊΡΠ° ΠΏΡΠΈ ΠΏΠΎΠΌΠΎΡΠΈ Π΄Π°ΡΡΠΈΠΊΠΎΠ², ΠΎΡΡΡΠ΄Π° ΠΏΠΎΠ»ΡΡΠ°Π΅ΠΌ Π²ΠΎΠ·ΠΌΠΎΠΆΠ½ΠΎΡΡΡ ΡΠ»Π΅Π΄ΡΡΠ΅Π³ΠΎ Π°Π²ΡΠΎΡΠΎΠΊΡΡΠ°.![]()
ΠΠΎ Π΅ΡΡΡ ΠΈ ΠΌΠΈΠ½ΡΡΡ. Π€Π°Π·ΠΎΠ²ΡΠΉ Π°Π²ΡΠΎΡΠΎΠΊΡΡ, ΠΊΠ°ΠΊ ΠΈ ΠΊΠΎΠ½ΡΡΠ°ΡΡΠ½ΡΠΉ, ΡΠ°ΠΊΠΆΠ΅ Π½Π΅ ΠΎΡΠ΅Π½Ρ Ρ ΠΎΡΠΎΡΠΎ ΡΠΏΡΠ°Π²Π»ΡΠ΅ΡΡΡ ΡΠΎ ΡΠ²ΠΎΠΈΠΌΠΈ Π·Π°Π΄Π°ΡΠ°ΠΌΠΈ Π² ΡΡΠ»ΠΎΠ²ΠΈΡΡ Π½Π΅Π΄ΠΎΡΡΠ°ΡΠΎΡΠ½ΠΎΠ³ΠΎ ΠΎΡΠ²Π΅ΡΠ΅Π½ΠΈΡ. Π’Π°ΠΊΠΆΠ΅ Π΄Π»Ρ Π½Π΅Π³ΠΎ Π½Π΅ΠΎΠ±Ρ ΠΎΠ΄ΠΈΠΌΠΎ Π±ΠΎΠ»Π΅Π΅ ΠΌΠΎΡΠ½ΠΎΠ΅ Β«ΠΆΠ΅Π»Π΅Π·ΠΎΒ», ΠΏΠΎΡΡΠΎΠΌΡ ΠΎΠ½, ΠΊΠ°ΠΊ ΠΏΡΠ°Π²ΠΈΠ»ΠΎ, Π΄ΠΎΡΡΡΠΏΠ΅Π½ Π² ΡΠΌΠ°ΡΡΡΠΎΠ½Π°Ρ ΡΠ΅Π³ΠΌΠ΅Π½ΡΠ° high-end. Π‘ΡΠ΅Π΄ΠΈ Π½ΠΈΡ Honor 10, ASUS Zenfone 5 ΠΈ ZTΠ Πxon 9 Pro.
Π₯ΠΎΡΡ ΡΠ°Π·ΠΎΠ²ΡΠΉ Π°Π²ΡΠΎΡΠΎΠΊΡΡ Π±ΡΡΡΡΠ΅Π΅ ΠΊΠΎΠ½ΡΡΠ°ΡΡΠ½ΠΎΠ³ΠΎ, ΠΎΠ½ Π²ΡΠ΅ ΡΠ°Π²Π½ΠΎ Π΄Π°Π»Π΅ΠΊ ΠΏΠΎ ΡΡΠΎΠΌΡ ΠΏΠ°ΡΠ°ΠΌΠ΅ΡΡΡ ΠΎΡ Π»Π°Π·Π΅ΡΠ½ΠΎΠ³ΠΎ. ΠΠ΅ΠΊΠΎΡΠΎΡΡΠ΅ ΠΏΡΠΎΠΈΠ·Π²ΠΎΠ΄ΠΈΡΠ΅Π»ΠΈ (Π½Π°ΠΏΡΠΈΠΌΠ΅Ρ, Apple) Π·Π°Π½ΡΠ»ΠΈΡΡ ΡΠΎΠ²Π΅ΡΡΠ΅Π½ΡΡΠ²ΠΎΠ²Π°Π½ΠΈΠ΅ΠΌ ΡΠ΅Ρ Π½ΠΎΠ»ΠΎΠ³ΠΈΠΈ ΡΠ°Π·ΠΎΠ²ΠΎΠ³ΠΎ Π°Π²ΡΠΎΡΠΎΠΊΡΡΠ°, ΡΡΠΎ ΠΏΠΎΠ·Π²ΠΎΠ»ΠΈΠ»ΠΎ ΠΏΡΠΈΠ±Π»ΠΈΠ·ΠΈΡΡ ΡΠΊΠΎΡΠΎΡΡΡ Π΅Π³ΠΎ ΡΠ°Π±ΠΎΡΡ ΠΊ Π»Π°Π·Π΅ΡΠ½ΠΎΠΌΡ Π°Π½Π°Π»ΠΎΠ³Ρ. Π iPhone XS ΠΈ iPhone XS Max ΠΊΠΎΠΌΠΏΠ°Π½ΠΈΡ ΠΈΡΠΏΠΎΠ»ΡΠ·ΡΠ΅Ρ ΡΠ°ΠΊ Π½Π°Π·ΡΠ²Π°Π΅ΠΌΡΠ΅ Β«ΡΠΎΠΊΡΡΠ½ΡΠ΅ ΠΏΠΈΠΊΡΠ΅Π»ΠΈΒ»: ΡΡΡΡ Π² ΡΠΎΠΌ, ΡΡΠΎ ΡΠ΅Ρ Π½ΠΎΠ»ΠΎΠ³ΠΈΡ Π·Π°Π΄Π΅ΠΉΡΡΠ²ΡΠ΅Ρ ΡΠ°ΡΡΡ ΠΏΠΈΠΊΡΠ΅Π»Π΅ΠΉ Π² ΠΊΠ°ΡΠ΅ΡΡΠ²Π΅ ΡΠ°Π·ΠΎΠ²ΠΎΠ³ΠΎ ΡΠ΅Π½ΡΠΎΡΠ°, ΠΏΠΎΡΡΠΎΠΌΡ ΡΡΠ΅ΠΌΠΊΠ° Π½Π° ΡΠΌΠ°ΡΡΡΠΎΠ½Ρ ΠΎΡ Apple ΠΏΠΎΠ»ΡΡΠ°Π΅ΡΡΡ Π΄Π΅ΠΉΡΡΠ²ΠΈΡΠ΅Π»ΡΠ½ΠΎ Π±ΡΡΡΡΠΎΠΉ.
Dual Pixel
Π ΡΠΌΠ°ΡΡΡΠΎΠ½Π°Ρ
Samsung Π΄Π°Π²Π½ΠΎ ΠΈΡΠΏΠΎΠ»ΡΠ·ΡΠ΅ΡΡΡ ΡΠΈΡΡΠ΅ΠΌΠ° Dual Pixel. Π§ΡΠΎ ΠΆΠ΅ ΠΎΠ½Π° ΠΈΠ· ΡΠ΅Π±Ρ ΠΏΡΠ΅Π΄ΡΡΠ°Π²Π»ΡΠ΅Ρ? Π Π°Π½Π΅Π΅ ΠΊΠΎΠΌΠΏΠ°Π½ΠΈΡ ΠΈΡΠΏΠΎΠ»ΡΠ·ΠΎΠ²Π°Π»Π° ΡΠ°Π·ΠΎΠ²ΡΠΉ Π°Π²ΡΠΎΡΠΎΠΊΡΡ, ΡΠ΅ΠΏΠ΅ΡΡ ΠΆΠ΅ ΠΊΠΎΡΠ΅ΠΉΡΡ ΡΠ΅ΡΠΈΠ»ΠΈ, ΡΡΠΎ ΡΠΊΠΎΡΠΎΡΡΠΈ ΡΠ°Π·ΠΎΠ²ΠΎΠ³ΠΎ Π°Π²ΡΠΎΡΠΎΠΊΡΡΠ° ΠΈΠΌ Π±ΡΠ΄Π΅Ρ Π½Π΅Π΄ΠΎΡΡΠ°ΡΠΎΡΠ½ΠΎ.
Π§ΡΠΎ ΠΆΠ΅ ΠΎΠ½ΠΈ ΡΠ΄Π΅Π»Π°Π»ΠΈ? ΠΠ½ΠΈ Π²Π½Π΅Π΄ΡΠΈΠ»ΠΈ Π² ΠΊΠ°ΠΆΠ΄ΡΠΉ ΠΏΠΈΠΊΡΠ΅Π»Ρ ΠΏΠΎ Π΄Π²Π° ΡΠΎΡΠΎΠ΄ΠΈΠΎΠ΄Π°. ΠΠ΅ΠΆΠ΄Ρ ΡΠ΅ΠΌ Π² ΡΠ°Π·ΠΎΠ²ΠΎΠΌ Π°Π²ΡΠΎΡΠΎΠΊΡΡΠ΅ ΡΠΎΡΠΎΠ΄ΠΈΠΎΠ΄Ρ ΠΈΡΠΏΠΎΠ»ΡΠ·ΠΎΠ²Π°Π»ΠΈΡΡ Π½Π΅ Π² ΠΊΠ°ΠΆΠ΄ΠΎΠΌ ΠΏΠΈΠΊΡΠ΅Π»Π΅, Π° Π΅ΡΠ»ΠΈ ΠΈ ΠΈΡΠΏΠΎΠ»ΡΠ·ΠΎΠ²Π°Π»ΠΈΡΡ, ΡΠΎ Π»ΠΈΡΡ ΠΎΠ΄ΠΈΠ½ ΠΊ ΠΎΠ΄Π½ΠΎΠΌΡ ΠΏΠΈΠΊΡΠ΅Π»Ρ. Π’Π°ΠΊΠΈΠΌ ΠΎΠ±ΡΠ°Π·ΠΎΠΌ, Π²ΠΌΠ΅ΡΡΠΎ 5-10 % ΠΏΠΈΠΊΡΠ΅Π»Π΅ΠΉ, ΠΊΠΎΡΠΎΡΡΠ΅ ΠΈΡΠΏΠΎΠ»ΡΠ·ΠΎΠ²Π°Π»ΠΈΡΡ Π΄Π»Ρ Π°Π²ΡΠΎΡΠΎΠΊΡΡΠΈΡΠΎΠ²ΠΊΠΈ, ΡΠ΅ΠΏΠ΅ΡΡ ΠΈΡΠΏΠΎΠ»ΡΠ·ΡΡΡΡΡ Π²ΡΠ΅ 100% ΠΏΠΈΠΊΡΠ΅Π»Π΅ΠΉ.
ΠΡΡΠ³ΠΈΠΌΠΈ ΡΠ»ΠΎΠ²Π°ΠΌΠΈ, Dual Pixel β ΡΡΠΎ ΡΡΡΠ΅ΡΡΠ²Π΅Π½Π½ΠΎ ΡΠ»ΡΡΡΠ΅Π½Π½ΡΠΉ ΡΠ°Π·ΠΎΠ²ΡΠΉ Π°Π²ΡΠΎΡΠΎΠΊΡΡ. ΠΠΎΡΡΠΎΠΌΡ ΠΎΠ½ Π½Π°ΡΠ΅Π» ΡΠ΅Π±Π΅ ΠΏΡΠΈΠΌΠ΅Π½Π΅Π½ΠΈΠ΅ Π² Π½ΠΎΠ²Π΅ΠΉΡΠΈΡ ΡΠΌΠ°ΡΡΡΠΎΠ½Π°Ρ Samsung.
ΠΡΠ΅Π²ΠΈΠ΄Π½ΠΎ, Π½Π° Π΄Π°Π½Π½ΡΠΉ ΠΌΠΎΠΌΠ΅Π½Ρ ΡΠ°Π·ΠΎΠ²ΡΠΉ Π°Π²ΡΠΎΡΠΎΠΊΡΡ ΡΠ²Π»ΡΠ΅ΡΡΡ Π²Π΅ΡΠ½ΡΠΌ ΡΠ΅ΡΠ΅Π½ΠΈΠ΅ΠΌ Π΄Π»Ρ Π±ΠΎΠ»ΡΡΠΈΠ½ΡΡΠ²Π° ΡΠ»Π°Π³ΠΌΠ°Π½ΠΎΠ², ΠΈ ΠΏΡΠΎΠΈΠ·Π²ΠΎΠ΄ΠΈΡΠ΅Π»ΠΈ Π½Π°ΠΌ Ρ Π²Π°ΠΌΠΈ ΠΏΠΎΡΡΠΎΡΠ½Π½ΠΎ ΡΡΠΎ Π΄ΠΎΠΊΠ°Π·ΡΠ²Π°ΡΡ.
ΠΠΎΠ²ΠΎΡΡΠΈ ΠΏΠΎ ΡΠ΅ΠΌΠ΅
ΠΠ»Ρ ΠΎΡΠΏΡΠ°Π²ΠΊΠΈ ΠΊΠΎΠΌΠΌΠ΅Π½ΡΠ°ΡΠΈΡ Π²Ρ Π΄ΠΎΠ»ΠΆΠ½Ρ ΠΈΠ»ΠΈ
Sony Global — Focus
For full functionality of this site, JavaScript must be enabled.
There are cases where you cannot get the correct information or cannot take advantage of some features without enabling JavaScript.
Π‘Π»Π΅Π΄ΡΡΠΈΠΉ AF
Π€ΡΠ½ΠΊΡΠΈΡ [Π‘Π»Π΅Π΄ΡΡΠΈΠΉ AF] ΠΈΡΠΏΠΎΠ»ΡΠ·ΡΠ΅ΡΡΡ Π΄Π»Ρ Π°Π²ΡΠΎΠΌΠ°ΡΠΈΡΠ΅ΡΠΊΠΎΠ³ΠΎ ΡΠ»Π΅ΠΆΠ΅Π½ΠΈΡ Π·Π° Π΄Π²ΠΈΠΆΡΡΠΈΠΌΠΈΡΡ ΠΎΠ±ΡΠ΅ΠΊΡΠ°ΠΌΠΈ.
ΠΠΊΠ»ΡΡΠ΅Π½ΠΈΠ΅ ΡΡΠ½ΠΊΡΠΈΠΈ [Π‘Π»Π΅Π΄ΡΡΠΈΠΉ AF] Π½Π°ΠΆΠ°ΡΠΈΠ΅ΠΌ ΠΊΠ½ΠΎΠΏΠΊΠΈ Π·Π°ΡΠ²ΠΎΡΠ° Π½Π°ΠΏΠΎΠ»ΠΎΠ²ΠΈΠ½Ρ
ΠΠΊΠ»ΡΡΠΈΡΡ ΡΡΠ½ΠΊΡΠΈΡ [Π‘Π»Π΅Π΄ΡΡΠΈΠΉ AF] Ρ ΠΏΠΎΠΌΠΎΡΡΡ ΠΊΠ½ΠΎΠΏΠΊΠΈ Π·Π°ΡΠ²ΠΎΡΠ° ΠΌΠΎΠΆΠ½ΠΎ ΡΡΠ΅ΠΌΡ ΡΠΏΠΎΡΠΎΠ±Π°ΠΌΠΈ.
- Π ΠΌΠ΅Π½Ρ Π½Π°ΡΡΡΠΎΠ΅ΠΊ: MENU > (ΠΠ°ΡΡΡΠΎΠΉΠΊΠΈ) > [ΠΠ±Π»Π°ΡΡΡ ΡΠΎΠΊΡΡΠΈΡ.] > Π½Π΅ΠΎΠ±Ρ ΠΎΠ΄ΠΈΠΌΠ°Ρ Π½Π°ΡΡΡΠΎΠΉΠΊΠ°
- ΠΠ°ΠΆΠ°ΡΠΈΠ΅ΠΌ ΠΊΠ½ΠΎΠΏΠΊΠΈ Fn (Π€ΡΠ½ΠΊΡΠΈΡ) (Π΅ΡΠ»ΠΈ ΡΡΠ½ΠΊΡΠΈΡ ΡΠΆΠ΅ Π½Π°Π·Π½Π°ΡΠ΅Π½Π° Π΄Π»Ρ ΠΌΠ΅Π½Ρ Fn)
- ΠΠ°ΠΆΠ°ΡΠΈΠ΅ΠΌ ΠΊΠΎΠ½ΡΠ΅ΠΊΡΡΠ½ΠΎΠΉ ΠΊΠ½ΠΎΠΏΠΊΠΈ (Π΅ΡΠ»ΠΈ ΡΡΠ½ΠΊΡΠΈΡ ΡΠΆΠ΅ Π½Π°Π·Π½Π°ΡΠ΅Π½Π° ΠΊΠ½ΠΎΠΏΠΊΠ΅)
ΠΠΎΡΠ»Π΅ Π²ΠΊΠ»ΡΡΠ΅Π½ΠΈΡ ΡΡΠ½ΠΊΡΠΈΠΈ [Π‘Π»Π΅Π΄ΡΡΠΈΠΉ AF] Π½Π΅ΠΎΠ±Ρ
ΠΎΠ΄ΠΈΠΌΠΎ Π²ΡΠ±ΡΠ°ΡΡ ΠΎΠ±Π»Π°ΡΡΡ ΡΠΎΠΊΡΡΠΈΡΠΎΠ²ΠΊΠΈ β [Π¨ΠΈΡΠΎΠΊΠ°Ρ ΠΠ€], [ΠΠΎΠ½Π½Π°Ρ ΡΠΎΠΊΡΡΠΈΡΠΎΠ².], [Π¦Π΅Π½ΡΡ] ΠΈΠ»ΠΈ [Π Π΅Π³. ΠΏΡΡΠ½ΠΎ ΠΠ€],Β β Π² ΠΊΠΎΡΠΎΡΠΎΠΉ ΠΊΠ°ΠΌΠ΅ΡΠ° Π±ΡΠ΄Π΅Ρ ΠΈΠ·Π½Π°ΡΠ°Π»ΡΠ½ΠΎ ΠΈΡΠΊΠ°ΡΡ ΠΎΠ±ΡΠ΅ΠΊΡ. Π ΠΊΠ°ΠΌΠ΅ΡΠ΅ ILCE-7RM2 ΡΠ°ΠΊΠΆΠ΅ ΠΌΠΎΠΆΠ½ΠΎ Π²ΡΠ±ΡΠ°ΡΡ Π½Π°ΡΡΡΠΎΠΉΠΊΡ [Π Π°ΡΡ. ΡΠ΅Π³.ΠΏΡΡΠ½ΠΎ ΠΠ€]. ΠΡΠ»ΠΈ ΠΎΠ±ΡΠ΅ΠΊΡ ΠΈΠΌΠ΅Π΅Ρ ΠΏΡΠΈΠ΅ΠΌΠ»Π΅ΠΌΡΠΉ ΡΠ°Π·ΠΌΠ΅Ρ Π² ΠΊΠ°Π΄ΡΠ΅ ΠΈ Π΄ΠΎΡΡΠ°ΡΠΎΡΠ½ΠΎ ΠΊΠΎΠ½ΡΡΠ°ΡΡΠ½ΠΎ Π²ΡΠ΄Π΅Π»ΡΠ΅ΡΡΡ Π½Π° ΡΠΎΠ½Π΅, ΡΠ΅ΠΊΠΎΠΌΠ΅Π½Π΄ΡΠ΅ΡΡΡ ΠΈΡΠΏΠΎΠ»ΡΠ·ΠΎΠ²Π°ΡΡ Π½Π°ΡΡΡΠΎΠΉΠΊΡ [Π‘Π»Π΅Π΄ΡΡΠΈΠΉ AF: Π¨ΠΈΡΠΎΠΊΠ°Ρ ΠΠ€], ΠΏΠΎΡΠΎΠΌΡ ΡΡΠΎ ΠΎΠ±ΡΠ΅ΠΊΡ ΠΌΠΎΠΆΠ΅Ρ ΠΎΠΊΠ°Π·Π°ΡΡΡΡ Π² Π»ΡΠ±ΠΎΠΌ ΠΌΠ΅ΡΡΠ΅ ΠΊΠ°Π΄ΡΠ°, ΠΊΠΎΠ³Π΄Π° ΠΊΠ°ΠΌΠ΅ΡΠ° Π½Π°ΡΠ½Π΅Ρ ΡΠ»Π΅ΠΆΠ΅Π½ΠΈΠ΅.
Π§ΡΠΎΠ±Ρ Π·Π°ΡΠΈΠΊΡΠΈΡΠΎΠ²Π°ΡΡ ΡΠΎΠΊΡΡ Π½Π° ΠΎΠ±ΡΠ΅ΠΊΡΠ΅ ΠΈ Π½Π°ΡΠ°ΡΡ ΠΎΡΡΠ»Π΅ΠΆΠΈΠ²Π°Π½ΠΈΠ΅, Π½Π°ΠΆΠΌΠΈΡΠ΅ ΠΊΠ½ΠΎΠΏΠΊΡ Π·Π°ΡΠ²ΠΎΡΠ° Π½Π°ΠΏΠΎΠ»ΠΎΠ²ΠΈΠ½Ρ ΠΈ ΡΠ΄Π΅ΡΠΆΠΈΠ²Π°ΠΉΡΠ΅ Π΅Π΅. ΠΠΎΡΠ»Π΅ ΡΠΈΠΊΡΠ°ΡΠΈΠΈ ΡΠΎΠΊΡΡΠ° ΠΊΠ°ΠΌΠ΅ΡΠ° Π±ΡΠ΄Π΅Ρ ΠΎΡΡΠ»Π΅ΠΆΠΈΠ²Π°ΡΡ ΠΎΠ±ΡΠ΅ΠΊΡ, Π΄Π°ΠΆΠ΅ Π΅ΡΠ»ΠΈ ΠΎΠ½ Π²ΡΠΉΠ΄Π΅Ρ Π·Π° ΠΏΡΠ΅Π΄Π΅Π»Ρ Π²ΡΠ±ΡΠ°Π½Π½ΠΎΠΉ ΠΎΠ±Π»Π°ΡΡΠΈ ΡΠΎΠΊΡΡΠΈΡΠΎΠ²ΠΊΠΈ. ΠΠ»Ρ ΠΎΡΡΠ»Π΅ΠΆΠΈΠ²Π°Π½ΠΈΡ ΠΎΠ±ΡΠ΅ΠΊΡΠ° ΠΏΡΠΎΡΡΠΎ Π½Π°ΠΆΠΌΠΈΡΠ΅ ΠΊΠ½ΠΎΠΏΠΊΡ Π·Π°ΡΠ²ΠΎΡΠ° Π½Π°ΠΏΠΎΠ»ΠΎΠ²ΠΈΠ½Ρ, ΠΏΡΠΎΠ²Π΅Π΄ΠΈΡΠ΅ ΠΊΠ°ΠΌΠ΅ΡΡ Π·Π° ΠΎΠ±ΡΠ΅ΠΊΡΠΎΠΌ ΠΈ ΡΠΏΡΡΡΠΈΡΠ΅ Π·Π°ΡΠ²ΠΎΡ. Π§ΡΠΎΠ±Ρ ΠΎΡΠΌΠ΅Π½ΠΈΡΡ ΠΎΡΡΠ»Π΅ΠΆΠΈΠ²Π°Π½ΠΈΠ΅, ΠΎΡΠΏΡΡΡΠΈΡΠ΅ ΠΊΠ½ΠΎΠΏΠΊΡ Π·Π°ΡΠ²ΠΎΡΠ°. ΠΠ°ΠΆΠ΅ ΠΏΠΎΡΠ»Π΅ ΡΠΏΡΡΠΊΠ° Π·Π°ΡΠ²ΠΎΡΠ° ΠΊΠ°ΠΌΠ΅ΡΠ° ΠΏΡΠΎΠ΄ΠΎΠ»ΠΆΠ°Π΅Ρ ΠΎΡΡΠ»Π΅ΠΆΠΈΠ²Π°Π½ΠΈΠ΅ ΠΎΠ±ΡΠ΅ΠΊΡΠ° Π΄ΠΎ ΡΠ΅Ρ ΠΏΠΎΡ, ΠΏΠΎΠΊΠ° Π²Ρ Π±ΡΠ΄Π΅ΡΠ΅ ΡΠ΄Π΅ΡΠΆΠΈΠ²Π°ΡΡ ΠΊΠ½ΠΎΠΏΠΊΡ Π·Π°ΡΠ²ΠΎΡΠ° Π½Π°ΠΆΠ°ΡΠΎΠΉ Π½Π°ΠΏΠΎΠ»ΠΎΠ²ΠΈΠ½Ρ ΠΈ Π½Π΅ ΡΠ±Π΅ΡΠ΅ΡΠ΅ ΠΏΠ°Π»Π΅Ρ.
- ΠΠΊΠ»ΡΡΠ΅Π½ΠΈΠ΅ ΡΡΠ½ΠΊΡΠΈΠΈ [Π‘Π»Π΅Π΄ΡΡΠΈΠΉ AF] Π½Π°ΠΆΠ°ΡΠΈΠ΅ΠΌ ΠΊΠ½ΠΎΠΏΠΊΠΈ Π·Π°ΡΠ²ΠΎΡΠ° Π½Π°ΠΏΠΎΠ»ΠΎΠ²ΠΈΠ½Ρ Π²ΠΎΠ·ΠΌΠΎΠΆΠ½ΠΎ ΡΠΎΠ»ΡΠΊΠΎ Π² ΡΠ΅ΠΆΠΈΠΌΠ΅ AF-C (ΠΠ΅ΠΏΡΠ΅ΡΡΠ²Π½ΡΠΉ AF).
- ΠΡΠ»ΠΈ Π½Π°Π·Π½Π°ΡΠΈΡΡ ΡΡΠ½ΠΊΡΠΈΡ [ΠΠ°ΡΡΡΠΎΠΉΠΊΠΈ ΡΠΎΠΊΡΡΠ°] ΠΊΠΎΠ½ΡΠ΅ΠΊΡΡΠ½ΠΎΠΉ ΠΊΠ½ΠΎΠΏΠΊΠ΅, Ρ Π΅Π΅ ΠΏΠΎΠΌΠΎΡΡΡ ΠΌΠΎΠΆΠ½ΠΎ Π±ΡΡΡΡΠΎ ΠΏΠΎΠ»ΡΡΠΈΡΡ Π΄ΠΎΡΡΡΠΏ ΠΊ Π½Π°ΡΡΡΠΎΠΉΠΊΠ°ΠΌ ΡΠΎΠΊΡΡΠ°.
- Π€ΡΠ½ΠΊΡΠΈΡ [Π‘Π»Π΅Π΄ΡΡΠΈΠΉ AF] ΠΌΠΎΠΆΠ΅Ρ Π½Π΅ ΡΠ°Π±ΠΎΡΠ°ΡΡ, Π΅ΡΠ»ΠΈ Π½Π° ΠΊΠ°ΠΌΠ΅ΡΡ ΡΡΡΠ°Π½ΠΎΠ²Π»Π΅Π½ ΠΎΠ±ΡΠ΅ΠΊΡΠΈΠ² Ρ Π±Π°ΠΉΠΎΠ½Π΅ΡΠΎΠΌ A ΡΠ΅ΡΠ΅Π· ΡΡΡΠ°Π½ΠΎΠ²ΠΎΡΠ½ΡΠΉ Π°Π΄Π°ΠΏΡΠ΅Ρ LA-EA1/LA-EA3.

ΠΠΊΠ»ΡΡΠ΅Π½ΠΈΠ΅ ΡΡΠ½ΠΊΡΠΈΠΈ [Π¦Π΅Π½ΡΡ. ΡΠ»Π΅Π΄ΡΡ. AF] Π½Π°ΠΆΠ°ΡΠΈΠ΅ΠΌ ΡΠ΅Π½ΡΡΠ°Π»ΡΠ½ΠΎΠΉ ΠΊΠ½ΠΎΠΏΠΊΠΈ
ΠΠΊΡΠΈΠ²ΠΈΡΠΎΠ²Π°ΡΡ ΡΡΠ½ΠΊΡΠΈΡ [Π¦Π΅Π½ΡΡ. ΡΠ»Π΅Π΄ΡΡ. AF] ΠΌΠΎΠΆΠ½ΠΎ ΡΡΠ΅ΠΌΡ ΡΠ°Π·Π»ΠΈΡΠ½ΡΠΌΠΈ ΡΠΏΠΎΡΠΎΠ±Π°ΠΌΠΈ.
- Π ΠΌΠ΅Π½Ρ Π½Π°ΡΡΡΠΎΠ΅ΠΊ: MENU > (ΠΠ°ΡΡΡΠΎΠΉΠΊΠΈ) > [Π¦Π΅Π½ΡΡ. ΡΠ»Π΅Π΄ΡΡ. AF] > [ΠΠΊΠ».]
- ΠΠ°ΠΆΠ°ΡΠΈΠ΅ΠΌ ΠΊΠ½ΠΎΠΏΠΊΠΈ Fn (Π€ΡΠ½ΠΊΡΠΈΡ) (Π΅ΡΠ»ΠΈ ΡΡΠ½ΠΊΡΠΈΡ ΡΠΆΠ΅ Π½Π°Π·Π½Π°ΡΠ΅Π½Π° Π΄Π»Ρ ΠΌΠ΅Π½Ρ Fn)
- ΠΠ°ΠΆΠ°ΡΠΈΠ΅ΠΌ ΠΊΠΎΠ½ΡΠ΅ΠΊΡΡΠ½ΠΎΠΉ ΠΊΠ½ΠΎΠΏΠΊΠΈ (Π΅ΡΠ»ΠΈ ΡΡΠ½ΠΊΡΠΈΡ ΡΠΆΠ΅ Π½Π°Π·Π½Π°ΡΠ΅Π½Π° ΠΊΠ½ΠΎΠΏΠΊΠ΅)
ΠΠ»Ρ ΠΈΡΠΏΠΎΠ»ΡΠ·ΠΎΠ²Π°Π½ΠΈΡ ΡΡΠ½ΠΊΡΠΈΠΈ [Π¦Π΅Π½ΡΡ. ΡΠ»Π΅Π΄ΡΡ. AF] Π΅Π΅ Π½Π΅ΠΎΠ±Ρ ΠΎΠ΄ΠΈΠΌΠΎ Π²ΠΊΠ»ΡΡΠ°ΡΡ ΠΊΠ°ΠΆΠ΄ΡΠΉ ΡΠ°Π·. ΠΠ»Ρ Π±ΡΡΡΡΠΎΠ³ΠΎ Π΄ΠΎΡΡΡΠΏΠ° ΠΌΡ ΡΠ΅ΠΊΠΎΠΌΠ΅Π½Π΄ΡΠ΅ΠΌ Π½Π°Π·Π½Π°ΡΠΈΡΡ Π΅Π΅ ΠΊΠΎΠ½ΡΠ΅ΠΊΡΡΠ½ΠΎΠΉ ΠΊΠ½ΠΎΠΏΠΊΠ΅ ΠΈΠ»ΠΈ ΠΊΠ½ΠΎΠΏΠΊΠ΅ Fn. ΠΡΠΈ Π²ΠΊΠ»ΡΡΠ΅Π½ΠΈΠΈ ΡΡΠ½ΠΊΡΠΈΠΈ [Π¦Π΅Π½ΡΡ. ΡΠ»Π΅Π΄ΡΡ. AF] ΠΎΡΠΊΡΡΠ²Π°Π΅ΡΡΡ ΡΠΊΡΠ°Π½ Β«ΠΡΠ±ΠΎΡ ΠΎΠ±ΡΠ΅ΠΊΡΠ°Β». Π‘ΠΎΠ²ΠΌΠ΅ΡΡΠΈΡΠ΅ ΡΠ°ΠΌΠΊΡ ΡΠΎΠΊΡΡΠΈΡΠΎΠ²ΠΊΠΈ Ρ ΠΎΠ±ΡΠ΅ΠΊΡΠΎΠΌ ΠΈ Π½Π°ΠΆΠΌΠΈΡΠ΅ ΡΠ΅Π½ΡΡΠ°Π»ΡΠ½ΡΡ ΠΊΠ½ΠΎΠΏΠΊΡ ΠΊΠΎΠ»Π΅ΡΠΈΠΊΠ° ΡΠΏΡΠ°Π²Π»Π΅Π½ΠΈΡ, ΡΡΠΎΠ±Ρ Π½Π°ΡΠ°ΡΡ ΠΎΡΡΠ»Π΅ΠΆΠΈΠ²Π°Π½ΠΈΠ΅ ΠΎΠ±ΡΠ΅ΠΊΡΠ°. Π¦Π΅Π½ΡΡΠ°Π»ΡΠ½ΡΡ ΠΊΠ½ΠΎΠΏΠΊΡ Π½Π΅ Π½ΡΠΆΠ½ΠΎ ΡΠ΄Π΅ΡΠΆΠΈΠ²Π°ΡΡ Π½Π°ΠΆΠ°ΡΠΎΠΉ. ΠΠ°ΠΌΠ΅ΡΠ° ΠΏΡΠΎΠ΄ΠΎΠ»ΠΆΠ°Π΅Ρ ΠΎΡΡΠ»Π΅ΠΆΠΈΠ²Π°ΡΡ ΠΎΠ±ΡΠ΅ΠΊΡ Π΄Π°ΠΆΠ΅ ΠΏΠΎΡΠ»Π΅ ΡΠΏΡΡΠΊΠ° Π·Π°ΡΠ²ΠΎΡΠ°. Π§ΡΠΎΠ±Ρ ΠΎΡΠΌΠ΅Π½ΠΈΡΡ ΠΎΡΡΠ»Π΅ΠΆΠΈΠ²Π°Π½ΠΈΠ΅, Π²ΡΠΊΠ»ΡΡΠΈΡΠ΅ ΡΡΠ½ΠΊΡΠΈΡ.
ΠΡΠ΅ΠΈΠΌΡΡΠ΅ΡΡΠ²ΠΎ ΡΡΠ½ΠΊΡΠΈΠΈ [Π¦Π΅Π½ΡΡ.
ΡΠ»Π΅Π΄ΡΡ. AF] Π·Π°ΠΊΠ»ΡΡΠ°Π΅ΡΡΡ Π² ΡΠΎΠΌ, ΡΡΠΎ Π΅Π΅ ΠΌΠΎΠΆΠ½ΠΎ ΠΈΡΠΏΠΎΠ»ΡΠ·ΠΎΠ²Π°ΡΡ Π² Π»ΡΠ±ΠΎΠΌ ΡΠ΅ΠΆΠΈΠΌΠ΅ Π°Π²ΡΠΎΡΠΎΠΊΡΡΠΈΡΠΎΠ²ΠΊΠΈ. ΠΡΡΠ»Π΅ΠΆΠΈΠ²Π°Π½ΠΈΠ΅ ΠΎΠ±ΡΠ΅ΠΊΡΠ° ΠΌΠΎΠΆΠ½ΠΎ Π»Π΅Π³ΠΊΠΎ Π½Π°ΡΠ°ΡΡ Π΄Π°ΠΆΠ΅ Π² ΡΠ΅ΠΆΠΈΠΌΠ΅ AF-S (ΠΠΎΠΊΠ°Π΄ΡΠΎΠ²ΡΠΉ AF). ΠΡΠ΅, ΡΡΠΎ Π΄Π»Ρ ΡΡΠΎΠ³ΠΎ Π½ΡΠΆΠ½ΠΎ ΡΠ΄Π΅Π»Π°ΡΡ,Β β Π·Π°ΡΠΈΠΊΡΠΈΡΠΎΠ²Π°ΡΡ ΡΠΎΠΊΡΡ Π½Π° ΠΎΠ±ΡΠ΅ΠΊΡΠ΅, ΠΎΡΠΊΡΡΠ² ΡΠ°Π·Π΄Π΅Π» Β«ΠΡΠ±ΠΎΡ ΠΎΠ±ΡΠ΅ΠΊΡΠ°Β», ΠΈ Π²ΠΊΠ»ΡΡΠΈΡΡ ΡΠΎΠΎΡΠ²Π΅ΡΡΡΠ²ΡΡΡΡΡ ΡΡΠ½ΠΊΡΠΈΡ.
ΠΡΡΡΡΠ°Ρ Π³ΠΈΠ±ΡΠΈΠ΄Π½Π°Ρ Π°Π²ΡΠΎΡΠΎΠΊΡΡΠΈΡΠΎΠ²ΠΊΠ°
ΠΡΡΡΡΠ°Ρ Π³ΠΈΠ±ΡΠΈΠ΄Π½Π°Ρ Π°ΡΡΠΎΡΠΎΠΊΡΡΠΈΡΠΎΠ²ΠΊΠ°Β β ΡΡΠΎ ΡΠΈΡΡΠ΅ΠΌΠ° Π°Π²ΡΠΎΡΠΎΠΊΡΡΠΈΡΠΎΠ²ΠΊΠΈ, ΠΊΠΎΡΠΎΡΠ°Ρ ΡΠΎΡΠ΅ΡΠ°Π΅Ρ Π² ΡΠ΅Π±Π΅ ΡΡΠ°Π΄ΠΈΡΠΈΠΎΠ½Π½ΡΡ ΠΊΠΎΠ½ΡΡΠ°ΡΡΠ½ΡΡ Π°Π²ΡΠΎΡΠΎΠΊΡΡΠΈΡΠΎΠ²ΠΊΡ Ρ ΡΠ°Π·ΠΎΠ²ΠΎΠΉ Π°Π²ΡΠΎΡΠΎΠΊΡΡΠΈΡΠΎΠ²ΠΊΠΎΠΉ Π² ΡΠΎΠΊΠ°Π»ΡΠ½ΠΎΠΉ ΠΏΠ»ΠΎΡΠΊΠΎΡΡΠΈ. Π‘ΠΎΡΠ΅ΡΠ°Π½ΠΈΠ΅ ΠΎΠ±Π΅ΠΈΡ ΡΠ΅Ρ Π½ΠΎΠ»ΠΎΠ³ΠΈΠΉ Π°Π²ΡΠΎΡΠΎΠΊΡΡΠΈΡΠΎΠ²ΠΊΠΈ ΠΏΠΎΠ·Π²ΠΎΠ»ΡΠ΅Ρ Π΄ΠΎΠ±ΠΈΡΡΡΡ Π±ΠΎΠ»Π΅Π΅ Π²ΡΡΠΎΠΊΠΎΠΉ ΡΠΎΡΠ½ΠΎΡΡΠΈ ΠΈ Π±ΡΡΡΡΠΎΠΉ ΡΠ΅Π°ΠΊΡΠΈΠΈ ΠΏΡΠΈ ΠΎΡΡΠ»Π΅ΠΆΠΈΠ²Π°Π½ΠΈΠΈ Π±ΡΡΡΡΠΎΠ΄Π²ΠΈΠΆΡΡΠΈΡ ΡΡ ΠΎΠ±ΡΠ΅ΠΊΡΠΎΠ². ΠΠ°ΠΌΠ΅ΡΠ° ΠΌΠΎΠΆΠ΅Ρ ΠΎΡΡΠ»Π΅ΠΆΠΈΠ²Π°ΡΡ ΠΎΠ±ΡΠ΅ΠΊΡ ΠΈ ΡΠΎΠΊΡΡΠΈΡΠΎΠ²Π°ΡΡΡΡ Π½Π° Π½Π΅ΠΌ Π² ΠΊΠ°ΠΆΠ΄ΠΎΠΌ ΠΊΠ°Π΄ΡΠ΅ Π΄Π°ΠΆΠ΅ Π² ΡΠ΅ΠΆΠΈΠΌΠ΅ [ΠΠ΅ΠΏΡΠ΅ΡΡΠ²Π½. ΡΡΠ΅ΠΌΠΊΠ°: Hi] Π±Π»Π°Π³ΠΎΠ΄Π°ΡΡ Π±ΡΡΡΡΠΎΠΉ Π³ΠΈΠ±ΡΠΈΠ΄Π½ΠΎΠΉ Π°Π²ΡΠΎΡΠΎΠΊΡΡΠΈΡΠΎΠ²ΠΊΠ΅.
Π‘ΡΠ΅ΠΌΠΊΠ° Π΄Π²ΠΈΠΆΡΡΠΈΡ
ΡΡ ΠΎΠ±ΡΠ΅ΠΊΡΠΎΠ²Β β ΡΡΠΎ ΠΎΡΠ½ΠΎΠ²Π½Π°Ρ Π·Π°Π΄Π°ΡΠ° Π»ΡΠ±ΠΎΠΉ ΡΠΈΡΡΠ΅ΠΌΡ Π°Π²ΡΠΎΡΠΎΠΊΡΡΠΈΡΠΎΠ²ΠΊΠΈ. Π ΠΊΠ°ΠΌΠ΅ΡΠ΅ ILCE-7RM2 ΡΠ΄Π°Π»ΠΎΡΡ Π΄ΠΎΡΡΠΈΡΡ Π½Π΅Π²Π΅ΡΠΎΡΡΠ½ΠΎΠ³ΠΎ ΠΏΡΠΎΠ³ΡΠ΅ΡΡΠ°, ΠΏΠΎΡΠΊΠΎΠ»ΡΠΊΡ ΡΡΠΎ ΠΏΠ΅ΡΠ²Π°Ρ ΠΏΠΎΠ»Π½ΠΎΠΊΠ°Π΄ΡΠΎΠ²Π°Ρ ΠΊΠ°ΠΌΠ΅ΡΠ° Sony Ρ ΠΈΠ½ΡΠ΅Π³ΡΠΈΡΠΎΠ²Π°Π½Π½ΠΎΠΉ ΡΠΈΡΡΠ΅ΠΌΠΎΠΉ ΡΠ°Π·ΠΎΠ²ΠΎΠΉ Π°Π²ΡΠΎΡΠΎΠΊΡΡΠΈΡΠΎΠ²ΠΊΠΈ Ρ 399Β Π΄Π°ΡΡΠΈΠΊΠ°ΠΌΠΈ ΠΈ ΡΠΈΡΠΎΠΊΠΈΠΌ ΠΏΠΎΠΊΡΡΡΠΈΠ΅ΠΌ 45%.
ΠΠ»Π°Π³ΠΎΠ΄Π°ΡΡ ΠΏΠΎΠΊΡΡΡΠΈΡ ΠΊΠΎΠ½ΡΡΠ°ΡΡΠ½ΠΎΠΉ ΡΠΈΡΡΠ΅ΠΌΡ Π°Π²ΡΠΎΡΠΎΠΊΡΡΠΈΡΠΎΠ²ΠΊΠΈ ΠΏΡΠΈΠ±Π»ΠΈΠ·ΠΈΡΠ΅Π»ΡΠ½ΠΎ 70% ΠΏΠ»ΠΎΡΠ°Π΄ΠΈ ΡΠΎΠΊΡΡ ΠΌΠΎΠΆΠ½ΠΎ Π½Π°Π²Π΅ΡΡΠΈ ΠΏΡΠ°ΠΊΡΠΈΡΠ΅ΡΠΊΠΈ Π½Π° Π»ΡΠ±ΠΎΠΉ ΠΎΠ±ΡΠ΅ΠΊΡ Π² ΠΊΠ°Π΄ΡΠ΅, ΠΈΡΠΏΠΎΠ»ΡΠ·ΡΡ ΡΠ°Π·Π»ΠΈΡΠ½ΡΠ΅ ΠΏΠ°ΡΠ°ΠΌΠ΅ΡΡΡ ΠΎΠ±Π»Π°ΡΡΠΈ Π°Π²ΡΠΎΡΠΎΠΊΡΡΠΈΡΠΎΠ²ΠΊΠΈ ΠΊΠ°ΠΌΠ΅ΡΡ.
ΠΠ²ΡΠΎΡΠΎΠΊΡΡ Ρ ΠΎΠΏΡΠ΅Π΄Π΅Π»Π΅Π½ΠΈΠ΅ΠΌ ΡΠ°Π·Ρ (399Β ΡΠΎΡΠ΅ΠΊ)
ΠΠ²ΡΠΎΡΠΎΠΊΡΡ Ρ ΠΎΠΏΡΠ΅Π΄Π΅Π»Π΅Π½ΠΈΠ΅ΠΌ ΠΊΠΎΠ½ΡΡΠ°ΡΡΠ½ΠΎΡΡΠΈ (25Β ΡΠΎΡΠ΅ΠΊ)
ΠΠΎΠΏΠΎΠ»Π½ΠΈΡΠ΅Π»ΡΠ½Π°Ρ ΠΈΠ½ΡΠΎΡΠΌΠ°ΡΠΈΡ ΠΎ 399-ΡΠΎΡΠ΅ΡΠ½ΠΎΠΉ ΡΠ°Π·ΠΎΠ²ΠΎΠΉ ΠΈ 25-ΡΠΎΡΠ΅ΡΠ½ΠΎΠΉ ΠΊΠΎΠ½ΡΡΠ°ΡΡΠ½ΠΎΠΉ Π°Π²ΡΠΎΡΠΎΠΊΡΡΠΈΡΠΎΠ²ΠΊΠ΅ ΠΊΠ°ΠΌΠ΅ΡΡ ILCE-7RM2
ILCE-7M2ΠΠ²ΡΠΎΡΠΎΠΊΡΡ Ρ ΠΎΠΏΡΠ΅Π΄Π΅Π»Π΅Π½ΠΈΠ΅ΠΌ ΡΠ°Π·Ρ (117Β ΡΠΎΡΠ΅ΠΊ)
ΠΠ²ΡΠΎΡΠΎΠΊΡΡ Ρ ΠΎΠΏΡΠ΅Π΄Π΅Π»Π΅Π½ΠΈΠ΅ΠΌ ΠΊΠΎΠ½ΡΡΠ°ΡΡΠ½ΠΎΡΡΠΈ (25Β ΡΠΎΡΠ΅ΠΊ)
ΠΠΎΠΏΠΎΠ»Π½ΠΈΡΠ΅Π»ΡΠ½Π°Ρ ΠΈΠ½ΡΠΎΡΠΌΠ°ΡΠΈΡ ΠΎ 117-ΡΠΎΡΠ΅ΡΠ½ΠΎΠΉ ΡΠ°Π·ΠΎΠ²ΠΎΠΉ ΠΈ 25-ΡΠΎΡΠ΅ΡΠ½ΠΎΠΉ ΠΊΠΎΠ½ΡΡΠ°ΡΡΠ½ΠΎΠΉ Π°Π²ΡΠΎΡΠΎΠΊΡΡΠΈΡΠΎΠ²ΠΊΠ΅ ΠΊΠ°ΠΌΠ΅ΡΡ ILCE-7M2
AF ΠΠΊΠ»ΡΡΠ΅Π½
ΠΠ±ΡΡΠ½ΠΎ Π°Π²ΡΠΎΡΠΎΠΊΡΡΠΈΡΠΎΠ²ΠΊΠ° Π²ΠΊΠ»ΡΡΠ°Π΅ΡΡΡ ΠΏΡΠΈ Π½Π°ΠΆΠ°ΡΠΈΠΈ ΠΊΠ½ΠΎΠΏΠΊΠΈ Π·Π°ΡΠ²ΠΎΡΠ° Π½Π°ΠΏΠΎΠ»ΠΎΠ²ΠΈΠ½Ρ, Π° ΠΏΡΠΈ ΠΏΠΎΠ»Π½ΠΎΠΌ Π½Π°ΠΆΠ°ΡΠΈΠΈ ΠΏΡΠΎΠΈΡΡ
ΠΎΠ΄ΠΈΡ ΡΠΏΡΡΠΊ Π·Π°ΡΠ²ΠΎΡΠ° ΠΊΠ°ΠΌΠ΅ΡΡ. Π’Π΅ΠΌ Π½Π΅ ΠΌΠ΅Π½Π΅Π΅ Π² Π½Π΅ΠΊΠΎΡΠΎΡΡΡ
ΡΠΈΡΡΠ°ΡΠΈΡΡ
ΠΌΠΎΠΆΠ½ΠΎ Π΄Π΅Π°ΠΊΡΠΈΠ²ΠΈΡΠΎΠ²Π°ΡΡ Π·Π°ΠΌΠ΅Ρ ΡΠΎΠΊΡΡΠ° ΠΏΡΠΈ Π½Π°ΠΆΠ°ΡΠΈΠΈ ΠΊΠ½ΠΎΠΏΠΊΠΈ Π·Π°ΡΠ²ΠΎΡΠ° ΠΈ Π½Π°Π·Π½Π°ΡΠΈΡΡ ΡΡΠ½ΠΊΡΠΈΡ Π°Π²ΡΠΎΡΠΎΠΊΡΡΠΈΡΠΎΠ²ΠΊΠΈ ΠΊΠΎΠ½ΡΠ΅ΠΊΡΡΠ½ΠΎΠΉ ΠΊΠ½ΠΎΠΏΠΊΠ΅.
ΠΠ΅ΡΠΎΠ΄ Π½Π°ΡΡΡΠΎΠΉΠΊΠΈ
-
Π ΠΌΠ΅Π½Ρ Π²ΡΠ±Π΅ΡΠΈΡΠ΅ [AF Ρ Π·Π°ΡΠ²ΠΎΡΠΎΠΌ] ΠΈ ΠΈΡΠΊΠ»ΡΡΠΈΡΠ΅ Π°ΠΊΡΠΈΠ²Π°ΡΠΈΡ Π°Π²ΡΠΎΡΠΎΠΊΡΡΠΈΡΠΎΠ²ΠΊΠΈ ΠΏΡΠΈ Π½Π°ΠΆΠ°ΡΠΈΠΈ ΠΊΠ½ΠΎΠΏΠΊΠΈ Π·Π°ΡΠ²ΠΎΡΠ°.
MENU > (ΠΠΎΠ»ΡΠ·ΠΎΠ². Π½Π°ΡΡΡΠΎΠΉΠΊΠΈ) > [AF Ρ Π·Π°ΡΠ²ΠΎΡΠΎΠΌ] > [ΠΡΠΊΠ»]
- ΠΠ°ΡΠΈΠ°Π½ΡΡ Π²ΡΠ±ΠΎΡΠ° ΠΏΡΠ½ΠΊΡΠΎΠ² ΠΌΠ΅Π½Ρ
- ΠΠΊΠ».: Π°Π²ΡΠΎΡΠΎΠΊΡΡΠΈΡΠΎΠ²ΠΊΠ° Π²ΠΊΠ»ΡΡΠ°Π΅ΡΡΡ ΠΏΡΠΈ Π½Π°ΠΆΠ°ΡΠΈΠΈ ΠΊΠ½ΠΎΠΏΠΊΠΈ Π·Π°ΡΠ²ΠΎΡΠ° Π½Π°ΠΏΠΎΠ»ΠΎΠ²ΠΈΠ½Ρ.
- ΠΡΠΊΠ».: Π°Π²ΡΠΎΡΠΎΠΊΡΡΠΈΡΠΎΠ²ΠΊΠ° Π½Π΅ Π²ΠΊΠ»ΡΡΠ°Π΅ΡΡΡ Π΄Π°ΠΆΠ΅ ΠΏΡΠΈ Π½Π°ΠΆΠ°ΡΠΈΠΈ ΠΊΠ½ΠΎΠΏΠΊΠΈ Π·Π°ΡΠ²ΠΎΡΠ° Π½Π°ΠΏΠΎΠ»ΠΎΠ²ΠΈΠ½Ρ.
-
ΠΡΠ±Π΅ΡΠΈΡΠ΅ ΠΆΠ΅Π»Π°Π΅ΠΌΡΡ ΠΊΠ½ΠΎΠΏΠΊΡ ΠΈ Π½Π°Π·Π½Π°ΡΡΡΠ΅ Π΅ΠΉ ΡΡΠ½ΠΊΡΠΈΡ Π°Π²ΡΠΎΡΠΎΠΊΡΡΠΈΡΠΎΠ²ΠΊΠΈ.
MENU > (ΠΠΎΠ»ΡΠ·ΠΎΠ². Π½Π°ΡΡΡΠΎΠΉΠΊΠΈ) > [ΠΠ°ΡΠ°ΠΌ. ΠΏΠΎΠ»ΡΠ·. ΠΊΠ»Π°Π².] > ΡΡΠ΅Π±ΡΠ΅ΠΌΠ°Ρ ΠΊΠ½ΠΎΠΏΠΊΠ° > [AF ΠΠΊΠ»ΡΡΠ΅Π½].
-
ΠΠ°ΠΆΠΌΠΈΡΠ΅ ΠΊΠ½ΠΎΠΏΠΊΡ, ΠΊΠΎΡΠΎΡΠΎΠΉ Π²Ρ Π½Π°Π·Π½Π°ΡΠΈΠ»ΠΈ ΡΡΠ½ΠΊΡΠΈΡ [AF ΠΠΊΠ»ΡΡΠ΅Π½], Π²ΠΎ Π²ΡΠ΅ΠΌΡ ΡΡΠ΅ΠΌΠΊΠΈ Ρ Π°Π²ΡΠΎΡΠΎΠΊΡΡΠΈΡΠΎΠ²ΠΊΠΎΠΉ.
ΠΠ½Π°Π»ΠΎΠ³ΠΈΡΠ½ΡΠΌ ΠΎΠ±ΡΠ°Π·ΠΎΠΌ ΠΌΠΎΠΆΠ½ΠΎ Π½Π°Π·Π½Π°ΡΠΈΡΡ ΡΡΠ½ΠΊΡΠΈΡ [AF ΠΠΊΠ»ΡΡΠ΅Π½] ΠΊΠ½ΠΎΠΏΠΊΠ΅ AF/MF.
Π Π·Π°Π²ΠΈΡΠΈΠΌΠΎΡΡΠΈ ΠΎΡ ΡΠ²ΠΎΠΈΡ
ΠΏΡΠ΅Π΄ΠΏΠΎΡΡΠ΅Π½ΠΈΠΉ Π²Ρ ΠΌΠΎΠΆΠ΅ΡΠ΅ Π²ΡΠ±ΡΠ°ΡΡ Π΄ΡΡΠ³ΡΡ ΠΊΠ½ΠΎΠΏΠΊΡ, Π½Π°ΠΏΡΠΈΠΌΠ΅Ρ C3, ΠΊΠΎΡΠΎΡΡΡ ΠΌΠΎΠΆΠ½ΠΎ Π»Π΅Π³ΠΊΠΎ Π΄ΠΎΡΡΠ°ΡΡ Π±ΠΎΠ»ΡΡΠΈΠΌ ΠΏΠ°Π»ΡΡΠ΅ΠΌ, Π΄Π΅ΡΠΆΠ° ΠΊΠ°ΠΌΠ΅ΡΡ.
ΠΡΠΈ ΠΈΡΠΏΠΎΠ»ΡΠ·ΠΎΠ²Π°Π½ΠΈΠΈ ΠΎΠ±ΡΠ΅ΠΊΡΠΈΠ²Π° Ρ ΠΊΠ½ΠΎΠΏΠΊΠΎΠΉ ΡΠ΄Π΅ΡΠΆΠ°Π½ΠΈΡ ΡΠΎΠΊΡΡΠΈΡΠΎΠ²ΠΊΠΈ ΡΡΠ½ΠΊΡΠΈΡ [AF ΠΠΊΠ»ΡΡΠ΅Π½] ΡΠ°ΠΊΠΆΠ΅ ΠΌΠΎΠΆΠ½ΠΎ Π½Π°Π·Π½Π°ΡΠΈΡΡ ΡΡΠΎΠΉ ΠΊΠ½ΠΎΠΏΠΊΠ΅. ΠΡΠΎ ΠΎΠ±Π΅ΡΠΏΠ΅ΡΠΈΠ²Π°Π΅Ρ ΡΠ΄ΠΎΠ±ΡΡΠ²ΠΎ ΠΈΡΠΏΠΎΠ»ΡΠ·ΠΎΠ²Π°Π½ΠΈΡ ΠΈ ΠΏΠΎΠ·Π²ΠΎΠ»ΡΠ΅Ρ Π½Π°Π΄Π΅ΠΆΠ½ΠΎ ΡΠ΄Π΅ΡΠΆΠΈΠ²Π°ΡΡ ΠΊΠ°ΠΌΠ΅ΡΡ, ΠΎΡΠΎΠ±Π΅Π½Π½ΠΎ ΠΏΡΠΈ ΡΡΠ΅ΠΌΠΊΠ΅ Ρ ΡΡΠΊ Ρ ΠΈΡΠΏΠΎΠ»ΡΠ·ΠΎΠ²Π°Π½ΠΈΠ΅ΠΌ ΡΠ΅Π»Π΅ΠΎΠ±ΡΠ΅ΠΊΡΠΈΠ²Π° ΠΈΠ»ΠΈ ΠΌΠ°ΠΊΡΠΎΠΎΠ±ΡΠ΅ΠΊΡΠΈΠ²Π°.
Π€ΡΠ½ΠΊΡΠΈΡ [AF ΠΠΊΠ»ΡΡΠ΅Π½] ΠΌΠΎΠΆΠ½ΠΎ Π½Π°Π·Π½Π°ΡΠΈΡΡ ΡΠ»Π΅Π΄ΡΡΡΠΈΠΌ ΠΊΠ½ΠΎΠΏΠΊΠ°ΠΌ. ΠΡΡ ΡΡΠ½ΠΊΡΠΈΡ ΠΌΠΎΠΆΠ½ΠΎ Π½Π°Π·Π½Π°ΡΠΈΡΡ Π΄Π°ΠΆΠ΅ Π½Π΅ΡΠΊΠΎΠ»ΡΠΊΠΈΠΌ ΠΊΠ½ΠΎΠΏΠΊΠ°ΠΌ.
- AF/MF ΠΈΠ»ΠΈ ΠΊΠ½ΠΎΠΏΠΊΠ° AEL
- ΠΠΎΠ½ΡΠ΅ΠΊΡΡΠ½ΡΠ΅ ΠΊΠ½ΠΎΠΏΠΊΠΈ C1 β C4
- Π¦Π΅Π½ΡΡΠ°Π»ΡΠ½Π°Ρ ΠΊΠ½ΠΎΠΏΠΊΠ°
- ΠΠ½ΠΎΠΏΠΊΠ° ΡΠ΄Π΅ΡΠΆΠ°Π½ΠΈΡ ΡΠΎΠΊΡΡΠΈΡΠΎΠ²ΠΊΠΈ Π½Π° ΠΎΠ±ΡΠ΅ΠΊΡΠΈΠ²Π΅
Π Π°ΡΠΏΠΎΠ·Π½Π°Π²Π°Π½ΠΈΠ΅ Π»ΠΈΡ
Π€ΡΠ½ΠΊΡΠΈΡ Β«Π Π°ΡΠΏΠΎΠ·Π½Π°Π²Π°Π½ΠΈΠ΅ Π»ΠΈΡΒ» ΠΏΠΎΠ·Π²ΠΎΠ»ΡΠ΅Ρ ΠΊΠ°ΠΌΠ΅ΡΠ΅ Π°Π²ΡΠΎΠΌΠ°ΡΠΈΡΠ΅ΡΠΊΠΈ ΡΠ°ΡΠΏΠΎΠ·Π½Π°Π²Π°ΡΡ ΠΎΠ΄Π½ΠΎ ΠΈΠ»ΠΈ Π½Π΅ΡΠΊΠΎΠ»ΡΠΊΠΎ Π»ΠΈΡ ΡΡΠ΅Π΄ΠΈ ΠΎΠ±ΡΠ΅ΠΊΡΠΎΠ² ΡΡΠ΅ΠΌΠΊΠΈ ΠΈ ΡΠΎΠΊΡΡΠΈΡΠΎΠ²Π°ΡΡΡΡ Π½Π° ΡΠΎΠΎΡΠ²Π΅ΡΡΡΠ²ΡΡΡΠ΅ΠΉ ΠΎΠ±Π»Π°ΡΡΠΈ.
ΠΠ΅ΡΠΎΠ΄ Π½Π°ΡΡΡΠΎΠΉΠΊΠΈ
Π€ΡΠ½ΠΊΡΠΈΡ ΡΠ°ΡΠΏΠΎΠ·Π½Π°Π²Π°Π½ΠΈΡ Π»ΠΈΡ ΠΌΠΎΠΆΠ½ΠΎ Π²ΠΊΠ»ΡΡΠΈΡΡ ΡΡΠ΅ΠΌΡ ΡΠΏΠΎΡΠΎΠ±Π°ΠΌΠΈ.
-
Π ΠΌΠ΅Π½Ρ Π½Π°ΡΡΡΠΎΠ΅ΠΊ: MENU > (ΠΠ°ΡΡΡΠΎΠΉΠΊΠΈ) > [Π£Π»ΡΠ±./Π Π°ΡΠΏΠΎΠ·. ΠΠΈΡ] > [ΠΠΊΠ».]
-
ΠΠ°ΠΆΠ°ΡΠΈΠ΅ΠΌ ΠΊΠ½ΠΎΠΏΠΊΠΈ Fn (Π€ΡΠ½ΠΊΡΠΈΡ) (Π΅ΡΠ»ΠΈ ΡΡΠ½ΠΊΡΠΈΡ ΡΠΆΠ΅ Π½Π°Π·Π½Π°ΡΠ΅Π½Π° Π΄Π»Ρ ΠΌΠ΅Π½Ρ Fn)
-
ΠΠ°ΠΆΠ°ΡΠΈΠ΅ΠΌ ΠΊΠΎΠ½ΡΠ΅ΠΊΡΡΠ½ΠΎΠΉ ΠΊΠ½ΠΎΠΏΠΊΠΈ (Π΅ΡΠ»ΠΈ ΡΡΠ½ΠΊΡΠΈΡ ΡΠΆΠ΅ Π½Π°Π·Π½Π°ΡΠ΅Π½Π° ΠΊΠ½ΠΎΠΏΠΊΠ΅)
Π Π°ΠΌΠΊΠ° ΡΠ°ΡΠΏΠΎΠ·Π½Π°Π²Π°Π½ΠΈΡ Π»ΠΈΡΠ°
ΠΠΎΠ³Π΄Π° ΠΊΠ°ΠΌΠ΅ΡΠ° ΠΎΠΏΡΠ΅Π΄Π΅Π»ΡΠ΅Ρ Π»ΠΈΡΠΎ Π² ΠΊΠ°Π΄ΡΠ΅, Π²ΠΎΠΊΡΡΠ³ Π½Π΅Π³ΠΎ ΠΎΡΠΎΠ±ΡΠ°ΠΆΠ°Π΅ΡΡΡ ΡΠ΅ΡΠ°Ρ ΡΠ°ΠΌΠΊΠ° ΡΠ°ΡΠΏΠΎΠ·Π½Π°Π²Π°Π½ΠΈΡ Π»ΠΈΡ. ΠΡΠ»ΠΈ ΠΊΠ°ΠΌΠ΅ΡΠ° ΠΎΠΏΡΠ΅Π΄Π΅Π»ΡΠ΅Ρ, ΡΡΠΎ Π°Π²ΡΠΎΡΠΎΠΊΡΡΠΈΡΠΎΠ²ΠΊΠ° Π²ΠΊΠ»ΡΡΠ΅Π½Π°, ΡΠ°ΠΌΠΊΠ° ΡΠ°ΡΠΏΠΎΠ·Π½Π°Π²Π°Π½ΠΈΡ Π»ΠΈΡΠ° ΠΈΠ·ΠΌΠ΅Π½ΠΈΡ ΡΠ²Π΅Ρ Π½Π° Π±Π΅Π»ΡΠΉ. ΠΡΠΈ Π½Π°ΠΆΠ°ΡΠΈΠΈ ΠΊΠ½ΠΎΠΏΠΊΠΈ Π·Π°ΡΠ²ΠΎΡΠ° Π½Π°ΠΏΠΎΠ»ΠΎΠ²ΠΈΠ½Ρ ΡΠ°ΠΌΠΊΠ° ΡΡΠ°Π½ΠΎΠ²ΠΈΡΡΡ Π·Π΅Π»Π΅Π½ΠΎΠΉ.
ΠΠΎΠΏΠΎΠ»Π½ΠΈΡΠ΅Π»ΡΠ½ΡΠ΅ ΡΡΠ½ΠΊΡΠΈΠΈ
ΠΠΎΠΆΠ½ΠΎ ΡΠΊΠ°Π·Π°ΡΡ ΠΎΠΏΡΠ΅Π΄Π΅Π»Π΅Π½Π½ΡΠ΅ Π»ΠΈΡΠ°, ΠΊΠΎΡΠΎΡΡΠ΅ Π±ΡΠ΄ΡΡ ΠΈΠΌΠ΅ΡΡ Π±ΠΎΠ»Π΅Π΅ Π²ΡΡΠΎΠΊΠΈΠΉ ΠΏΡΠΈΠΎΡΠΈΡΠ΅Ρ Π΄Π»Ρ ΡΠΎΠΊΡΡΠΈΡΠΎΠ²ΠΊΠΈ. ΠΡΠ»ΠΈ Π² ΠΊΠ°Π΄ΡΠ΅ Π±ΠΎΠ»Π΅Π΅ ΠΎΠ΄Π½ΠΎΠ³ΠΎ ΡΠΊΠ°Π·Π°Π½Π½ΠΎΠ³ΠΎ Π»ΠΈΡΠ°, ΠΊΠ°ΠΌΠ΅ΡΠ° Π°Π²ΡΠΎΠΌΠ°ΡΠΈΡΠ΅ΡΠΊΠΈ Π²ΡΠ±ΠΈΡΠ°Π΅Ρ ΠΏΠ΅ΡΠ²ΠΎΠ΅ ΠΏΡΠΈΠΎΡΠΈΡΠ΅ΡΠ½ΠΎΠ΅ Π»ΠΈΡΠΎ.
Π€ΡΠ½ΠΊΡΠΈΡ Smile Shutter ΡΠ°ΡΠΏΠΎΠ·Π½Π°Π΅Ρ ΡΠ»ΡΠ±ΠΊΠΈ Π½Π° Π»ΠΈΡΠ°Ρ
Π»ΡΠ΄Π΅ΠΉ ΠΈ Π°Π²ΡΠΎΠΌΠ°ΡΠΈΡΠ΅ΡΠΊΠΈ ΡΠΏΡΡΠΊΠ°Π΅Ρ Π·Π°ΡΠ²ΠΎΡ.
ΠΠ»Ρ ΡΡΠ½ΠΊΡΠΈΠΈ ΡΠ°ΡΠΏΠΎΠ·Π½Π°Π²Π°Π½ΠΈΡ ΡΠ»ΡΠ±ΠΎΠΊ ΠΌΠΎΠΆΠ½ΠΎ Π²ΡΠ±ΡΠ°ΡΡ ΡΡΠΎΠ²Π΅Π½Ρ ΡΡΠ²ΡΡΠ²ΠΈΡΠ΅Π»ΡΠ½ΠΎΡΡΠΈ ΠΎΡ [ΠΠΊΠ».: ΠΠ΅Π³ΠΊΠ°Ρ ΡΠ»ΡΠ±ΠΊΠ°], [ΠΠΊΠ».: ΠΠ±ΡΡΠ½Π°Ρ ΡΠ»ΡΠ±ΠΊΠ°] Π΄ΠΎ [ΠΠΊΠ».: Π¨ΠΈΡΠΎΠΊΠ°Ρ ΡΠ»ΡΠ±ΠΊΠ°].
AF ΠΏΠΎ Π³Π»Π°Π·Π°ΠΌ
ΠΠ°ΠΌΠ΅ΡΠ° ΡΠΎΠΊΡΡΠΈΡΡΠ΅ΡΡΡ Π½Π° Π³Π»Π°Π·Π°Ρ ΠΎΠ±ΡΠ΅ΠΊΡΠ° ΠΏΡΠΈ ΡΠ΄Π΅ΡΠΆΠ°Π½ΠΈΠΈ ΠΊΠ½ΠΎΠΏΠΊΠΈ Π·Π°ΡΠ²ΠΎΡΠ° Π½Π°ΠΆΠ°ΡΠΎΠΉ. Π§ΡΠΎΠ±Ρ ΠΈΡΠΏΠΎΠ»ΡΠ·ΠΎΠ²Π°ΡΡ ΡΡΡ ΡΡΠ½ΠΊΡΠΈΡ, Π½Π°Π·Π½Π°ΡΡΡΠ΅ Π΅Π΅ ΠΊΠΎΠ½ΡΠ΅ΠΊΡΡΠ½ΠΎΠΉ ΠΊΠ½ΠΎΠΏΠΊΠ΅, ΠΈΡΠΏΠΎΠ»ΡΠ·ΡΡ ΠΏΡΠ½ΠΊΡ ΠΌΠ΅Π½Ρ [ΠΠ°ΡΠ°ΠΌ. ΠΏΠΎΠ»ΡΠ·. ΠΊΠ»Π°Π².].
ΠΠ΅ΡΠΎΠ΄ Π½Π°ΡΡΡΠΎΠΉΠΊΠΈ
-
ΠΡΠ±Π΅ΡΠΈΡΠ΅ MENU > (ΠΠΎΠ»ΡΠ·ΠΎΠ². Π½Π°ΡΡΡΠΎΠΉΠΊΠΈ) > [ΠΠ°ΡΠ°ΠΌ. ΠΏΠΎΠ»ΡΠ·. ΠΊΠ»Π°Π².] > Π½Π°Π·Π½Π°ΡΡΡΠ΅ ΡΡΠ½ΠΊΡΠΈΡ [AF Π½Π° Π³Π»Π°Π·] ΠΆΠ΅Π»Π°Π΅ΠΌΠΎΠΉ ΠΊΠ½ΠΎΠΏΠΊΠ΅.
ΠΡΡ ΡΡΠ½ΠΊΡΠΈΡ ΠΌΠΎΠΆΠ½ΠΎ Π½Π°Π·Π½Π°ΡΠΈΡΡ Π±ΠΎΠ»ΡΡΠΈΠ½ΡΡΠ²Ρ ΠΊΠΎΠ½ΡΠ΅ΠΊΡΡΠ½ΡΡ ΠΊΠ½ΠΎΠΏΠΎΠΊ, ΠΎΠ΄Π½Π°ΠΊΠΎ ΠΌΡ ΡΠ΅ΠΊΠΎΠΌΠ΅Π½Π΄ΡΠ΅ΠΌ ΠΈΡΠΏΠΎΠ»ΡΠ·ΠΎΠ²Π°ΡΡ ΠΊΠ½ΠΎΠΏΠΊΡ, ΠΊΠΎΡΠΎΡΡΡ Π²Ρ ΠΌΠΎΠΆΠ΅ΡΠ΅ Π»Π΅Π³ΠΊΠΎ Π΄ΠΎΡΡΠ°ΡΡ ΠΏΡΠ°Π²ΡΠΌ Π±ΠΎΠ»ΡΡΠΈΠΌ ΠΏΠ°Π»ΡΡΠ΅ΠΌ ΠΏΡΠΈ Π½Π°ΠΆΠ°ΡΠΈΠΈ ΠΊΠ½ΠΎΠΏΠΊΠΈ Π·Π°ΡΠ²ΠΎΡΠ°. ΠΠΎΠ»ΡΡΠΈΠ½ΡΡΠ²ΠΎ ΡΠΎΡΠΎΠ³ΡΠ°ΡΠΎΠ² Π΄Π»Ρ ΡΡΠΎΠ³ΠΎ ΠΈΡΠΏΠΎΠ»ΡΠ·ΡΡΡ ΠΊΠ½ΠΎΠΏΠΊΡ AF/MF, C3 ΠΈΠ»ΠΈ ΡΠ΅Π½ΡΡΠ°Π»ΡΠ½ΡΡ ΠΊΠ½ΠΎΠΏΠΊΡ.
ΠΡΠΈ ΠΈΡΠΏΠΎΠ»ΡΠ·ΠΎΠ²Π°Π½ΠΈΠΈ ΠΎΠ±ΡΠ΅ΠΊΡΠΈΠ²Π° Ρ ΠΊΠ½ΠΎΠΏΠΊΠΎΠΉ ΡΠ΄Π΅ΡΠΆΠ°Π½ΠΈΡ ΡΠΎΠΊΡΡΠΈΡΠΎΠ²ΠΊΠΈ ΡΡΠ½ΠΊΡΠΈΡ [AF Π½Π° Π³Π»Π°Π·] ΠΌΠΎΠΆΠ½ΠΎ ΡΠ°ΠΊΠΆΠ΅ Π½Π°Π·Π½Π°ΡΠΈΡΡ ΡΡΠΎΠΉ ΠΊΠ½ΠΎΠΏΠΊΠ΅.
ΠΡΠΎ ΡΠ΄ΠΎΠ±Π½ΠΎ ΠΏΡΠΈ ΡΠ΄Π΅ΡΠΆΠ°Π½ΠΈΠΈ ΡΠ²Π΅ΡΠΎΡΠΈΠ»ΡΠ½ΠΎΠ³ΠΎ ΠΎΠ±ΡΠ΅ΠΊΡΠΈΠ²Π°, ΠΏΠΎΡΠΊΠΎΠ»ΡΠΊΡ ΠΊΠ½ΠΎΠΏΠΊΡ ΡΠ΄Π΅ΡΠΆΠ°Π½ΠΈΡ ΡΠΎΠΊΡΡΠΈΡΠΎΠ²ΠΊΠΈ Π»Π΅Π³ΡΠ΅ Π΄ΠΎΡΡΠ°ΡΡ, Π½Π΅ ΡΠ±ΠΈΡΠ°Ρ Π±ΠΎΠ»ΡΡΠΎΠΉ ΠΏΠ°Π»Π΅Ρ Ρ ΡΡΠΊΠΎΡΡΠΊΠΈ ΠΊΠ°ΠΌΠ΅ΡΡ. -
ΠΠ°Π²Π΅Π΄ΠΈΡΠ΅ ΠΊΠ°ΠΌΠ΅ΡΡ Π½Π° Π»ΠΈΡΠΎ ΡΠ΅Π»ΠΎΠ²Π΅ΠΊΠ°, Π½Π°ΠΆΠΌΠΈΡΠ΅ ΠΈ ΡΠ΄Π΅ΡΠΆΠΈΠ²Π°ΠΉΡΠ΅ ΠΊΠ½ΠΎΠΏΠΊΡ, ΠΊΠΎΡΠΎΡΠΎΠΉ Π½Π°Π·Π½Π°ΡΠ΅Π½Π° ΡΡΠ½ΠΊΡΠΈΡ [AF Π½Π° Π³Π»Π°Π·].
-
Π£Π΄Π΅ΡΠΆΠΈΠ²Π°Ρ ΡΡΡ ΠΊΠ½ΠΎΠΏΠΊΡ, Π½Π°ΠΆΠΌΠΈΡΠ΅ ΠΊΠ½ΠΎΠΏΠΊΡ Π·Π°ΡΠ²ΠΎΡΠ°.
ΠΠ±Π»Π°ΡΡΡ ΡΠΎΠΊΡΡΠΈΡΠΎΠ²ΠΊΠΈ
ΠΠ°ΡΡΡΠΎΠΉΠΊΠ° ΠΎΠ±Π»Π°ΡΡΠΈ ΡΠΎΠΊΡΡΠΈΡΠΎΠ²ΠΊΠΈ
ΠΠ±Π»Π°ΡΡΡ ΡΠΎΠΊΡΡΠΈΡΠΎΠ²ΠΊΠΈ ΠΌΠΎΠΆΠ½ΠΎ Π½Π°ΡΡΡΠΎΠΈΡΡ Ρ ΠΏΠΎΠΌΠΎΡΡΡ ΠΏΡΠ½ΠΊΡΠ° ΠΌΠ΅Π½Ρ [ΠΠ±Π»Π°ΡΡΡ ΡΠΎΠΊΡΡΠΈΡ.]. ΠΡΠ° ΡΡΠ½ΠΊΡΠΈΡ ΠΈΡΠΏΠΎΠ»ΡΠ·ΡΠ΅ΡΡΡ, Π΅ΡΠ»ΠΈ Π² ΡΠ΅ΠΆΠΈΠΌΠ΅ Π°Π²ΡΠΎΡΠΎΠΊΡΡΠΈΡΠΎΠ²ΠΊΠΈ Π½Π΅ ΡΠ΄Π°Π΅ΡΡΡ Π΄ΠΎΡΡΠΈΡΡ Ρ ΠΎΡΠΎΡΠ΅ΠΉ ΡΠ΅Π·ΠΊΠΎΡΡΠΈ. ΠΠ½Π° ΠΏΡΠΈΠΌΠ΅Π½ΡΠ΅ΡΡΡ ΠΊΠ°ΠΊ ΠΏΡΠΈ ΡΡΠ΅ΠΌΠΊΠ΅ ΡΠΎΡΠΎΠ³ΡΠ°ΡΠΈΠΉ, ΡΠ°ΠΊ ΠΈ Π²ΠΈΠ΄Π΅ΠΎ.
ΠΠ΅ΡΠΎΠ΄ Π½Π°ΡΡΡΠΎΠΉΠΊΠΈ
Π€ΡΠ½ΠΊΡΠΈΡ [ΠΠ±Π»Π°ΡΡΡ ΡΠΎΠΊΡΡΠΈΡ.] ΠΌΠΎΠΆΠ½ΠΎ Π½Π°ΡΡΡΠΎΠΈΡΡ ΡΡΠ΅ΠΌΡ ΡΠΏΠΎΡΠΎΠ±Π°ΠΌΠΈ.
- Π ΠΌΠ΅Π½Ρ Π½Π°ΡΡΡΠΎΠ΅ΠΊ: MENU > (ΠΠ°ΡΡΡΠΎΠΉΠΊΠΈ) > [ΠΠ±Π»Π°ΡΡΡ ΡΠΎΠΊΡΡΠΈΡ.] > Π½Π΅ΠΎΠ±Ρ ΠΎΠ΄ΠΈΠΌΠ°Ρ Π½Π°ΡΡΡΠΎΠΉΠΊΠ°
- ΠΠ°ΠΆΠ°ΡΠΈΠ΅ΠΌ ΠΊΠ½ΠΎΠΏΠΊΠΈ Fn (Π€ΡΠ½ΠΊΡΠΈΡ) (Π΅ΡΠ»ΠΈ ΡΡΠ½ΠΊΡΠΈΡ ΡΠΆΠ΅ Π½Π°Π·Π½Π°ΡΠ΅Π½Π° Π΄Π»Ρ ΠΌΠ΅Π½Ρ Fn)
- ΠΠ°ΠΆΠ°ΡΠΈΠ΅ΠΌ ΠΊΠΎΠ½ΡΠ΅ΠΊΡΡΠ½ΠΎΠΉ ΠΊΠ½ΠΎΠΏΠΊΠΈ (Π΅ΡΠ»ΠΈ ΡΡΠ½ΠΊΡΠΈΡ ΡΠΆΠ΅ Π½Π°Π·Π½Π°ΡΠ΅Π½Π° ΠΊΠ½ΠΎΠΏΠΊΠ΅)
Π¨ΠΈΡΠΎΠΊΠ°Ρ ΠΠ€
ΠΠ²ΡΠΎΠΌΠ°ΡΠΈΡΠ΅ΡΠΊΠΈ ΡΠΎΠΊΡΡΠΈΡΡΠ΅ΡΡΡ Π½Π° ΠΎΠ±ΡΠ΅ΠΊΡΠ΅ ΡΡΠ΅ΠΌΠΊΠΈ Π² Π»ΡΠ±ΠΎΠΉ ΠΎΠ±Π»Π°ΡΡΠΈ ΠΈΠ·ΠΎΠ±ΡΠ°ΠΆΠ΅Π½ΠΈΡ.
ΠΠΎΠ½Π½Π°Ρ ΡΠΎΠΊΡΡΠΈΡΠΎΠ²ΠΊΠ°
ΠΡΠ±Π΅ΡΠΈΡΠ΅ Π·ΠΎΠ½Ρ Π΄Π»Ρ ΡΠΎΠΊΡΡΠΈΡΠΎΠ²ΠΊΠΈ Π½Π° ΠΌΠΎΠ½ΠΈΡΠΎΡΠ΅ ΠΊΠ°ΠΌΠ΅ΡΡ. ΠΠΎΠ½Π° ΡΠΎΠ΄Π΅ΡΠΆΠΈΡ Π΄Π΅Π²ΡΡΡ ΠΎΠ±Π»Π°ΡΡΠ΅ΠΉ ΡΠΎΠΊΡΡΠΈΡΠΎΠ²ΠΊΠΈ, ΠΈ ΠΊΠ°ΠΌΠ΅ΡΠ° Π°Π²ΡΠΎΠΌΠ°ΡΠΈΡΠ΅ΡΠΊΠΈ Π²ΡΠ±ΠΈΡΠ°Π΅Ρ ΠΎΠ±Π»Π°ΡΡΡ Π΄Π»Ρ ΡΠΎΠΊΡΡΠΈΡΠΎΠ²ΠΊΠΈ. ΠΡΠ° Π½Π°ΡΡΡΠΎΠΉΠΊΠ° ΡΠ°Π±ΠΎΡΠ°Π΅Ρ Π°Π½Π°Π»ΠΎΠ³ΠΈΡΠ½ΠΎ Π½Π°ΡΡΡΠΎΠΉΠΊΠ΅ [Π¨ΠΈΡΠΎΠΊΠ°Ρ ΠΠ€] Π² ΠΎΠ³ΡΠ°Π½ΠΈΡΠ΅Π½Π½ΠΎΠΉ ΠΎΠ±Π»Π°ΡΡΠΈ Π°Π²ΡΠΎΡΠΎΠΊΡΡΠΈΡΠΎΠ²ΠΊΠΈ, ΠΊΠΎΡΠΎΡΠ°Ρ ΠΌΠΎΠΆΠ΅Ρ ΠΏΠ΅ΡΠ΅ΠΌΠ΅ΡΠ°ΡΡΡΡ ΠΏΠΎ Π²ΡΠ΅ΠΉ ΠΏΠ»ΠΎΡΠ°Π΄ΠΈ ΠΊΠ°Π΄ΡΠ°.
Π¦Π΅Π½ΡΡΠ°Π»ΡΠ½ΡΠΉ
ΠΡΠΏΠΎΠ»Π½ΡΠ΅ΡΡΡ Π°Π²ΡΠΎΠΌΠ°ΡΠΈΡΠ΅ΡΠΊΠ°Ρ ΡΠΎΠΊΡΡΠΈΡΠΎΠ²ΠΊΠ° Π½Π° ΠΎΠ±ΡΠ΅ΠΊΡ Π² ΡΠ΅Π½ΡΡΠ΅ ΠΈΠ·ΠΎΠ±ΡΠ°ΠΆΠ΅Π½ΠΈΡ. ΠΡΠΈ ΠΈΡΠΏΠΎΠ»ΡΠ·ΠΎΠ²Π°Π½ΠΈΠΈ Π²ΠΌΠ΅ΡΡΠ΅ Ρ ΡΡΠ½ΠΊΡΠΈΠ΅ΠΉ Π±Π»ΠΎΠΊΠΈΡΠΎΠ²ΠΊΠΈ AF ΠΏΠΎΠ·Π²ΠΎΠ»ΡΠ΅Ρ ΡΠΎΠ·Π΄Π°Π²Π°ΡΡ ΠΈΠ·ΠΎΠ±ΡΠ°ΠΆΠ΅Π½ΠΈΡ Ρ Π»ΡΠ±ΠΎΠΉ ΠΊΠΎΠΌΠΏΠΎΠ½ΠΎΠ²ΠΊΠΎΠΉ.
ΠΠΎΠ»Π΅ ΠΎΠ±Π½Π°ΡΡΠΆΠ΅Π½ΠΈΡ Π°Π²ΡΠΎΡΠΎΠΊΡΡΠ° ΠΈΠΌΠ΅Π΅Ρ ΡΠ°ΠΊΠΎΠΉ ΠΆΠ΅ ΡΠ°Π·ΠΌΠ΅Ρ, ΠΊΠ°ΠΊ ΠΈ ΠΏΡΠΈ ΠΈΡΠΏΠΎΠ»ΡΠ·ΠΎΠ²Π°Π½ΠΈΠΈ ΡΡΠ½ΠΊΡΠΈΠΈ [Π Π΅Π³. ΠΏΡΡΠ½ΠΎ ΠΠ€] Ρ ΡΠ°ΡΠΏΠΎΠ»ΠΎΠΆΠ΅Π½ΠΈΠ΅ΠΌ Π² ΡΠ΅Π½ΡΡΠ΅ ΠΈ ΡΠ°Π·ΠΌΠ΅ΡΠΎΠΌ ΡΠΎΡΠΊΠΈ [L].
Π Π΅Π³. ΠΏΡΡΠ½ΠΎ ΠΠ€
Π€ΡΠ½ΠΊΡΠΈΡ [Π Π΅Π³. ΠΏΡΡΠ½ΠΎ ΠΠ€] ΠΏΠΎΠ·Π²ΠΎΠ»ΡΠ΅Ρ ΠΏΠ΅ΡΠ΅ΠΌΠ΅ΡΠ°ΡΡ ΡΠ°ΠΌΠΊΡ ΡΠΎΠΊΡΡΠΈΡΠΎΠ²ΠΊΠΈ Π² Π½Π΅ΠΎΠ±Ρ ΠΎΠ΄ΠΈΠΌΡΡ ΡΠΎΡΠΊΡ Π½Π° ΡΠΊΡΠ°Π½Π΅ ΠΈ ΡΠΎΠΊΡΡΠΈΡΠΎΠ²Π°ΡΡΡΡ Π½Π° ΠΎΡΠ΅Π½Ρ ΠΌΠ°Π»Π΅Π½ΡΠΊΠΈΡ ΠΎΠ±ΡΠ΅ΠΊΡΠ°Ρ Π² ΡΠ·ΠΊΠΎΠΉ ΠΎΠ±Π»Π°ΡΡΠΈ ΠΈΠ·ΠΎΠ±ΡΠ°ΠΆΠ΅Π½ΠΈΡ.
Π Π°Π·ΠΌΠ΅Ρ ΡΠ°ΠΌΠΊΠΈ ΡΠΎΠΊΡΡΠΈΡΠΎΠ²ΠΊΠΈ ΠΌΠΎΠΆΠ½ΠΎ ΠΈΠ·ΠΌΠ΅Π½ΠΈΡΡ Π½Π° ΡΠΊΡΠ°Π½Π΅ [Π Π΅Π³. ΠΏΡΡΠ½ΠΎ ΠΠ€] Π²ΠΎ Π²ΡΠ΅ΠΌΡ ΡΡΠ΅ΠΌΠΊΠΈ, ΠΏΠΎΠ²ΠΎΡΠ°ΡΠΈΠ²Π°Ρ ΠΊΠΎΠ»Π΅ΡΠΈΠΊΠΎ ΡΠΏΡΠ°Π²Π»Π΅Π½ΠΈΡ.
Π Π°ΡΡ.
ΠΡΠ΅ ΠΎΠ΄ΠΈΠ½ ΠΏΠ°ΡΠ°ΠΌΠ΅ΡΡ Π΄Π»Ρ Π½Π°ΡΡΡΠΎΠΉΠΊΠΈ ΠΎΠ±Π»Π°ΡΡΠΈ ΡΠΎΠΊΡΡΠΈΡΠΎΠ²ΠΊΠΈΒ β [Π Π°ΡΡ. ΡΠ΅Π³.ΠΏΡΡΠ½ΠΎ ΠΠ€].
ΠΠ½ ΡΠ°Π±ΠΎΡΠ°Π΅Ρ Π°Π½Π°Π»ΠΎΠ³ΠΈΡΠ½ΠΎ Π½Π°ΡΡΡΠΎΠΉΠΊΠ΅ [Π Π΅Π³. ΠΏΡΡΠ½ΠΎ ΠΠ€] Ρ ΡΠ°Π·ΠΌΠ΅ΡΠΎΠΌ [S]. ΠΡΠΈ ΡΡΠΎΠΌ ΠΈΠΌΠ΅Π΅Ρ ΡΠ°ΠΊ Π½Π°Π·ΡΠ²Π°Π΅ΠΌΡΡ ΡΠ΅ΡΠΊΡ Π±Π΅Π·ΠΎΠΏΠ°ΡΠ½ΠΎΡΡΠΈ, ΠΊΠΎΡΠΎΡΠ°Ρ ΠΏΠΎΠ·Π²ΠΎΠ»ΡΠ΅Ρ ΠΈΠ·Π±Π΅ΠΆΠ°ΡΡ ΠΏΠΎΡΠ΅ΡΠΈ ΡΠΎΠΊΡΡΠ° ΠΈΠ·-Π·Π° ΡΠ»ΠΈΡΠΊΠΎΠΌ ΠΌΠ°Π»Π΅Π½ΡΠΊΠΎΠ³ΠΎ ΡΠ°Π·ΠΌΠ΅ΡΠ° ΡΠΎΡΠΊΠΈ ΡΠΎΠΊΡΡΠΈΡΠΎΠ²ΠΊΠΈ.
ΠΡΠ»ΠΈ ΠΊΠ°ΠΌΠ΅ΡΠ° Π½Π΅ ΠΌΠΎΠΆΠ΅Ρ Π²ΡΠΏΠΎΠ»Π½ΠΈΡΡ ΡΠΎΠΊΡΡΠΈΡΠΎΠ²ΠΊΡ ΠΏΠΎ ΠΎΠ΄Π½ΠΎΠΉ Π²ΡΠ±ΡΠ°Π½Π½ΠΎΠΉ ΡΠΎΡΠΊΠ΅, Π΄Π»Ρ Π΄ΠΎΡΡΠΈΠΆΠ΅Π½ΠΈΡ ΡΠΎΠΊΡΡΠΈΡΠΎΠ²ΠΊΠΈ Π² ΠΊΠ°ΡΠ΅ΡΡΠ²Π΅ Π²ΡΠΎΡΠΎΡΡΠ΅ΠΏΠ΅Π½Π½ΠΎΠΉ ΠΎΠ±Π»Π°ΡΡΠΈ ΠΈΡΠΏΠΎΠ»ΡΠ·ΡΡΡΡΡ ΡΠΎΡΠΊΠΈ ΡΠΎΠΊΡΡΠΈΡΠΎΠ²ΠΊΠΈ Π²ΠΎΠΊΡΡΠ³ ΡΠ΅Π³ΡΠ»ΠΈΡΡΠ΅ΠΌΠΎΠ³ΠΎ ΠΏΡΡΠ½Π° ΠΠ€.
ΠΡΠΈΠΌΠ΅ΡΠ°Π½ΠΈΡ ΠΊ Π½Π°ΡΡΡΠΎΠΉΠΊΠ΅ ΠΎΠ±Π»Π°ΡΡΠΈ ΡΠΎΠΊΡΡΠΈΡΠΎΠ²ΠΊΠΈ
- ΠΠΎΠΆΠ½ΠΎ Π²ΡΠ±ΡΠ°ΡΡ ΡΠ°Π·ΠΌΠ΅Ρ ΠΎΠ±Π»Π°ΡΡΠΈ [Π Π΅Π³. ΠΏΡΡΠ½ΠΎ ΠΠ€]: [S], [M] ΠΈΠ»ΠΈ [L]. Π Π°Π·ΠΌΠ΅Ρ [S] ΠΈΡΠΏΠΎΠ»ΡΠ·ΡΠ΅ΡΡΡ Π΄Π»Ρ ΡΡΠ΅ΠΌΠΊΠΈ Ρ ΡΠΎΡΠ½ΠΎΠΉ Π½Π°Π²ΠΎΠ΄ΠΊΠΎΠΉ ΡΠΎΠΊΡΡΠ° Π½Π° ΡΠΎΡΠΊΡ. ΠΠ΄Π½Π°ΠΊΠΎ Π΅ΡΠ»ΠΈ ΠΏΡΠΈ ΠΈΡΠΏΠΎΠ»ΡΠ·ΠΎΠ²Π°Π½ΠΈΠΈ ΠΏΡΡΠ½Π° ΡΠ°Π·ΠΌΠ΅ΡΠΎΠΌ [S] ΠΊΠ°ΠΌΠ΅ΡΠ° Π½Π΅ ΠΌΠΎΠΆΠ΅Ρ ΠΎΠ±Π½Π°ΡΡΠΆΠΈΡΡ ΠΊΠΎΠ½ΡΡΠ°ΡΡΠ½ΠΎΡΡΡ Π² Π½Π΅Π±ΠΎΠ»ΡΡΠΎΠΉ ΠΎΠ±Π»Π°ΡΡΠΈ ΠΏΡΡΠ½Π°, ΠΌΠΎΠ³ΡΡ Π²ΠΎΠ·Π½ΠΈΠΊΠ½ΡΡΡ ΡΡΡΠ΄Π½ΠΎΡΡΠΈ Ρ ΡΠΎΠΊΡΡΠΈΡΠΎΠ²ΠΊΠΎΠΉ Π½Π° ΠΎΠ±ΡΠ΅ΠΊΡΠ΅. Π ΡΡΠΎΠΌ ΡΠ»ΡΡΠ°Π΅ ΡΠ΅ΡΠΈΡΡ ΠΏΡΠΎΠ±Π»Π΅ΠΌΡ ΠΌΠΎΠΆΠ΅Ρ ΠΈΡΠΏΠΎΠ»ΡΠ·ΠΎΠ²Π°Π½ΠΈΠ΅ ΠΏΡΡΠ½Π° Π±ΠΎΠ»ΡΡΠ΅Π³ΠΎ ΡΠ°Π·ΠΌΠ΅ΡΠ° ΠΈΠ»ΠΈ Π½Π°ΡΡΡΠΎΠΉΠΊΠΈ [Π Π°ΡΡ. ΡΠ΅Π³.ΠΏΡΡΠ½ΠΎ ΠΠ€].

- ΠΡΡΡΡΠΎ ΠΏΠ΅ΡΠ΅ΠΌΠ΅ΡΡΠΈΡΡ ΠΎΠ±Π»Π°ΡΡΡ [Π Π΅Π³. ΠΏΡΡΠ½ΠΎ ΠΠ€] ΠΈΠ»ΠΈ [ΠΠΎΠ½Π½Π°Ρ ΡΠΎΠΊΡΡΠΈΡΠΎΠ²ΠΊΠ°] ΠΌΠΎΠΆΠ½ΠΎ Ρ ΠΏΠΎΠΌΠΎΡΡΡ ΡΡΠ½ΠΊΡΠΈΠΈ [ΠΠ°ΡΡΡΠΎΠΉΠΊΠΈ ΡΠΎΠΊΡΡΠ°]. ΠΡΠ±Π΅ΡΠΈΡΠ΅ ΠΎΠ±Π»Π°ΡΡΡ ΡΠΎΠΊΡΡΠΈΡΠΎΠ²ΠΊΠΈ, ΠΏΠΎΠ²ΠΎΡΠ°ΡΠΈΠ²Π°Ρ ΠΊΠΎΠ»Π΅ΡΠΈΠΊΠΎ ΡΠΏΡΠ°Π²Π»Π΅Π½ΠΈΡ, Π·Π°ΡΠ΅ΠΌ ΠΏΠΎΠ²Π΅ΡΠ½ΠΈΡΠ΅ ΠΏΠ΅ΡΠ΅Π΄Π½ΠΈΠΉ/Π·Π°Π΄Π½ΠΈΠΉ Π΄ΠΈΡΠΊ ΠΈΠ»ΠΈ Π½Π°ΠΆΠΌΠΈΡΠ΅ ΠΊΠΎΠ»Π΅ΡΠΈΠΊΠΎ ΡΠΏΡΠ°Π²Π»Π΅Π½ΠΈΡ Π²Π²Π΅ΡΡ /Π²Π½ΠΈΠ·/Π²Π»Π΅Π²ΠΎ/Π²ΠΏΡΠ°Π²ΠΎ.
- ΠΠ°ΡΡΡΠΎΠΉΠΊΠ° ΠΎΠ±Π»Π°ΡΡΠΈ Π°Π²ΡΠΎΡΠΎΠΊΡΡΠΈΡΠΎΠ²ΠΊΠΈ Π½Π΅Π΄ΠΎΡΡΡΠΏΠ½Π° ΠΏΡΠΈ ΠΈΡΠΏΠΎΠ»ΡΠ·ΠΎΠ²Π°Π½ΠΈΠΈ Π½Π°ΡΡΡΠΎΠ΅ΠΊ [Π¦ΠΈΡΡΠΎΠ². ΡΠ²Π΅Π»ΠΈΡ.] ΠΈΠ»ΠΈ [Π£Π²Π΅Π». ΡΠ΅ΡΠΊ. ΠΈΠ·ΠΎΠ±Ρ.].
ΠΡΠΏΠΎΠ»ΡΠ·ΠΎΠ²Π°Π½ΠΈΠ΅ ΡΠ΅Π½ΡΠΎΡΠ½ΠΎΠΉ Π°Π²ΡΠΎΡΠΎΠΊΡΡΠΈΡΠΎΠ²ΠΊΠΈ Π½Π° ΠΌΠΎΠ±ΠΈΠ»ΡΠ½ΡΡ ΡΡΡΡΠΎΠΉΡΡΠ²Π°Ρ Β β PlayMemories Camera Apps
ΠΡΠΈ ΠΈΡΠΏΠΎΠ»ΡΠ·ΠΎΠ²Π°Π½ΠΈΠΈ ΡΡΠ½ΠΊΡΠΈΠΈ Β«ΠΠ½ΡΠ΅Π»Π»Π΅ΠΊΡΡΠ°Π»ΡΠ½ΠΎΠ΅ Π΄ΠΈΡΡΠ°Π½ΡΠΈΠΎΠ½Π½ΠΎΠ΅ ΡΠΏΡΠ°Π²Π»Π΅Π½ΠΈΠ΅Β» ΠΏΡΠΈΠ»ΠΎΠΆΠ΅Π½ΠΈΡ PlayMemories Camera Apps ΠΈ ΠΌΠΎΠ±ΠΈΠ»ΡΠ½ΠΎΠ³ΠΎ ΡΡΡΡΠΎΠΉΡΡΠ²Π° ΡΠ΅Π³ΡΠ»ΠΈΡΡΠ΅ΠΌΠΎΠ΅ ΠΏΡΡΠ½ΠΎ ΠΠ€ ΠΌΠΎΠΆΠ½ΠΎ ΠΏΠ΅ΡΠ΅ΠΌΠ΅ΡΠ°ΡΡ Ρ ΠΏΠΎΠΌΠΎΡΡΡ ΡΠ΅Π½ΡΠΎΡΠ½ΠΎΠ³ΠΎ ΡΠΏΡΠ°Π²Π»Π΅Π½ΠΈΡ.
- ΠΠ»Ρ ΡΡΠΎΠ³ΠΎ Π½Π° ΠΊΠ°ΠΌΠ΅ΡΠ΅ Π΄ΠΎΠ»ΠΆΠ½Π° Π±ΡΡΡ ΡΡΡΠ°Π½ΠΎΠ²Π»Π΅Π½Π° ΡΡΠ½ΠΊΡΠΈΡ Β«ΠΠ½ΡΠ΅Π»Π»Π΅ΠΊΡΡΠ°Π»ΡΠ½ΠΎΠ΅ Π΄ΠΈΡΡΠ°Π½ΡΠΈΠΎΠ½Π½ΠΎΠ΅ ΡΠΏΡΠ°Π²Π»Π΅Π½ΠΈΠ΅Β» ΠΏΡΠΈΠ»ΠΎΠΆΠ΅Π½ΠΈΡ PlayMemories Camera Apps. ΠΡΡΡΠΎΠ΅Π½Π½ΡΠΉ ΡΠ΅ΠΆΠΈΠΌ ΠΈΠ½ΡΠ΅Π»Π»Π΅ΠΊΡΡΠ°Π»ΡΠ½ΠΎΠ³ΠΎ Π΄ΠΈΡΡΠ°Π½ΡΠΈΠΎΠ½Π½ΠΎΠ³ΠΎ ΡΠΏΡΠ°Π²Π»Π΅Π½ΠΈΡ (Smart Remote Embedded) Π½Π΅ ΠΏΠΎΠ΄Π΄Π΅ΡΠΆΠΈΠ²Π°Π΅Ρ ΡΡΠ½ΠΊΡΠΈΡ ΠΏΠ΅ΡΠ΅ΠΌΠ΅ΡΠ΅Π½ΠΈΡ ΡΠ΅Π³ΡΠ»ΠΈΡΡΠ΅ΠΌΠΎΠ³ΠΎ ΠΏΡΡΠ½Π° ΠΠ€ Ρ ΠΏΠΎΠΌΠΎΡΡΡ ΡΠ΅Π½ΡΠΎΡΠ½ΠΎΠ³ΠΎ ΡΠΊΡΠ°Π½Π° ΠΌΠΎΠ±ΠΈΠ»ΡΠ½ΠΎΠ³ΠΎ ΡΡΡΡΠΎΠΉΡΡΠ²Π°.

- ΠΠ° ΠΌΠΎΠ±ΠΈΠ»ΡΠ½ΠΎΠΌ ΡΡΡΡΠΎΠΉΡΡΠ²Π΅ Π΄ΠΎΠ»ΠΆΠ½ΠΎ Π±ΡΡΡ ΡΡΡΠ°Π½ΠΎΠ²Π»Π΅Π½ΠΎ ΠΏΡΠΈΠ»ΠΎΠΆΠ΅Π½ΠΈΠ΅ PlayMemories Mobile.
ΠΠ°ΡΡΡΠΎΠΉΠΊΠΈ ΡΠΎΠΊΡΡΠ°
ΠΡΠ»ΠΈ Π΄Π»Ρ [ΠΠ±Π»Π°ΡΡΡ ΡΠΎΠΊΡΡΠΈΡ.] ΡΡΡΠ°Π½ΠΎΠ²Π»Π΅Π½ΠΎ Π·Π½Π°ΡΠ΅Π½ΠΈΠ΅ [ΠΠΎΠ½Π½Π°Ρ ΡΠΎΠΊΡΡΠΈΡΠΎΠ².] ΠΈΠ»ΠΈ [Π Π΅Π³. ΠΏΡΡΠ½ΠΎ ΠΠ€] (Π²ΠΊΠ»ΡΡΠ°Ρ [Π Π°ΡΡ. ΡΠ΅Π³.ΠΏΡΡΠ½ΠΎ ΠΠ€] Π΄Π»Ρ ΠΊΠ°ΠΌΠ΅ΡΡ ILCE-7RM2), ΡΠΎ Π΄Π»Ρ Π²ΠΊΠ»ΡΡΠ΅Π½ΠΈΡ ΡΡΠ½ΠΊΡΠΈΠΈ Π½Π΅ΠΎΠ±Ρ ΠΎΠ΄ΠΈΠΌΠΎ Π²ΡΠ±ΡΠ°ΡΡ Π½ΡΠΆΠ½ΡΡ ΠΎΠ±Π»Π°ΡΡΡ Ρ ΠΏΠΎΠΌΠΎΡΡΡ [ΠΠ±Π»Π°ΡΡΡ ΡΠΎΠΊΡΡΠΈΡ.], Π½Π°ΠΆΠ°ΡΡ ΡΠ΅Π½ΡΡΠ°Π»ΡΠ½ΡΡ ΠΊΠ½ΠΎΠΏΠΊΡ Π΄Π»Ρ ΠΏΠΎΠ΄ΡΠ²Π΅ΡΠΆΠ΄Π΅Π½ΠΈΡ, Π° Π·Π°ΡΠ΅ΠΌ Π½Π°ΠΆΠ°ΡΡ ΠΊΠΎΠ»Π΅ΡΠΈΠΊΠΎ ΡΠΏΡΠ°Π²Π»Π΅Π½ΠΈΡ ΠΈΠ»ΠΈ ΠΏΠΎΠ²Π΅ΡΠ½ΡΡΡ ΠΏΠ΅ΡΠ΅Π΄Π½ΠΈΠΉ/Π·Π°Π΄Π½ΠΈΠΉ Π΄ΠΈΡΠΊ, ΡΡΠΎΠ±Ρ ΠΏΠ΅ΡΠ΅ΠΌΠ΅ΡΡΠΈΡΡ ΡΠ°ΠΌΠΊΡ ΡΠΎΠΊΡΡΠΈΡΠΎΠ²ΠΊΠΈ Π² Π½ΡΠΆΠ½ΠΎΠ΅ ΠΏΠΎΠ»ΠΎΠΆΠ΅Π½ΠΈΠ΅.
Π ΡΠΎ ΠΆΠ΅ Π²ΡΠ΅ΠΌΡ ΡΡΠ½ΠΊΡΠΈΡ [ΠΠ°ΡΡΡΠΎΠΉΠΊΠΈ ΡΠΎΠΊΡΡΠ°] ΠΏΠΎΠ·Π²ΠΎΠ»ΡΠ΅Ρ ΠΏΠ΅ΡΠ΅ΠΌΠ΅ΡΠ°ΡΡ ΡΠ°ΠΌΠΊΡ ΡΠΎΠΊΡΡΠΈΡΠΎΠ²ΠΊΠΈ Π½Π΅ΠΏΠΎΡΡΠ΅Π΄ΡΡΠ²Π΅Π½Π½ΠΎ Ρ ΠΏΠΎΠΌΠΎΡΡΡ ΠΊΠΎΠ»Π΅ΡΠΈΠΊΠ° ΡΠΏΡΠ°Π²Π»Π΅Π½ΠΈΡ ΠΈΠ»ΠΈ ΠΏΠ΅ΡΠ΅Π΄Π½Π΅Π³ΠΎ/Π·Π°Π΄Π½Π΅Π³ΠΎ Π΄ΠΈΡΠΊΠ° ΠΏΠΎΡΠ»Π΅ Π½Π°ΠΆΠ°ΡΠΈΡ Π½Π°Π·Π½Π°ΡΠ΅Π½Π½ΠΎΠΉ ΠΊΠ½ΠΎΠΏΠΊΠΈ. ΠΡΠΎ Π±ΡΡΡΡΡΠΉ ΡΠΏΠΎΡΠΎΠ± ΡΠΏΡΠ°Π²Π»Π΅Π½ΠΈΡ Π½Π°ΡΡΡΠΎΠΉΠΊΠ°ΠΌΠΈ ΠΎΠ±Π»Π°ΡΡΠΈ ΡΠΎΠΊΡΡΠΈΡΠΎΠ²ΠΊΠΈ. ΠΡ ΡΠ΅ΠΊΠΎΠΌΠ΅Π½Π΄ΡΠ΅ΠΌ ΡΠΎΡ ΡΠ°Π½ΠΈΡΡ Π½Π°Π·Π½Π°ΡΠ΅Π½ΠΈΠ΅ ΡΡΠ½ΠΊΡΠΈΠΈ [ΠΠ°ΡΡΡΠΎΠΉΠΊΠΈ ΡΠΎΠΊΡΡΠ°] Π½Π° ΠΊΠΎΠ½ΡΠ΅ΠΊΡΡΠ½ΠΎΠΉ ΠΊΠ½ΠΎΠΏΠΊΠ΅. ΠΠΎ ΡΠΌΠΎΠ»ΡΠ°Π½ΠΈΡ ΠΎΠ½Π° Π½Π°Π·Π½Π°ΡΠ΅Π½Π° ΠΊΠ½ΠΎΠΏΠΊΠ΅ C2 (ΠΠΎΠ»ΡΠ·ΠΎΠ²Π°Ρ. 2).
ΠΠ΅ΡΠΎΠ΄ Π½Π°ΡΡΡΠΎΠΉΠΊΠΈ
-
ΠΡΠ±Π΅ΡΠΈΡΠ΅ Π½Π΅ΠΎΠ±Ρ ΠΎΠ΄ΠΈΠΌΡΡ ΠΊΠ½ΠΎΠΏΠΊΡ ΠΈ Π½Π°Π·Π½Π°ΡΡΡΠ΅ Π΅ΠΉ ΡΡΠ½ΠΊΡΠΈΡ [ΠΠ°ΡΡΡΠΎΠΉΠΊΠΈ ΡΠΎΠΊΡΡΠ°].

MENU > (ΠΠΎΠ»ΡΠ·ΠΎΠ². Π½Π°ΡΡΡΠΎΠΉΠΊΠΈ) > [ΠΠ°ΡΠ°ΠΌ. ΠΏΠΎΠ»ΡΠ·. ΠΊΠ»Π°Π².] > ΠΆΠ΅Π»Π°Π΅ΠΌΠ°Ρ ΠΊΠ½ΠΎΠΏΠΊΠΈ > [ΠΠ°ΡΡΡΠΎΠΉΠΊΠΈ ΡΠΎΠΊΡΡΠ°].
-
ΠΠ°ΠΆΠΌΠΈΡΠ΅ Π½Π°Π·Π½Π°ΡΠ΅Π½Π½ΡΡ ΠΊΠ½ΠΎΠΏΠΊΡ, ΡΡΠΎΠ±Ρ ΠΈΡΠΏΠΎΠ»ΡΠ·ΠΎΠ²Π°ΡΡ ΡΡΠ½ΠΊΡΠΈΡ [ΠΠ°ΡΡΡΠΎΠΉΠΊΠΈ ΡΠΎΠΊΡΡΠ°].
-
ΠΠΎΠ²Π΅ΡΠ½ΠΈΡΠ΅ ΠΊΠΎΠ»Π΅ΡΠΈΠΊΠΎ ΡΠΏΡΠ°Π²Π»Π΅Π½ΠΈΡ, ΡΡΠΎΠ±Ρ Π²ΡΠ±ΡΠ°ΡΡ ΠΎΠ±Π»Π°ΡΡΡ ΡΠΎΠΊΡΡΠΈΡΠΎΠ²ΠΊΠΈ.
-
ΠΡΠ»ΠΈ Π²ΡΠ±ΡΠ°Π½ ΠΏΠ°ΡΠ°ΠΌΠ΅ΡΡ [ΠΠΎΠ½Π½Π°Ρ ΡΠΎΠΊΡΡΠΈΡΠΎΠ².] ΠΈΠ»ΠΈ [Π Π΅Π³. ΠΏΡΡΠ½ΠΎ ΠΠ€], Π½Π°ΠΆΠΌΠΈΡΠ΅ ΠΊΠΎΠ»Π΅ΡΠΈΠΊΠΎ ΡΠΏΡΠ°Π²Π»Π΅Π½ΠΈΡ Π²Π²Π΅ΡΡ /Π²Π½ΠΈΠ·/Π²Π»Π΅Π²ΠΎ/Π²ΠΏΡΠ°Π²ΠΎ ΠΈΠ»ΠΈ ΠΏΠΎΠ²Π΅ΡΠ½ΠΈΡΠ΅ ΠΏΠ΅ΡΠ΅Π΄Π½ΠΈΠΉ/Π·Π°Π΄Π½ΠΈΠΉ Π΄ΠΈΡΠΊ, ΡΡΠΎΠ±Ρ ΠΏΠ΅ΡΠ΅ΠΌΠ΅ΡΡΠΈΡΡ ΡΠ°ΠΌΠΊΡ ΡΠΎΠΊΡΡΠΈΡΠΎΠ²ΠΊΠΈ.
- Π€ΡΠ½ΠΊΡΠΈΡ [ΠΠ°ΡΡΡΠΎΠΉΠΊΠΈ ΡΠΎΠΊΡΡΠ°] ΠΌΠΎΠΆΠ½ΠΎ Π½Π°Π·Π½Π°ΡΠΈΡΡ Π»ΡΠ±ΠΎΠΉ ΠΊΠ½ΠΎΠΏΠΊΠ΅. ΠΡΠ»ΠΈ Π΄Π»Ρ ΠΏΠ΅ΡΠ΅ΠΌΠ΅ΡΠ΅Π½ΠΈΡ ΡΠ°ΠΌΠΊΠΈ ΡΠΎΠΊΡΡΠΈΡΠΎΠ²ΠΊΠΈ ΠΈΡΠΏΠΎΠ»ΡΠ·ΡΠ΅ΡΡΡ ΠΏΠ΅ΡΠ΅Π΄Π½ΠΈΠΉ/Π·Π°Π΄Π½ΠΈΠΉ Π΄ΠΈΡΠΊ, Π½Π°Π·Π½Π°ΡΡΡΠ΅ ΡΡΠ½ΠΊΡΠΈΡ ΠΊΠ½ΠΎΠΏΠΊΠ΅, ΠΊΠΎΡΠΎΡΠ°Ρ Π½Π°Ρ ΠΎΠ΄ΠΈΡΡΡ ΡΡΠ΄ΠΎΠΌ Ρ ΠΊΠ½ΠΎΠΏΠΊΠΎΠΉ Π·Π°ΡΠ²ΠΎΡΠ°. ΠΡΠ»ΠΈ ΠΈΡΠΏΠΎΠ»ΡΠ·ΡΠ΅ΡΡΡ ΠΊΠΎΠ»Π΅ΡΠΈΠΊΠΎ ΡΠΏΡΠ°Π²Π»Π΅Π½ΠΈΡ, Π½Π°Π·Π½Π°ΡΡΡΠ΅ Π΅Π΅ ΠΊΠ½ΠΎΠΏΠΊΠ΅ ΡΡΠ΄ΠΎΠΌ Ρ ΠΊΠΎΠ»Π΅ΡΠΈΠΊΠΎΠΌ ΡΠΏΡΠ°Π²Π»Π΅Π½ΠΈΡ. ΠΡΠΎ ΠΏΠΎΠ·Π²ΠΎΠ»ΠΈΡ ΡΠΏΡΠ°Π²Π»ΡΡΡ ΡΡΠ½ΠΊΡΠΈΠ΅ΠΉ Π±ΡΡΡΡΠ΅Π΅.
ΠΠ°ΡΡΡΠΎΠΉΠΊΠΈ ΡΠΎΠΊΡΡΠ° ΠΈ ΠΎΠ±Π»Π°ΡΡΡ ΡΠΎΠΊΡΡΠΈΡΠΎΠ²ΠΊΠΈ
ΠΡΠ΅Π΄ΠΏΠΎΠ»ΠΎΠΆΠΈΠΌ, ΡΡΠΎ Π²Ρ Π½Π°Π·Π½Π°ΡΠΈΠ»ΠΈ [ΠΠ±Π»Π°ΡΡΡ ΡΠΎΠΊΡΡΠΈΡ.
] ΠΊΠ½ΠΎΠΏΠΊΠ΅Β C1 ΠΈ [ΠΠ°ΡΡΡΠΎΠΉΠΊΠΈ ΡΠΎΠΊΡΡΠ°] ΠΊΠ½ΠΎΠΏΠΊΠ΅Β C2, ΠΈ Π²ΡΠΏΠΎΠ»Π½ΡΠ΅ΡΠ΅ ΡΡΠ°Π²Π½Π΅Π½ΠΈΠ΅ ΡΡΠΈΡ
Π΄Π²ΡΡ
ΡΡΠ½ΠΊΡΠΈΠΉ Π² ΡΡΠ»ΠΎΠ²ΠΈΡΡ
, Π³Π΄Π΅ Π½Π΅ΠΎΠ±Ρ
ΠΎΠ΄ΠΈΠΌΠΎ ΠΈΠ·ΠΌΠ΅Π½ΡΡΡ ΠΎΠ±Π»Π°ΡΡΡ ΠΈ ΠΏΠΎΠ»ΠΎΠΆΠ΅Π½ΠΈΠ΅ ΠΎΠ±Π»Π°ΡΡΠΈ ΡΠΎΠΊΡΡΠΈΡΠΎΠ²ΠΊΠΈ.
ΠΡΠΈ ΠΈΡΠΏΠΎΠ»ΡΠ·ΠΎΠ²Π°Π½ΠΈΠΈ ΡΡΠ½ΠΊΡΠΈΠΈ [ΠΠ±Π»Π°ΡΡΡ ΡΠΎΠΊΡΡΠΈΡ.] ΡΡΠ΅Π±ΡΠ΅ΡΡΡ Π½Π°ΠΆΠ°ΡΡ ΠΊΠ½ΠΎΠΏΠΊΡ C1, Π²ΡΠ±ΡΠ°ΡΡ ΠΎΠ±Π»Π°ΡΡΡ ΡΠΎΠΊΡΡΠΈΡΠΎΠ²ΠΊΠΈ, Π½Π°ΠΆΠ°ΡΡ ΡΠ΅Π½ΡΡΠ°Π»ΡΠ½ΡΡ ΠΊΠ½ΠΎΠΏΠΊΡ Π΄Π»Ρ ΠΏΠΎΠ΄ΡΠ²Π΅ΡΠΆΠ΄Π΅Π½ΠΈΡ ΠΎΠ±Π»Π°ΡΡΠΈ ΡΠΎΠΊΡΡΠΈΡΠΎΠ²ΠΊΠΈ, Π·Π°ΡΠ΅ΠΌ ΠΏΠ΅ΡΠ΅Π΄Π²ΠΈΠ½ΡΡΡ ΡΠ°ΠΌΠΊΡ ΡΠΎΠΊΡΡΠΈΡΠΎΠ²ΠΊΠΈ. ΠΡΠΎ ΡΠ°Π²Π½ΠΎ ΡΠ΅ΡΡΡΠ΅ΠΌ Π΄Π΅ΠΉΡΡΠ²ΠΈΡΠΌ.
Π‘ Π΄ΡΡΠ³ΠΎΠΉ ΡΡΠΎΡΠΎΠ½Ρ ΠΏΡΠΈ ΠΈΡΠΏΠΎΠ»ΡΠ·ΠΎΠ²Π°Π½ΠΈΠΈ ΡΡΠ½ΠΊΡΠΈΠΈ [ΠΠ°ΡΡΡΠΎΠΉΠΊΠΈ ΡΠΎΠΊΡΡΠ°] ΡΡΠ΅Π±ΡΠ΅ΡΡΡ Π½Π°ΠΆΠ°ΡΡ ΠΊΠ½ΠΎΠΏΠΊΡΒ C2, ΠΏΠΎΠ²Π΅ΡΠ½ΡΡΡ ΠΊΠΎΠ»Π΅ΡΠΈΠΊΠΎ ΡΠΏΡΠ°Π²Π»Π΅Π½ΠΈΡ Π΄Π»Ρ Π²ΡΠ±ΠΎΡΠ° ΠΎΠ±Π»Π°ΡΡΠΈ ΡΠΎΠΊΡΡΠΈΡΠΎΠ²ΠΊΠΈ, Π·Π°ΡΠ΅ΠΌ ΠΏΠ΅ΡΠ΅Π΄Π²ΠΈΠ½ΡΡΡ ΡΠ°ΠΌΠΊΡ ΡΠΎΠΊΡΡΠΈΡΠΎΠ²ΠΊΠΈ. ΠΡΠΎ ΡΠ°Π²Π½ΠΎ ΡΡΠ΅ΠΌ Π΄Π΅ΠΉΡΡΠ²ΠΈΡΠΌ; Π² ΡΡΠΎΠΌ ΡΡΠ΅Π½Π°ΡΠΈΠΈ Π½Π΅ ΡΡΠ΅Π±ΡΠ΅ΡΡΡ Π½Π°ΠΆΠΈΠΌΠ°ΡΡ ΡΠ΅Π½ΡΡΠ°Π»ΡΠ½ΡΡ ΠΊΠ½ΠΎΠΏΠΊΡ.
ΠΠ°ΠΊ Π²ΠΈΠ΄Π½ΠΎ, ΡΡΠ½ΠΊΡΠΈΡ [ΠΠ±Π»Π°ΡΡΡ ΡΠΎΠΊΡΡΠΈΡ.] Π½Π°Ρ ΠΎΠ΄ΠΈΡΡΡ Π²Π½ΡΡΡΠΈ ΡΠ°Π·Π΄Π΅Π»Π° [ΠΠ°ΡΡΡΠΎΠΉΠΊΠΈ ΡΠΎΠΊΡΡΠ°]. ΠΠΎΡΡΠΎΠΌΡ, Π΅ΡΠ»ΠΈ ΡΡΠ΅Π±ΡΠ΅ΡΡΡ Π²ΡΠ±ΡΠ°ΡΡ ΠΎΠ΄Π½Ρ ΡΡΠ½ΠΊΡΠΈΡ, ΡΡΠΎΠ±Ρ Π½Π°Π·Π½Π°ΡΠΈΡΡ Π΅Π΅ Π½Π° ΠΊΠΎΠ½ΡΠ΅ΠΊΡΡΠ½ΡΡ ΠΊΠ½ΠΎΠΏΠΊΡ, ΡΠ΅ΠΊΠΎΠΌΠ΅Π½Π΄ΡΠ΅ΡΡΡ Π²ΡΠ±ΡΠ°ΡΡ [ΠΠ°ΡΡΡΠΎΠΉΠΊΠΈ ΡΠΎΠΊΡΡΠ°] Π²ΠΌΠ΅ΡΡΠΎ [ΠΠ±Π»Π°ΡΡΡ ΡΠΎΠΊΡΡΠΈΡ.].
ΠΠ°ΡΡΡΠΎΠΉΠΊΠ° [Π‘ΡΠ°Π½Π΄Π°ΡΡ ΡΠΎΠΊΡΡΠΈΡ.] ΡΠ΅ΠΊΠΎΠΌΠ΅Π½Π΄ΡΠ΅ΡΡΡ ΠΏΡΠΈ ΡΡΠ΅ΠΌΠΊΠ΅ Π½Π΅ΡΠΊΠΎΠ»ΡΠΊΠΈΡ
ΠΊΠ°Π΄ΡΠΎΠ² ΠΎΠ΄Π½ΠΎΠΉ ΠΈ ΡΠΎΠΉ ΠΆΠ΅ ΡΡΠ΅Π½Ρ ΠΏΠΎΠ΄ΡΡΠ΄.
Π‘ΡΠ°Π½Π΄Π°ΡΡ ΡΠΎΠΊΡΡΠΈΡΠΎΠ²ΠΊΠΈ
[Π‘ΡΠ°Π½Π΄Π°ΡΡ ΡΠΎΠΊΡΡΠΈΡ.] ΠΏΡΠ΅Π΄ΡΡΠ°Π²Π»ΡΠ΅Ρ ΡΠΎΠ±ΠΎΠΉ ΡΡΠ½ΠΊΡΠΈΡ, ΠΊΠΎΡΠΎΡΡΡ ΠΌΠΎΠΆΠ½ΠΎ ΠΈΡΠΏΠΎΠ»ΡΠ·ΠΎΠ²Π°ΡΡ ΡΠΎΠ»ΡΠΊΠΎ ΠΏΠΎΡΠ»Π΅ Π½Π°Π·Π½Π°ΡΠ΅Π½ΠΈΡ Π½Π° ΠΎΡΠ΄Π΅Π»ΡΠ½ΡΡ ΠΊΠ½ΠΎΠΏΠΊΡ Ρ ΠΏΠΎΠΌΠΎΡΡΡ ΠΏΠΎΠ»ΡΠ·ΠΎΠ²Π°ΡΠ΅Π»ΡΡΠΊΠΎΠΉ Π½Π°ΡΡΡΠΎΠΉΠΊΠΈ. ΠΡΠ»ΠΈ Π² ΠΊΠ°ΡΠ΅ΡΡΠ²Π΅ ΠΎΠ±Π»Π°ΡΡΠΈ ΡΠΎΠΊΡΡΠΈΡΠΎΠ²ΠΊΠΈ Π²ΡΠ±ΡΠ°Π½ ΠΏΠ°ΡΠ°ΠΌΠ΅ΡΡ [ΠΠΎΠ½Π½Π°Ρ ΡΠΎΠΊΡΡΠΈΡΠΎΠ².] ΠΈΠ»ΠΈ [Π Π΅Π³. ΠΏΡΡΠ½ΠΎ ΠΠ€] (Π² ΡΠΎΠΌ ΡΠΈΡΠ»Π΅ [Π Π°ΡΡ. ΡΠ΅Π³.ΠΏΡΡΠ½ΠΎ ΠΠ€] Π² ΡΠ»ΡΡΠ°Π΅ Ρ ΠΊΠ°ΠΌΠ΅ΡΠΎΠΉ ILCE-7RM2), ΠΏΠ΅ΡΠ΅Π΄Π²ΠΈΠ³Π°ΡΡ ΡΠ°ΠΌΠΊΡ ΡΠΎΠΊΡΡΠΈΡΠΎΠ²ΠΊΠΈ ΠΌΠΎΠΆΠ½ΠΎ Π·Π° ΠΌΠ΅Π½ΡΡΠ΅Π΅ ΠΊΠΎΠ»ΠΈΡΠ΅ΡΡΠ²ΠΎ Π΄Π΅ΠΉΡΡΠ²ΠΈΠΉ.
ΠΠ°ΡΠ°ΠΌΠ΅ΡΡ [Π‘ΡΠ°Π½Π΄Π°ΡΡ ΡΠΎΠΊΡΡΠΈΡ.] Π΄ΠΎΠ±Π°Π²Π»Π΅Π½ Π² ΠΎΠ±Π½ΠΎΠ²Π»Π΅Π½Π½ΠΎΠΉ Π²Π΅ΡΡΠΈΠΈ Π²ΡΡΡΠΎΠ΅Π½Π½ΠΎΠ³ΠΎ ΠΏΡΠΎΠ³ΡΠ°ΠΌΠΌΠ½ΠΎΠ³ΠΎ ΠΎΠ±Π΅ΡΠΏΠ΅ΡΠ΅Π½ΠΈΡ, Π²ΡΠΏΡΡΠ΅Π½Π½ΠΎΠ³ΠΎ Π² ΠΈΡΠ½Π΅ 2017Β Π³. ΠΠ΅ΡΡΠΈΡ ΠΎΠ±Π½ΠΎΠ²Π»Π΅Π½ΠΈΡ ΠΈΠ΄Π΅Ρ Π·Π° Π½ΠΎΠΌΠ΅ΡΠΎΠΌ 4.00 Π΄Π»Ρ ΠΎΠ±Π΅ΠΈΡ ΠΊΠ°ΠΌΠ΅Ρ ILCE-7RM2/7M2.
ΠΠ΅ΡΠΎΠ΄ Π½Π°ΡΡΡΠΎΠΉΠΊΠΈ
-
ΠΡΠ±Π΅ΡΠΈΡΠ΅ Π½Π΅ΠΎΠ±Ρ ΠΎΠ΄ΠΈΠΌΡΡ ΠΊΠ½ΠΎΠΏΠΊΡ ΠΈ Π½Π°Π·Π½Π°ΡΡΡΠ΅ Π΅ΠΉ ΡΡΠ½ΠΊΡΠΈΡ [Π‘ΡΠ°Π½Π΄Π°ΡΡ ΡΠΎΠΊΡΡΠΈΡ.].
MENU > (ΠΠΎΠ»ΡΠ·ΠΎΠ². Π½Π°ΡΡΡΠΎΠΉΠΊΠΈ) > [ΠΠ°ΡΠ°ΠΌ. ΠΏΠΎΠ»ΡΠ·. ΠΊΠ»Π°Π².] > ΠΆΠ΅Π»Π°Π΅ΠΌΠ°Ρ ΠΊΠ½ΠΎΠΏΠΊΠΈ > [Π‘ΡΠ°Π½Π΄Π°ΡΡ ΡΠΎΠΊΡΡΠΈΡ.].
-
ΠΠ°ΠΆΠΌΠΈΡΠ΅ Π½Π°Π·Π½Π°ΡΠ΅Π½Π½ΡΡ ΠΊΠ½ΠΎΠΏΠΊΡ, ΡΡΠΎΠ±Ρ ΠΈΡΠΏΠΎΠ»ΡΠ·ΠΎΠ²Π°ΡΡ ΡΡΠ½ΠΊΡΠΈΡ [Π‘ΡΠ°Π½Π΄Π°ΡΡ ΡΠΎΠΊΡΡΠΈΡ.
]. -
ΠΡΠ»ΠΈ Π²ΡΠ±ΡΠ°Π½ ΠΏΠ°ΡΠ°ΠΌΠ΅ΡΡ [ΠΠΎΠ½Π½Π°Ρ ΡΠΎΠΊΡΡΠΈΡΠΎΠ².] ΠΈΠ»ΠΈ [Π Π΅Π³. ΠΏΡΡΠ½ΠΎ ΠΠ€], Π½Π°ΠΆΠΌΠΈΡΠ΅ ΠΊΠΎΠ»Π΅ΡΠΈΠΊΠΎ ΡΠΏΡΠ°Π²Π»Π΅Π½ΠΈΡ Π²Π²Π΅ΡΡ /Π²Π½ΠΈΠ·/Π²Π»Π΅Π²ΠΎ/Π²ΠΏΡΠ°Π²ΠΎ, ΡΡΠΎΠ±Ρ ΠΏΠ΅ΡΠ΅ΠΌΠ΅ΡΡΠΈΡΡ ΡΠ°ΠΌΠΊΡ ΡΠΎΠΊΡΡΠΈΡΠΎΠ²ΠΊΠΈ.
-
Π‘Π΄Π΅Π»Π°ΠΉΡΠ΅ ΡΠ½ΠΈΠΌΠΎΠΊ. ΠΠΎΡΠ»Π΅ ΡΠΎΠ³ΠΎ, ΠΊΠ°ΠΊ ΡΠ½ΠΈΠΌΠΎΠΊ ΡΠ΄Π΅Π»Π°Π½, ΡΠ°ΠΌΠΊΡ ΡΠΎΠΊΡΡΠΈΡΠΎΠ²ΠΊΠΈ ΠΌΠΎΠΆΠ½ΠΎ ΠΏΡΠΎΠ΄ΠΎΠ»ΠΆΠ°ΡΡ ΠΏΠ΅ΡΠ΅Π΄Π²ΠΈΠ³Π°ΡΡ Π½Π°ΠΆΠ°ΡΠΈΠ΅ΠΌ ΠΊΠΎΠ»Π΅ΡΠΈΠΊΠ° ΡΠΏΡΠ°Π²Π»Π΅Π½ΠΈΡ.
- Π§ΡΠΎΠ±Ρ ΠΎΡΠΌΠ΅Π½ΠΈΡΡ, Π½Π°ΠΆΠΌΠΈΡΠ΅ ΠΊΠ½ΠΎΠΏΠΊΡ, Π½Π° ΠΊΠΎΡΠΎΡΡΡ Π½Π°Π·Π½Π°ΡΠ΅Π½Π° ΡΡΠ½ΠΊΡΠΈΡ [Π‘ΡΠ°Π½Π΄Π°ΡΡ ΡΠΎΠΊΡΡΠΈΡ.], Π΅ΡΠ΅ ΡΠ°Π·.
- ΠΠΎΠΊΠ° ΡΡΠ½ΠΊΡΠΈΡ [Π‘ΡΠ°Π½Π΄Π°ΡΡ ΡΠΎΠΊΡΡΠΈΡ.] Π°ΠΊΡΠΈΠ²Π½Π° ΠΏΠΎΠ»ΡΠ·ΠΎΠ²Π°ΡΠ΅Π»ΡΡΠΊΠΈΠ΅ ΡΡΠ½ΠΊΡΠΈΠΈ, Π½Π°Π·Π½Π°ΡΠ΅Π½Π½ΡΠ΅ Π½Π° ΠΊΠΎΠ»Π΅ΡΠΈΠΊΠΎ ΡΠΏΡΠ°Π²Π»Π΅Π½ΠΈΡ ΠΈ ΠΊΠΎΠ½ΡΠ΅ΠΊΡΡΠ½ΡΡ ΠΊΠ½ΠΎΠΏΠΊΡ C4, ΠΎΡΠΊΠ»ΡΡΠ°ΡΡΡΡ.
- ΠΡΠ»ΠΈ Π² ΠΊΠ°ΡΠ΅ΡΡΠ²Π΅ ΠΎΠ±Π»Π°ΡΡΠΈ ΡΠΎΠΊΡΡΠΈΡΠΎΠ²ΠΊΠΈ Π²ΡΠ±ΡΠ°Π½Π° ΠΎΠΏΡΠΈΡ [Π¨ΠΈΡΠΎΠΊΠΈΠΉ] ΠΈΠ»ΠΈ [Π¦Π΅Π½ΡΡ], Π°ΠΊΡΠΈΠ²ΠΈΡΡΠ΅ΡΡΡ ΡΠ΅Π½ΡΡΠ°Π»ΡΠ½Π°Ρ ΡΠ»Π΅Π΄ΡΡΠ°Ρ Π°Π²ΡΠΎΡΠΎΠΊΡΡΠΈΡΠΎΠ²ΠΊΠ° Π² ΡΠΎΠΌ ΡΠ»ΡΡΠ°Π΅, Π΅ΡΠ»ΠΈ ΡΡΠ½ΠΊΡΠΈΡ [Π¦Π΅Π½ΡΡ. ΡΠ»Π΅Π΄ΡΡ. AF] Π²ΠΊΠ»ΡΡΠ΅Π½Π°; ΡΠ°ΠΊΠΆΠ΅ Π°Π²ΡΠΎΡΠΎΠΊΡΡΠΈΡΠΎΠ²ΠΊΠ° Π°ΠΊΡΠΈΠ²ΠΈΡΡΠ΅ΡΡΡ ΠΏΠΎ Π½Π°ΠΆΠ°ΡΠΈΡ ΠΊΠ½ΠΎΠΏΠΊΠΈ, Π΅ΡΠ»ΠΈ ΡΡΠ½ΠΊΡΠΈΡ [Π¦Π΅Π½ΡΡ. ΡΠ»Π΅Π΄ΡΡ. AF] Π²ΡΠΊΠ»ΡΡΠ΅Π½Π°.
Π‘ΡΠ°Π½Π΄Π°ΡΡ ΡΠΎΠΊΡΡΠΈΡΠΎΠ²ΠΊΠΈ ΠΈ Π½Π°ΡΡΡΠΎΠΉΠΊΠΈ ΡΠΎΠΊΡΡΠ°
Π€ΡΠ½ΠΊΡΠΈΡ [Π‘ΡΠ°Π½Π΄Π°ΡΡ ΡΠΎΠΊΡΡΠΈΡ.
] ΡΠ²Π»ΡΠ΅ΡΡΡ Ρ
ΠΎΡΠΎΡΠΈΠΌ ΡΠ΅ΡΠ΅Π½ΠΈΠ΅ΠΌ ΠΏΡΠΈ ΠΎΡΡΠ»Π΅ΠΆΠΈΠ²Π°Π½ΠΈΠΈ Π΄Π²ΠΈΠΆΡΡΠ΅Π³ΠΎΡΡ ΠΎΠ±ΡΠ΅ΠΊΡΠ° Π² ΡΡΡΠ½ΠΎΠΌ ΡΠ΅ΠΆΠΈΠΌΠ΅. ΠΠ»Ρ ΡΡΠΎΠ³ΠΎ Π½Π΅ΠΎΠ±Ρ
ΠΎΠ΄ΠΈΠΌΠΎ Π½Π°ΠΆΠ°ΡΡ Π½Π°Π·Π½Π°ΡΠ΅Π½Π½ΡΡ ΠΊΠ½ΠΎΠΏΠΊΡ ΠΎΠ΄ΠΈΠ½ ΡΠ°Π·; Π½Π°ΠΆΠΈΠΌΠ°ΡΡ ΠΊΠ½ΠΎΠΏΠΊΡ ΠΏΠΎΡΠ»Π΅ ΠΊΠ°ΠΆΠ΄ΠΎΠ³ΠΎ ΠΊΠ°Π΄ΡΠ° ΠΏΠΎΠ²ΡΠΎΡΠ½ΠΎ Π½Π΅ ΡΡΠ΅Π±ΡΠ΅ΡΡΡ. ΠΡΠ»ΠΈ Π½Π°Π·Π½Π°ΡΠΈΡΡ ΡΡΠ½ΠΊΡΠΈΡ Π½Π° ΠΊΠ½ΠΎΠΏΠΊΡ, ΡΠ°ΡΠΏΠΎΠ»ΠΎΠΆΠ΅Π½Π½ΡΡ ΡΡΠ΄ΠΎΠΌ Ρ ΠΊΠΎΠ»Π΅ΡΠΈΠΊΠΎΠΌ ΡΠΏΡΠ°Π²Π»Π΅Π½ΠΈΡ, Π½Π°ΠΏΡΠΈΠΌΠ΅Ρ Π½Π° ΡΠ΅Π½ΡΡΠ°Π»ΡΠ½ΡΡ ΠΊΠ½ΠΎΠΏΠΊΡ, ΠΏΠ΅ΡΠ΅Π΄Π²ΠΈΠ³Π°ΡΡ ΡΠ°ΠΌΠΊΡ ΡΠΎΠΊΡΡΠΈΡΠΎΠ²ΠΊΠΈ ΠΌΠΎΠΆΠ½ΠΎ Π±ΡΠ΄Π΅Ρ ΡΡΠ°Π·Ρ ΠΏΡΠΈ Π½Π°ΠΆΠ°ΡΠΈΠΈ Π½Π°Π·Π½Π°ΡΠ΅Π½Π½ΠΎΠΉ ΠΊΠ½ΠΎΠΏΠΊΠΈ.
Π‘ Π΄ΡΡΠ³ΠΎΠΉ ΡΡΠΎΡΠΎΠ½Ρ ΡΡΠ½ΠΊΡΠΈΡ [ΠΠ°ΡΡΡΠΎΠΉΠΊΠΈ ΡΠΎΠΊΡΡΠ°] ΠΏΠΎΠ·Π²ΠΎΠ»ΡΠ΅Ρ ΠΎΠΏΠ΅ΡΠ°ΡΠΎΡΠ°ΠΌ ΠΈΡΠΏΠΎΠ»ΡΠ·ΠΎΠ²Π°ΡΡ ΠΏΠ΅ΡΠ΅Π΄Π½ΠΈΠΉ/Π·Π°Π΄Π½ΠΈΠΉ Π΄ΠΈΡΠΊ. ΠΡΠΎΠΌΠ΅ ΡΠΎΠ³ΠΎ, ΡΡΠ° ΡΡΠ½ΠΊΡΠΈΡ ΡΠ°ΠΊΠΆΠ΅ ΠΏΠΎΠ·Π²ΠΎΠ»ΡΠ΅Ρ ΠΈΠ·ΠΌΠ΅Π½ΡΡΡ Π½Π°ΡΡΡΠΎΠΉΠΊΠΈ ΠΎΠ±Π»Π°ΡΡΠΈ ΡΠΎΠΊΡΡΠΈΡΠΎΠ²ΠΊΠΈ (Π½Π°ΠΏΡΠΈΠΌΠ΅Ρ, Ρ [Π¨ΠΈΡΠΎΠΊΠ°Ρ ΠΠ€] Π½Π° [Π Π΅Π³. ΠΏΡΡΠ½ΠΎ ΠΠ€]).
ΠΡΠΈ Π΄Π²Π΅ ΡΡΠ½ΠΊΡΠΈΠΈ ΡΠ°Π·Π»ΠΈΡΠ°ΡΡΡΡ ΠΏΠΎ Π»ΠΎΠ³ΠΈΠΊΠ΅ ΡΠ°Π±ΠΎΡΡ. ΠΡΠ±Π΅ΡΠΈΡΠ΅ ΡΡ, ΠΊΠΎΡΠΎΡΠ°Ρ Π±ΠΎΠ»ΡΡΠ΅ ΠΏΠΎΠ΄Ρ ΠΎΠ΄ΠΈΡ Π΄Π»Ρ Π²Π°ΡΠΈΡ Π·Π°Π΄Π°Ρ ΠΈ ΡΡΠΈΠ»Ρ ΡΠ°Π±ΠΎΡΡ.
Π£ΡΡΠ°Π½.ΠΏΡΠΈΠΎΡ.Π² AF-C (ΡΠΎΠ»ΡΠΊΠΎ Π΄Π»Ρ ILCE-7RM2)
ΠΡΠΈ ΡΡΠ΅ΠΌΠΊΠ΅ Π² ΡΠ΅ΠΆΠΈΠΌΠ΅ AF-C (ΠΠ΅ΠΏΡΠ΅ΡΡΠ²Π½ΡΠΉ AF) ΠΌΠΎΠΆΠ½ΠΎ Π²ΡΠ±ΡΠ°ΡΡ Π½Π°ΡΡΡΠΎΠΉΠΊΡ, ΠΏΡΠΈ ΠΊΠΎΡΠΎΡΠΎΠΉ ΡΠΏΡΡΠΊ Π·Π°ΡΠ²ΠΎΡΠ° Π±ΡΠ΄Π΅Ρ Π²ΡΠΏΠΎΠ»Π½ΡΡΡΡΡ, Π΄Π°ΠΆΠ΅ Π΅ΡΠ»ΠΈ ΠΎΠ±ΡΠ΅ΠΊΡ Π½Π΅ Π½Π°Ρ ΠΎΠ΄ΠΈΡΡΡ Π² ΡΠΎΠΊΡΡΠ΅.
ΠΠ΅ΡΠΎΠ΄ Π½Π°ΡΡΡΠΎΠΉΠΊΠΈ
MENU > (ΠΠΎΠ»ΡΠ·ΠΎΠ².
Π½Π°ΡΡΡΠΎΠΉΠΊΠΈ) > [Π£ΡΡΠ°Π½.ΠΏΡΠΈΠΎΡ.Π² AF-C] > ΡΡΠ΅Π±ΡΠ΅ΠΌΠ°Ρ Π½Π°ΡΡΡΠΎΠΉΠΊΠ°
ΠΡΠ±Π΅ΡΠΈΡΠ΅ Π½Π°ΡΡΡΠΎΠΉΠΊΡ Π² ΡΠΎΠΎΡΠ²Π΅ΡΡΡΠ²ΠΈΠΈ Ρ Π²Π°ΡΠΈΠΌΠΈ Π»ΠΈΡΠ½ΡΠΌΠΈ ΠΏΡΠ΅Π΄ΠΏΠΎΡΡΠ΅Π½ΠΈΡΠΌΠΈ. ΠΡΠ»ΠΈ Π²ΡΠ±ΡΠ°ΡΡ Π²Π°ΡΠΈΠ°Π½Ρ [AF], Π²Π°ΠΌ Π½Π΅ ΠΏΡΠΈΠ΄Π΅ΡΡΡ ΡΠ΄Π°Π»ΡΡΡ Π½Π΅ΡΠ΅Π·ΠΊΠΈΠ΅ ΠΊΠ°Π΄ΡΡ, ΡΠ΄Π΅Π»Π°Π½Π½ΡΠ΅ ΡΠ»ΡΡΠ°ΠΉΠ½ΠΎ. ΠΡΠ»ΠΈ Π²ΡΠ±ΡΠ°ΡΡ Π²Π°ΡΠΈΠ°Π½Ρ [ΠΠ°ΡΠ²ΠΎΡ], Π²Ρ Π½Π΅ ΡΠΏΡΡΡΠΈΡΠ΅ Β«ΡΠΎΡ ΡΠ°ΠΌΡΠΉΒ» ΠΌΠΎΠΌΠ΅Π½Ρ ΠΈ Π±ΡΠ΄Π΅ΡΠ΅ ΠΈΠΌΠ΅ΡΡ Π²ΠΎΠ·ΠΌΠΎΠΆΠ½ΠΎΡΡΡ ΡΠ΅ΡΠΈΡΡ, ΠΊΠ°ΠΊΠΈΠ΅ ΠΊΠ°Π΄ΡΡ ΠΎΡΡΠ°Π²ΠΈΡΡ ΠΈ ΠΊΠ°ΠΊΠΈΠ΅Β β ΡΠ΄Π°Π»ΠΈΡΡ.
ΠΡΠΈ Π½Π°ΡΡΡΠΎΠΉΠΊΠΈ ΡΠ°ΠΊΠΆΠ΅ Π΄ΠΎΡΡΡΠΏΠ½Ρ Π² ΡΠ΅ΠΆΠΈΠΌΠ΅ AF-S (ΠΠΎΠΊΠ°Π΄ΡΠΎΠ²ΡΠΉ AF). ΠΡΠΈ ΡΡΠ΅ΠΌΠΊΠ΅ Π½Π΅ΠΏΠΎΠ΄Π²ΠΈΠΆΠ½ΡΡ ΠΎΠ±ΡΠ΅ΠΊΡΠΎΠ² Π² ΡΠ΅ΠΆΠΈΠΌΠ΅ AF-S ΡΠ΅ΠΊΠΎΠΌΠ΅Π½Π΄ΡΠ΅ΡΡΡ Π²ΡΠ±ΡΠ°ΡΡ ΠΎΠΏΡΠΈΡ [AF], ΠΏΠΎΡΠΊΠΎΠ»ΡΠΊΡ Π΄Π°Π½Π½Π°Ρ ΠΎΠΏΡΠΈΡ Π±ΠΎΠ»ΡΡΠ΅ ΠΏΠΎΠ΄Ρ ΠΎΠ΄ΠΈΡ Π΄Π»Ρ ΡΡΠ΅Π½Π°ΡΠΈΠ΅Π² ΠΈΡΠΏΠΎΠ»ΡΠ·ΠΎΠ²Π°Π½ΠΈΡ, ΠΊΠΎΠ³Π΄Π° ΡΡΠ΅Π±ΡΠ΅ΡΡΡ ΠΏΠΎΠ²ΡΠΎΡΠΈΡΡ ΠΊΠ°Π΄Ρ; ΠΏΡΠΈ ΡΡΡΠ°Π½ΠΎΠ²ΠΊΠ΅ ΡΠ΅ΠΊΠΎΠΌΠ΅Π½Π΄ΡΠ΅ΠΌΡΡ Π½Π°ΡΡΡΠΎΠ΅ΠΊ ΡΡΠΎ ΡΠ΄Π΅Π»Π°ΡΡ ΠΏΡΠΎΡΠ΅, ΡΠ΅ΠΌ ΠΏΡΠΈ ΡΡΠ΅ΠΌΠΊΠ΅ Π΄ΠΈΠ½Π°ΠΌΠΈΡΠ½ΡΡ ΡΡΠ΅Π½.
Π§ΡΠ²ΡΡΠ²ΠΈΡΠ΅Π»ΡΠ½ΠΎΡΡΡ ΡΠ»Π΅Π΄ΡΡΠ΅Π³ΠΎ AF (ΡΠΎΠ»ΡΠΊΠΎ Π΄Π»Ρ ILCE-7RM2)
ΠΠΎΠ³Π΄Π° ΠΊΠ°ΠΌΠ΅ΡΠ° ILCE-7RM2 ΡΠ°Π±ΠΎΡΠ°Π΅Ρ Π² ΡΠ΅ΠΆΠΈΠΌΠ΅ Π²ΠΈΠ΄Π΅ΠΎ, Π½Π°ΡΡΡΠΎΠΉΠΊΠ° ΡΡΠ²ΡΡΠ²ΠΈΡΠ΅Π»ΡΠ½ΠΎΡΡΠΈ ΡΠ»Π΅Π΄ΡΡΠ΅Π³ΠΎ AF Π΄ΠΎΡΡΡΠΏΠ½Π°; Π΅Π΅ ΠΌΠΎΠΆΠ½ΠΎ Π½Π°ΡΡΡΠ°ΠΈΠ²Π°ΡΡ ΡΠ΅ΡΠ΅Π· ΠΌΠ΅Π½Ρ ΠΊΠ°ΠΌΠ΅ΡΡ. ΠΠΎΠΆΠ½ΠΎ Π²ΡΠ±ΡΠ°ΡΡ ΠΎΠΏΡΠΈΠΌΠ°Π»ΡΠ½ΡΡ Π½Π°ΡΡΡΠΎΠΉΠΊΡ ΡΡΠ²ΡΡΠ²ΠΈΡΠ΅Π»ΡΠ½ΠΎΡΡΠΈ ΡΠ»Π΅Π΄ΡΡΠ΅ΠΉ ΠΠ€ ΠΏΡΠΈ Π²ΠΈΠ΄Π΅ΠΎΡΡΠ΅ΠΌΠΊΠ΅ Π΄Π»Ρ Π±ΠΎΠ»Π΅Π΅ ΡΡΡΠ΅ΠΊΡΠΈΠ²Π½ΠΎΠ³ΠΎ ΡΠ΅Π°Π³ΠΈΡΠΎΠ²Π°Π½ΠΈΡ Π² ΡΠ°Π·Π»ΠΈΡΠ½ΡΡ
ΡΠΈΡΡΠ°ΡΠΈΡΡ
, Π½Π°ΠΏΡΠΈΠΌΠ΅Ρ ΠΏΡΠΈ ΡΡΠ΅ΠΌΠΊΠ΅ Π±ΡΡΡΡΠΎΠ΄Π²ΠΈΠΆΡΡΠΈΡ
ΡΡ ΠΎΠ±ΡΠ΅ΠΊΡΠΎΠ² ΠΈΠ»ΠΈ ΡΡΠ΅Π½Ρ Ρ Π±ΠΎΠ»ΡΡΠΈΠΌ ΠΊΠΎΠ»ΠΈΡΠ΅ΡΡΠ²ΠΎΠΌ ΠΎΠ±ΡΠ΅ΠΊΡΠΎΠ², ΠΊΠΎΡΠΎΡΡΠ΅ ΠΌΠΎΠ³ΡΡ ΠΎΡΠ²Π»Π΅ΠΊΠ°ΡΡ ΡΠΈΡΡΠ΅ΠΌΡ AF.
ΠΡΠΈ Π½Π°ΡΡΡΠΎΠΉΠΊΠ΅ ΡΡΠ²ΡΡΠ²ΠΈΡΠ΅Π»ΡΠ½ΠΎΡΡΠΈ ΡΠ»Π΅Π΄ΡΡΠ΅Π³ΠΎ AF ΠΌΠΎΠΆΠ½ΠΎ ΠΎΠΏΡΠ΅Π΄Π΅Π»ΠΈΡΡ ΡΠΊΠΎΡΠΎΡΡΡ ΡΠ΅Π°ΠΊΡΠΈΠΈ ΠΊΠ°ΠΌΠ΅ΡΡ ΠΏΡΠΈ ΠΎΡΡΠ»Π΅ΠΆΠΈΠ²Π°Π½ΠΈΠΈ Π΄Π²ΠΈΠΆΠ΅Π½ΠΈΡ ΠΎΠ±ΡΠ΅ΠΊΡΠΎΠ².
ΠΠ΅ΡΠΎΠ΄ Π½Π°ΡΡΡΠΎΠΉΠΊΠΈ
MENU > (ΠΠ°ΡΡΡΠΎΠΉΠΊΠΈ) > [Π§ΡΠ²ΡΡΠ²ΠΈΡ. ΡΠ»Π΅Π΄ΡΡ. AF] > Π½Π΅ΠΎΠ±Ρ ΠΎΠ΄ΠΈΠΌΠ°Ρ Π½Π°ΡΡΡΠΎΠΉΠΊΠ°
- ΠΠ°ΡΠΈΠ°Π½ΡΡ Π²ΡΠ±ΠΎΡΠ° ΠΏΡΠ½ΠΊΡΠΎΠ² ΠΌΠ΅Π½Ρ
- ΠΡΡΠΎΠΊΠ°Ρ: ΡΡΠΎΡ ΡΠ΅ΠΆΠΈΠΌ ΡΠ΄ΠΎΠ±Π΅Π½ Π΄Π»Ρ ΡΡΠ΅ΠΌΠΊΠΈ Π±ΡΡΡΡΠΎΠ΄Π²ΠΈΠΆΡΡΠΈΡ ΡΡ ΠΎΠ±ΡΠ΅ΠΊΡΠΎΠ² ΠΏΡΠΈ ΡΡΠ΅ΠΌΠΊΠ΅ Π²ΠΈΠ΄Π΅ΠΎ.
- ΠΠΎΡΠΌΠ°Π»ΡΠ½Π°Ρ: ΡΡΠΎΡ ΡΠ΅ΠΆΠΈΠΌ ΡΠ΄ΠΎΠ±Π΅Π½ Π΄Π»Ρ ΡΠΎΡ ΡΠ°Π½Π΅Π½ΠΈΡ ΡΠΎΠΊΡΡΠ° Π½Π° ΠΎΠΏΡΠ΅Π΄Π΅Π»Π΅Π½Π½ΠΎΠΌ ΠΎΠ±ΡΠ΅ΠΊΡΠ΅ ΡΡΠ΅ΠΌΠΊΠΈ, ΠΊΠΎΠ³Π΄Π° ΠΎΠ½ ΠΏΠ΅ΡΠΈΠΎΠ΄ΠΈΡΠ΅ΡΠΊΠΈ Π·Π°ΡΠ»ΠΎΠ½ΡΠ΅ΡΡΡ Π΄ΡΡΠ³ΠΈΠΌΠΈ ΡΠ»ΡΡΠ°ΠΉΠ½ΡΠΌΠΈ ΠΎΠ±ΡΠ΅ΠΊΡΠ°ΠΌΠΈ, Π½Π°ΠΏΡΠΈΠΌΠ΅Ρ ΠΏΡΠΈ ΡΡΠ΅ΠΌΠΊΠ΅ ΡΡΠ΅Π½ Ρ Π±ΠΎΠ»ΡΡΠΈΠΌ ΠΊΠΎΠ»ΠΈΡΠ΅ΡΡΠ²ΠΎΠΌ Π»ΡΠ΄Π΅ΠΉ.
Π‘ΠΊΠΎΡΠΎΡΡΡ AF (ΡΠΎΠ»ΡΠΊΠΎ Π΄Π»Ρ ILCE-7RM2)
ΠΠΎΠ³Π΄Π° ΠΊΠ°ΠΌΠ΅ΡΠ° ILCE-7RM2 ΡΡΡΠ°Π½ΠΎΠ²Π»Π΅Π½Π° Π² ΡΠ΅ΠΆΠΈΠΌ Π²ΠΈΠ΄Π΅ΠΎ Π΄ΠΎΡΡΡΠΏΠ½Π° Π½Π°ΡΡΡΠΎΠΉΠΊΠ° ΡΠΊΠΎΡΠΎΡΡΠΈΒ AF. ΠΡΡ ΡΡΠ½ΠΊΡΠΈΡ ΠΌΠΎΠΆΠ½ΠΎ Π½Π°ΡΡΡΠ°ΠΈΠ²Π°ΡΡ ΡΠ΅ΡΠ΅Π· Π³Π»Π°Π²Π½ΠΎΠ΅ ΠΌΠ΅Π½Ρ ΠΊΠ°ΠΌΠ΅ΡΡ. Π‘ ΠΏΠΎΠΌΠΎΡΡΡ ΡΡΠΎΠΉ ΡΡΠ½ΠΊΡΠΈΠΈ ΠΌΠΎΠΆΠ½ΠΎ ΠΏΠ΅ΡΠ΅ΠΊΠ»ΡΡΠ°ΡΡ ΡΠΊΠΎΡΠΎΡΡΡ ΡΠΎΠΊΡΡΠΈΡΠΎΠ²ΠΊΠΈ ΠΏΡΠΈ ΠΈΡΠΏΠΎΠ»ΡΠ·ΠΎΠ²Π°Π½ΠΈΠΈ Π°Π²ΡΠΎΡΠΎΠΊΡΡΠΈΡΠΎΠ²ΠΊΠΈ Π² ΡΠ΅ΠΆΠΈΠΌΠ΅ Π²ΠΈΠ΄Π΅ΠΎ.
ΠΠ΅ΡΠΎΠ΄ Π½Π°ΡΡΡΠΎΠΉΠΊΠΈ
MENU > (ΠΠ°ΡΡΡΠΎΠΉΠΊΠΈ) > [Π‘ΠΊΠΎΡΠΎΡΡΡ AF] > ΡΡΠ΅Π±ΡΠ΅ΠΌΠ°Ρ Π½Π°ΡΡΡΠΎΠΉΠΊΠ°
- ΠΠ°ΡΠΈΠ°Π½ΡΡ Π²ΡΠ±ΠΎΡΠ° ΠΏΡΠ½ΠΊΡΠΎΠ² ΠΌΠ΅Π½Ρ
- ΠΡΡΡΡΠ°Ρ: ΡΡΡΠ°Π½ΠΎΠ²ΠΊΠ° Π±ΡΡΡΡΠΎΠΉ ΡΠΊΠΎΡΠΎΡΡΠΈ ΡΠ°Π±ΠΎΡΡ ΠΏΡΠΈΠ²ΠΎΠ΄Π° ΡΠΈΡΡΠ΅ΠΌΡ Π°Π²ΡΠΎΡΠΎΠΊΡΡΠΈΡΠΎΠ²ΠΊΠΈ.
ΠΡΠΎΡ ΡΠ΅ΠΆΠΈΠΌ ΠΏΠΎΠ΄Ρ
ΠΎΠ΄ΠΈΡ Π΄Π»Ρ ΡΡΠ΅ΠΌΠΊΠΈ Π΄ΠΈΠ½Π°ΠΌΠΈΡΠ½ΡΡ
ΡΡΠ΅Π½, Π½Π°ΠΏΡΠΈΠΌΠ΅Ρ, ΡΠΏΠΎΡΡΠΈΠ²Π½ΡΡ
ΡΠΎΡΠ΅Π²Π½ΠΎΠ²Π°Π½ΠΈΠΉ. - ΠΠΎΡΠΌΠ°Π»ΡΠ½Π°Ρ: ΡΡΡΠ°Π½ΠΎΠ²ΠΊΠ° Π½ΠΎΡΠΌΠ°Π»ΡΠ½ΠΎΠΉ ΡΠΊΠΎΡΠΎΡΡΠΈ ΡΠ°Π±ΠΎΡΡ ΠΏΡΠΈΠ²ΠΎΠ΄Π° ΡΠΈΡΡΠ΅ΠΌΡ Π°Π²ΡΠΎΡΠΎΠΊΡΡΠΈΡΠΎΠ²ΠΊΠΈ; ΡΡΠ° ΡΡΠ½ΠΊΡΠΈΡ ΡΠ΅ΠΊΠΎΠΌΠ΅Π½Π΄ΡΠ΅ΡΡΡ Π΄Π»Ρ ΡΡΠ΅ΠΌΠΊΠΈ Π±ΠΎΠ»ΡΡΠΈΠ½ΡΡΠ²Π° ΡΡΠ΅Π½.
- ΠΠ΅Π΄Π»Π΅Π½Π½Π°Ρ: ΡΡΡΠ°Π½ΠΎΠ²ΠΊΠ° ΠΌΠ΅Π΄Π»Π΅Π½Π½ΠΎΠΉ ΡΠΊΠΎΡΠΎΡΡΠΈ ΡΠ°Π±ΠΎΡΡ ΠΏΡΠΈΠ²ΠΎΠ΄Π° ΡΠΈΡΡΠ΅ΠΌΡ Π°Π²ΡΠΎΡΠΎΠΊΡΡΠΈΡΠΎΠ²ΠΊΠΈ. Π ΡΡΠΎΠΌ ΡΠ΅ΠΆΠΈΠΌΠ΅ ΡΠΎΠΊΡΡ ΠΏΠ΅ΡΠ΅ΠΊΠ»ΡΡΠ°Π΅ΡΡΡ ΠΏΠ»Π°Π²Π½ΠΎ ΠΏΡΠΈ ΠΈΠ·ΠΌΠ΅Π½Π΅Π½ΠΈΠΈ ΡΠΎΡΠΊΠΈ ΡΠΎΠΊΡΡΠΈΡΠΎΠ²ΠΊΠΈ Ρ ΠΎΠ΄Π½ΠΎΠ³ΠΎ ΠΎΠ±ΡΠ΅ΠΊΡΠ° Π½Π° Π΄ΡΡΠ³ΠΎΠΉ. ΠΡΠΎΡ ΡΠ΅ΠΆΠΈΠΌ ΡΠ΄ΠΎΠ±Π΅Π½ Π΄Π»Ρ ΠΏΠΎΠ»ΡΡΠ΅Π½ΠΈΡ Π²ΡΡΠ°Π·ΠΈΡΠ΅Π»ΡΠ½ΡΡ ΡΠ΅Π·ΡΠ»ΡΡΠ°ΡΠΎΠ². ΠΡΠ»ΠΈ ΡΠΊΠΎΡΠΎΡΡΡ ΡΠ°Π±ΠΎΡΡ ΠΏΡΠΈΠ²ΠΎΠ΄Π° ΡΠΈΡΡΠ΅ΠΌΡ Π°Π²ΡΠΎΡΠΎΠΊΡΡΠΈΡΠΎΠ²ΠΊΠΈ ΡΠ»ΠΈΡΠΊΠΎΠΌ Π±ΡΡΡΡΠ°Ρ, ΡΡΠΎ ΠΌΠΎΠΆΠ΅Ρ ΠΏΡΠΈΠ²Π΅ΡΡΠΈ ΠΊ Π½Π΅ΠΆΠ΅Π»Π°ΡΠ΅Π»ΡΠ½ΡΠΌ Π²ΠΈΠ·ΡΠ°Π»ΡΠ½ΡΠΌ ΡΡΡΠ΅ΠΊΡΠ°ΠΌ, ΠΏΠΎΡΡΠΎΠΌΡ ΡΠ΅ΠΊΠΎΠΌΠ΅Π½Π΄ΡΠ΅ΡΡΡ Π²ΡΠ±ΠΈΡΠ°ΡΡ Π±ΠΎΠ»Π΅Π΅ Π½ΠΈΠ·ΠΊΡΡ ΡΠΊΠΎΡΠΎΡΡΡ Π΄Π»Ρ ΠΏΠ»Π°Π²Π½ΠΎΠ³ΠΎ ΠΏΠ΅ΡΠ΅ΠΊΠ»ΡΡΠ΅Π½ΠΈΡ ΡΠΎΠΊΡΡΠ° Ρ ΠΎΠ΄Π½ΠΎΠΉ ΡΠΎΡΠΊΠΈ Π½Π° Π΄ΡΡΠ³ΡΡ.
ΠΠ½Π°ΡΠ΅Π½ΠΈΠ΅ Π½Π°ΡΡΡΠΎΠΉΠΊΠΈ ΡΠΊΠΎΡΠΎΡΡΠΈ ΠΏΡΠΈΠ²ΠΎΠ΄Π° ΡΠΈΡΡΠ΅ΠΌΡΒ AF
Π Π΄Π°Π½Π½ΠΎΠΌ ΡΠΎΠ»ΠΈΠΊΠ΅ Π΄Π΅ΠΌΠΎΠ½ΡΡΡΠΈΡΡΡΡΡΡ ΡΠ°Π·Π»ΠΈΡΠΈΡ ΠΌΠ΅ΠΆΠ΄Ρ Π·Π½Π°ΡΠ΅Π½ΠΈΡΠΌΠΈ [ΠΡΡΡΡΠ°Ρ], [ΠΠΎΡΠΌΠ°Π»ΡΠ½Π°Ρ] ΠΈ [ΠΠ΅Π΄Π»Π΅Π½Π½Π°Ρ] ΠΏΡΠΈ Π½Π°ΡΡΡΠΎΠΉΠΊΠ΅ ΡΠΊΠΎΡΠΎΡΡΠΈ ΡΠ°Π±ΠΎΡΡ ΡΠΈΡΡΠ΅ΠΌΡΒ AF. ΠΡΠΈ ΠΈΠ·ΠΌΠ΅Π½Π΅Π½ΠΈΠΈ Π·Π½Π°ΡΠ΅Π½ΠΈΡ Ρ [ΠΡΡΡΡΠ°Ρ] Π½Π° [ΠΠΎΡΠΌΠ°Π»ΡΠ½Π°Ρ] ΠΊΠ°ΠΌΠ΅ΡΠ΅ ΠΏΠΎΡΡΠ΅Π±ΡΠ΅ΡΡΡ ΠΏΡΠΈΠ±Π»ΠΈΠ·ΠΈΡΠ΅Π»ΡΠ½ΠΎ Π² Π΄Π²Π° ΡΠ°Π·Π° Π±ΠΎΠ»ΡΡΠ΅ Π²ΡΠ΅ΠΌΠ΅Π½ΠΈ Π΄Π»Ρ ΡΠΎΠΊΡΡΠΈΡΠΎΠ²ΠΊΠΈ.
ΠΠΎΠ΄Ρ ΠΎΠ΄ΡΡΠΈΠ΅ ΠΎΠ±ΡΠ΅ΠΊΡΠΈΠ²Ρ Π΄Π»Ρ ΠΈΡΠΏΠΎΠ»ΡΠ·ΠΎΠ²Π°Π½ΠΈΡ ΡΡΠ½ΠΊΡΠΈΠΉ Β«Π§ΡΠ²ΡΡΠ²ΠΈΡΠ΅Π»ΡΠ½ΠΎΡΡΡ ΡΠ»Π΅Π΄ΡΡΠ΅Π³ΠΎ AFΒ» ΠΈ Β«Π‘ΠΊΠΎΡΠΎΡΡΡ ΠΠ€Β» (ΡΠΎΠ»ΡΠΊΠΎ Π΄Π»Ρ ILCE-7RM2)
ΠΡΠΈ ΠΏΠΎΠΏΡΡΠΊΠ΅ Π²ΡΠ±ΡΠ°ΡΡ ΡΡΠ½ΠΊΡΠΈΡ Β«Π§ΡΠ²ΡΡΠ²ΠΈΡΠ΅Π»ΡΠ½ΠΎΡΡΡ ΡΠ»Π΅Π΄ΡΡΠ΅Π³ΠΎ AFΒ» ΠΈΠ»ΠΈ Β«Π‘ΠΊΠΎΡΠΎΡΡΡ Π°Π²ΡΠΎΡΠΎΠΊΡΡΠΈΡΠΎΠ²ΠΊΠΈΒ» ΠΊΠ°ΠΌΠ΅ΡΠ° ΠΌΠΎΠΆΠ΅Ρ ΠΎΡΠΎΠ±ΡΠ°Π·ΠΈΡΡ ΡΠ»Π΅Π΄ΡΡΡΠ΅Π΅ ΡΠΎΠΎΠ±ΡΠ΅Π½ΠΈΠ΅, Π² ΡΠ΅Π·ΡΠ»ΡΡΠ°ΡΠ΅ ΡΠ΅Π³ΠΎ Π½Π°ΡΡΡΠΎΠΉΠΊΠΈ Π±ΡΠ΄ΡΡ Π½Π΅Π΄ΠΎΡΡΡΠΏΠ½Ρ, Π½Π΅ΡΠΌΠΎΡΡΡ Π½Π° ΡΠΎ, ΡΡΠΎ ΠΊΠ°ΠΌΠ΅ΡΠ° Π½Π°Ρ ΠΎΠ΄ΠΈΡΡΡ Π² ΡΠ΅ΠΆΠΈΠΌΠ΅ Π²ΠΈΠ΄Π΅ΠΎ. ΠΡΠΎ ΠΏΡΠΎΠΈΡΡ ΠΎΠ΄ΠΈΡ Π² ΡΠΎΠΌ ΡΠ»ΡΡΠ°Π΅, Π΅ΡΠ»ΠΈ ΠΎΠ±ΡΠ΅ΠΊΡΠΈΠ² Π² Π½Π΅ ΠΏΠΎΠ΄Π΄Π΅ΡΠΆΠΈΠ²Π°Π΅Ρ ΡΠΈΡΡΠ΅ΠΌΡ ΡΠ°Π·ΠΎΠ²ΠΎΠΉ Π°Π²ΡΠΎΡΠΎΠΊΡΡΠΈΡΠΎΠ²ΠΊΠΈ; Π² ΡΡΠΎΠΌ ΡΠ»ΡΡΠ°Π΅ ΠΏΡΠΈΠ²Π΅Π΄Π΅Π½Π½ΡΠ΅ Π²ΡΡΠ΅ ΡΡΠ½ΠΊΡΠΈΠΈ Π½Π΅ Π±ΡΠ΄ΡΡ ΡΠ°Π±ΠΎΡΠ°ΡΡ.
Π‘Π²Π΅Π΄Π΅Π½ΠΈΡ ΠΎ ΠΏΠΎΠ΄Π΄Π΅ΡΠΆΠΈΠ²Π°Π΅ΠΌΡΡ ΠΎΠ±ΡΠ΅ΠΊΡΠΈΠ²Π°Ρ ΡΠΌ. Π½Π° ΡΠΎΠΎΡΠ²Π΅ΡΡΡΠ²ΡΡΡΠ΅ΠΉ ΡΡΡΠ°Π½ΠΈΡΠ΅ [Π‘ΠΎΠ²ΠΌΠ΅ΡΡΠΈΠΌΠΎΡΡΡ ΠΎΠ±ΡΠ΅ΠΊΡΠΈΠ²ΠΎΠ²], Π³Π΄Π΅ ΡΡΠ΅Π±ΡΠ΅ΡΡΡ Π²ΡΠ±ΡΠ°ΡΡ ΠΌΠΎΠ΄Π΅Π»Ρ ΠΊΠ°ΠΌΠ΅ΡΡ ΠΈ ΠΎΠ±ΡΠ΅ΠΊΡΠΈΠ².
- ΠΡΠ»ΠΈ ΠΎΠΏΠΈΡΠ°Π½ΠΈΠ΅ ΡΠΎΠΊΠ°Π»ΡΠ½ΠΎΠΉ ΠΏΠ»ΠΎΡΠΊΠΎΡΡΠΈ ΡΠ°Π·ΠΎΠ²ΠΎΠ³ΠΎ Π°Π²ΡΠΎΡΠΎΠΊΡΡΠ° ΠΈΠ»ΠΈ Π±ΡΡΡΡΠΎΠΉ Π³ΠΈΠ±ΡΠΈΠ΄Π½ΠΎΠΉ ΡΠΎΠΊΡΡΠΈΡΠΎΠ²ΠΊΠΈ ΠΎΡΡΡΡΡΡΠ²ΡΠ΅Ρ, ΠΎΠ±ΡΠ΅ΠΊΡΠΈΠ² ΠΏΠΎΠ΄Π΄Π΅ΡΠΆΠΈΠ²Π°Π΅Ρ Π΄Π°Π½Π½ΡΠ΅ ΡΡΠ½ΠΊΡΠΈΠΈ.

- ΠΡΠ»ΠΈ ΠΈΠΌΠ΅Π΅ΡΡΡ ΠΏΡΠΈΠΌΠ΅ΡΠ°Π½ΠΈΠ΅, Π² ΠΊΠΎΡΠΎΡΠΎΠΌ Π³ΠΎΠ²ΠΎΡΠΈΡΡΡ ΠΎ ΡΠΎΠΌ, ΡΡΠΎ ΡΠΎΠΊΠ°Π»ΡΠ½Π°Ρ ΠΏΠ»ΠΎΡΠΊΠΎΡΡΡ ΡΠ°Π·ΠΎΠ²ΠΎΠ³ΠΎ Π°Π²ΡΠΎΡΠΎΠΊΡΡΠ° ΠΈΠ»ΠΈ Π±ΡΡΡΡΠ°Ρ Π³ΠΈΠ±ΡΠΈΠ΄Π½Π°Ρ ΡΠΎΠΊΡΡΠΈΡΠΎΠ²ΠΊΠ° Π½Π΅ ΡΠ°Π±ΠΎΡΠ°Π΅Ρ, ΠΎΠ±ΡΠ΅ΠΊΡΠΈΠ² Π½Π΅ ΠΏΠΎΠ΄Π΄Π΅ΡΠΆΠΈΠ²Π°Π΅Ρ Π΄Π°Π½Π½ΡΠ΅ ΡΡΠ½ΠΊΡΠΈΠΈ ΠΈ Π²Ρ Π½Π΅ ΡΠΌΠΎΠΆΠ΅ΡΠ΅ ΠΈΠΌΠΈ ΠΏΠΎΠ»ΡΠ·ΠΎΠ²Π°ΡΡΡΡ.
- ΠΡΠ»ΠΈ ΠΈΠΌΠ΅Π΅ΡΡΡ ΠΏΡΠΈΠΌΠ΅ΡΠ°Π½ΠΈΠ΅, Π² ΠΊΠΎΡΠΎΡΠΎΠΌ Π³ΠΎΠ²ΠΎΡΠΈΡΡΡ, ΡΡΠΎ ΡΡΠ΅Π±ΡΠ΅ΡΡΡ ΠΎΠ±Π½ΠΎΠ²ΠΈΡΡ ΡΠΈΡΡΠ΅ΠΌΠ½ΠΎΠ΅ ΠΏΡΠΎΠ³ΡΠ°ΠΌΠΌΠ½ΠΎΠ΅ ΠΎΠ±Π΅ΡΠΏΠ΅ΡΠ΅Π½ΠΈΠ΅ ΠΊΠ°ΠΌΠ΅ΡΡ/ΠΎΠ±ΡΠ΅ΠΊΡΠΈΠ²Π° Π΄Π»Ρ ΠΈΡΠΏΠΎΠ»ΡΠ·ΠΎΠ²Π°Π½ΠΈΡ ΡΠΎΠΊΠ°Π»ΡΠ½ΠΎΠΉ ΠΏΠ»ΠΎΡΠΊΠΎΡΡΠΈ ΡΠ°Π·ΠΎΠ²ΠΎΠ³ΠΎ Π°Π²ΡΠΎΡΠΎΠΊΡΡΠ° ΠΈΠ»ΠΈ Π±ΡΡΡΡΠΎΠΉ Π³ΠΈΠ±ΡΠΈΠ΄Π½ΠΎΠΉ Π°Π²ΡΠΎΡΠΎΠΊΡΡΠΈΡΠΎΠ²ΠΊΠΈ, Π²ΡΠΏΠΎΠ»Π½ΠΈΡΠ΅ ΠΎΠ±Π½ΠΎΠ²Π»Π΅Π½ΠΈΠ΅ ΠΏΡΠΎΠ³ΡΠ°ΠΌΠΌΠ½ΠΎΠ³ΠΎ ΠΎΠ±Π΅ΡΠΏΠ΅ΡΠ΅Π½ΠΈΡ.
ΠΡΠΏΠΎΠ»ΡΠ·ΠΎΠ²Π°Π½ΠΈΠ΅ ΠΎΠ±ΡΠ΅ΠΊΡΠΈΠ²ΠΎΠ² Ρ Π±Π°ΠΉΠΎΠ½Π΅ΡΠΎΠΌ A
ΠΠ»Ρ ΡΡΡΠ°Π½ΠΎΠ²ΠΊΠΈ ΠΎΠ±ΡΠ΅ΠΊΡΠΈΠ²ΠΎΠ² Ρ Π±Π°ΠΉΠΎΠ½Π΅ΡΠΎΠΌΒ A ΠΎΡ Sony Π½Π° ΠΊΠ°ΠΌΠ΅ΡΡ ILCE-7RM2/7M2 ΡΡΠ΅Π±ΡΠ΅ΡΡΡ Π±Π°ΠΉΠΎΠ½Π΅ΡΠ½ΡΠΉ Π°Π΄Π°ΠΏΡΠ΅Ρ. ΠΠΎΡΡΡΠΏΠ½ΠΎΡΡΡ ΡΡΠ½ΠΊΡΠΈΠΉ ΡΠΈΡΡΠ΅ΠΌΡ Π°Π²ΡΠΎΡΠΎΠΊΡΡΠΈΡΠΎΠ²ΠΊΠΈ ΠΌΠΎΠΆΠ΅Ρ ΠΈΠ·ΠΌΠ΅Π½ΡΡΡΡΡ Π² Π·Π°Π²ΠΈΡΠΈΠΌΠΎΡΡΠΈ ΠΎΡ Π±Π°ΠΉΠΎΠ½Π΅ΡΠ½ΠΎΠ³ΠΎ Π°Π΄Π°ΠΏΡΠ΅ΡΠ°.
ΠΠ°ΠΉΠΎΠ½Π΅ΡΠ½ΡΠΉ Π°Π΄Π°ΠΏΡΠ΅Ρ LA-EA1/LA-EA3
ΠΠΎΡΡΡΠΏΠ½Ρ ΠΈ ΠΊΠΎΠ½ΡΡΠ°ΡΡΠ½ΡΠΉ AF, ΠΈ ΡΠΎΠΊΠ°Π»ΡΠ½Π°Ρ ΠΏΠ»ΠΎΡΠΊΠΎΡΡΡ ΡΠ°Π·ΠΎΠ²ΠΎΠ³ΠΎΒ AF. ΠΠ°ΡΡΡΠΎΠΉΠΊΠΎΠΉ ΠΏΠΎ ΡΠΌΠΎΠ»ΡΠ°Π½ΠΈΡ ΡΠ²Π»ΡΠ΅ΡΡΡ ΡΠ°Π·ΠΎΠ²ΡΠΉ Π°Π²ΡΠΎΡΠΎΠΊΡΡ, ΠΎΠ΄Π½Π°ΠΊΠΎ ΡΠΈΡΡΠ΅ΠΌΡ ΠΎΠΏΡΠ΅Π΄Π΅Π»Π΅Π½ΠΈΡ ΡΠΎΠΊΡΡΠ° ΠΌΠΎΠΆΠ½ΠΎ ΠΈΠ·ΠΌΠ΅Π½ΠΈΡΡ Π½Π° ΠΊΠΎΠ½ΡΡΠ°ΡΡΠ½ΡΡ Π² MENU > (ΠΠΎΠ»ΡΠ·ΠΎΠ².
Π½Π°ΡΡΡΠΎΠΉΠΊΠΈ) > [Π‘ΠΈΡΡΠ΅ΠΌΠ° AF] > [ΠΠΎΠ½ΡΡΠ°ΡΡΠ½ΡΠΉ AF].
ΠΡΠΈ ΠΈΡΠΏΠΎΠ»ΡΠ·ΠΎΠ²Π°Π½ΠΈΠΈ ILCE-7M2 ΡΡΠ΅Π±ΡΠ΅ΡΡΡ ΡΡΡΠ°Π½ΠΎΠ²ΠΈΡΡ ΠΎΠ±Π½ΠΎΠ²Π»Π΅Π½ΠΈΠ΅ ΡΠΈΡΡΠ΅ΠΌΠ½ΠΎΠ³ΠΎ ΠΠ (Π²Π΅ΡΡΠΈΠΈ 2.00 ΠΈΠ»ΠΈ Π±ΠΎΠ»Π΅Π΅ ΠΏΠΎΠ·Π΄Π½Π΅ΠΉ) Π΄Π»Ρ ΡΠ°Π±ΠΎΡΡ Ρ ΡΠ°Π·ΠΎΠ²ΠΎΠΉ ΡΠΈΡΡΠ΅ΠΌΠΎΠΉ AF. ΠΠΎΡΠ»Π΅ Π²ΡΠΏΠΎΠ»Π½Π΅Π½ΠΈΡ ΠΎΠ±Π½ΠΎΠ²Π»Π΅Π½ΠΈΡ Π² ΠΌΠ΅Π½Ρ ΠΎΡΠΎΠ±ΡΠ°Π·ΡΡΡΡ ΡΠΎΠΎΡΠ²Π΅ΡΡΡΠ²ΡΡΡΠΈΠ΅ Π½Π°ΡΡΡΠΎΠΉΠΊΠΈ.
- ΠΡΠΈ Π²ΡΠ±ΠΎΡΠ΅ ΡΠΈΡΡΠ΅ΠΌΡ ΡΠ°Π·ΠΎΠ²ΠΎΠ³ΠΎ AF ΠΎΠΏΡΠΈΠΈ [ΠΠΎΠ½Π½Π°Ρ ΡΠΎΠΊΡΡΠΈΡΠΎΠ².], [Π Π΅Π³.ΠΏΡΡΠ½ΠΎ ΠΠ€] (ΡΠΎΠ»ΡΠΊΠΎ Π΄Π»Ρ ILCE-7RM2), [Π‘Π»Π΅Π΄ΡΡΠΈΠΉ AF] ΠΈ [AF Π½Π° Π³Π»Π°Π·] Π½Π΅Π΄ΠΎΡΡΡΠΏΠ½Ρ. ΠΡΠΎΠ±ΡΠ°ΠΆΠ°Π΅ΡΡΡ ΡΠΎΠΎΠ±ΡΠ΅Π½ΠΈΠ΅ Ρ ΠΏΡΠ΅Π΄ΡΠΏΡΠ΅ΠΆΠ΄Π΅Π½ΠΈΠ΅ΠΌ ΠΏΡΠΎ ΠΎΠ±ΡΠ΅ΠΊΡΠΈΠ².
- ΠΡΠΈ Π²ΡΠ±ΠΎΡΠ΅ ΡΠΈΡΡΠ΅ΠΌΡ ΠΊΠΎΠ½ΡΡΠ°ΡΡΠ½ΠΎΠΉΒ AF ΠΎΠΏΡΠΈΡ [ΠΠ΅ΠΏΡΠ΅ΡΡΠ²Π½ΡΠΉ AF] (AF-C) Π½Π΅Π΄ΠΎΡΡΡΠΏΠ½Π°. ΠΡΠΎΠ±ΡΠ°ΠΆΠ°Π΅ΡΡΡ ΡΠΎΠΎΠ±ΡΠ΅Π½ΠΈΠ΅ Ρ ΠΏΡΠ΅Π΄ΡΠΏΡΠ΅ΠΆΠ΄Π΅Π½ΠΈΠ΅ΠΌ ΠΏΡΠΎ ΠΎΠ±ΡΠ΅ΠΊΡΠΈΠ².
- ΠΡΠ»ΠΈ Π΄Π»Ρ ΠΏΠ°ΡΠ°ΠΌΠ΅ΡΡΠ° [Π‘ΠΈΡΡΠ΅ΠΌΠ° AF] ΡΡΡΠ°Π½ΠΎΠ²Π»Π΅Π½ΠΎ Π·Π½Π°ΡΠ΅Π½ΠΈΠ΅ [Π€Π°Π·ΠΎΠ². Π΄Π΅ΡΠ΅ΠΊΡΠΈΡ.AF], Π΄Π°ΠΆΠ΅ Π΅ΡΠ»ΠΈ Π΄Π»Ρ [Π£ΡΡΠ°Π½.ΠΏΡΠΈΠΎΡ.Π² AF-S] Π²ΡΠ±ΡΠ°Π½ΠΎ [ΠΠΊΡΠ΅Π½Ρ Π½Π° Π±Π°Π»Π°Π½Ρ], ΠΊΠ°ΠΌΠ΅ΡΠ° Π²ΡΠ΅ΠΌΠ΅Π½Π½ΠΎ ΠΏΠ΅ΡΠ΅ΠΊΠ»ΡΡΠΈΡΡΡ Π½Π° Π²Π°ΡΠΈΠ°Π½Ρ [AF].
ΠΠ°ΠΉΠΎΠ½Π΅ΡΠ½ΡΠΉ Π°Π΄Π°ΠΏΡΠ΅Ρ LA-EA2/LA-EA4
ΠΠΎΡΡΡΠΏΠ½Π° ΡΠΎΠ»ΡΠΊΠΎ ΡΠ°Π·ΠΎΠ²Π°Ρ Π°Π²ΡΠΎΡΠΎΠΊΡΡΠΈΡΠΎΠ²ΠΊΠ°, Π·Π° ΡΠΏΡΠ°Π²Π»Π΅Π½ΠΈΠ΅ ΠΊΠΎΡΠΎΡΠΎΠΉ ΠΎΡΠ²Π΅ΡΠ°Π΅Ρ ΡΠΏΠ΅ΡΠΈΠ°Π»ΡΠ½ΡΠΉ Π΄Π°ΡΡΠΈΠΊ AF Π²Π½ΡΡΡΠΈ Π±Π°ΠΉΠΎΠ½Π΅ΡΠ½ΠΎΠ³ΠΎ Π°Π΄Π°ΠΏΡΠ΅ΡΠ°; ΠΏΠΎΡΡΠΎΠΌΡ Π±ΡΠ΄Π΅Ρ ΠΈΡΠΏΠΎΠ»ΡΠ·ΠΎΠ²Π°ΡΡΡΡ ΡΠΈΡΡΠ΅ΠΌΠ° AF Π±Π°ΠΉΠΎΠ½Π΅ΡΠ½ΠΎΠ³ΠΎ Π°Π΄Π°ΠΏΡΠ΅ΡΠ°.
ΠΠΎΡΡΡΠΏΠ½ΡΠ΅ Π²Π°ΡΠΈΠ°Π½ΡΡ ΠΎΠ±Π»Π°ΡΡΠΈ ΡΠΎΠΊΡΡΠΈΡΠΎΠ²ΠΊΠΈ: [Π¨ΠΈΡΠΎΠΊΠ°Ρ ΠΠ€] (15-ΡΠΎΡΠ΅ΡΠ½Π°Ρ ΠΎΠ±Π»Π°ΡΡΡ ΡΠΎΠΊΡΡΠΈΡΠΎΠ²ΠΊΠΈ), [Π¦Π΅Π½ΡΡ], [Π Π΅Π³. ΠΏΡΡΠ½ΠΎ ΠΠ€] (15-ΡΠΎΡΠ΅ΡΠ½Π°Ρ ΠΎΠ±Π»Π°ΡΡΡ), [Π‘Π»Π΅Π΄ΡΡΠΈΠΉ AF].
- ΠΠ°ΡΠ°ΠΌΠ΅ΡΡ [AF Π½Π° Π³Π»Π°Π·] Π½Π΅Π΄ΠΎΡΡΡΠΏΠ΅Π½.
- ΠΠ°ΠΆΠ΅ Π΅ΡΠ»ΠΈ Π΄Π»Ρ [Π£ΡΡΠ°Π½.ΠΏΡΠΈΠΎΡ.Π² AF-S] Π²ΡΠ±ΡΠ°Π½ΠΎ [ΠΠΊΡΠ΅Π½Ρ Π½Π° Π±Π°Π»Π°Π½Ρ], ΠΊΠ°ΠΌΠ΅ΡΠ° Π²ΡΠ΅ΠΌΠ΅Π½Π½ΠΎ ΠΏΠ΅ΡΠ΅ΠΊΠ»ΡΡΠΈΡΡΡ Π½Π° Π²Π°ΡΠΈΠ°Π½Ρ [AF].
- ΠΠ°ΠΆΠ΅ Π΅ΡΠ»ΠΈ Π΄Π»Ρ [Π£ΡΡΠ°Π½.ΠΏΡΠΈΠΎΡ.Π² AF-C] Π²ΡΠ±ΡΠ°Π½ΠΎ [ΠΠΊΡΠ΅Π½Ρ Π½Π° Π±Π°Π»Π°Π½Ρ], ΠΊΠ°ΠΌΠ΅ΡΠ° Π²ΡΠ΅ΠΌΠ΅Π½Π½ΠΎ ΠΏΠ΅ΡΠ΅ΠΊΠ»ΡΡΠΈΡΡΡ Π½Π° Π²Π°ΡΠΈΠ°Π½Ρ [ΠΠ°ΡΠ²ΠΎΡ].
β11: ΡΠ°Π·ΠΎΠ²Π°Ρ Π°Π²ΡΠΎΡΠΎΠΊΡΡΠΈΡΠΎΠ²ΠΊΠ°
Π ΡΡΠΎΠΉ ΡΡΠ°ΡΡΠ΅:
Π€Π°Π·ΠΎΠ΄Π΅ΡΠ΅ΠΊΡΠΈΡΡΡΡΠΈΠΉ AF (ΡΠ°ΠΊΠΆΠ΅ ΠΈΠ·Π²Π΅ΡΡΠ½ΡΠΉ ΠΊΠ°ΠΊ ΡΠ°Π·ΠΎΠ²ΠΎ-ΡΠ°Π·Π½ΠΎΡΡΠ½ΡΠΉ AF ΠΈΠ»ΠΈ ΡΠ°Π·ΠΎΠ²ΠΎ-ΡΠ°Π·Π½ΠΎΡΡΠ½ΡΠΉ AF) β ΡΡΠΎ ΡΠΈΡΡΠ΅ΠΌΠ° Π°Π²ΡΠΎΡΠΎΠΊΡΡΠΈΡΠΎΠ²ΠΊΠΈ, ΠΈΡΠΏΠΎΠ»ΡΠ·ΡΠ΅ΠΌΠ°Ρ ΠΏΡΠΈ ΡΡΠ΅ΠΌΠΊΠ΅ Ρ Π²ΠΈΠ΄ΠΎΠΈΡΠΊΠ°ΡΠ΅Π»Π΅ΠΌ Π½Π° ΡΠΈΡΡΠΎΠ²ΡΡ
Π·Π΅ΡΠΊΠ°Π»ΡΠ½ΡΡ
ΠΊΠ°ΠΌΠ΅ΡΠ°Ρ
. ΠΠ³ΠΎ Π³Π»Π°Π²Π½Π°Ρ ΠΎΡΠΎΠ±Π΅Π½Π½ΠΎΡΡΡ Π·Π°ΠΊΠ»ΡΡΠ°Π΅ΡΡΡ Π² Π±ΡΡΡΡΠΎΠΉ ΡΠΊΠΎΡΠΎΡΡΠΈ Π°Π²ΡΠΎΡΠΎΠΊΡΡΠΈΡΠΎΠ²ΠΊΠΈ.
ΠΠ°Π»Π΅Π΅ ΠΌΡ ΡΠ°ΡΡΠΊΠ°ΠΆΠ΅ΠΌ ΠΏΠΎΠ΄ΡΠΎΠ±Π½Π΅Π΅ ΠΎ ΡΠ°Π·ΠΎΠ²ΠΎΠΉ Π°Π²ΡΠΎΡΠΎΠΊΡΡΠΈΡΠΎΠ²ΠΊΠ΅ ΠΈ ΠΎ ΡΠΎΠΌ, ΠΊΠ°ΠΊ Π² ΡΠΈΡΡΠ΅ΠΌΠ΅ Π°Π²ΡΠΎΡΠΎΠΊΡΡΠΈΡΠΎΠ²ΠΊΠΈ Canon Dual Pixel CMOS AF ΠΈΡΠΏΠΎΠ»ΡΠ·ΡΡΡΡΡ Π½ΠΎΠ²Π΅ΠΉΡΠΈΠ΅ ΡΠ΅Ρ
Π½ΠΎΠ»ΠΎΠ³ΠΈΠΈ Π°Π²ΡΠΎΡΠΎΠΊΡΡΠΈΡΠΎΠ²ΠΊΠΈ, ΠΏΠΎΠ·Π²ΠΎΠ»ΡΡΡΠΈΠ΅ Π²ΡΠΏΠΎΠ»Π½ΡΡΡ ΡΠ°Π·ΠΎΠ²ΡΡ Π°Π²ΡΠΎΡΠΎΠΊΡΡΠΈΡΠΎΠ²ΠΊΡ Π΄Π°ΠΆΠ΅ Π² ΡΠ΅ΠΆΠΈΠΌΠ΅ Live View. (Π‘ΠΎΠΎΠ±ΡΠΈΠ» Π’ΠΎΠΌΠΎΠΊΠΎ Π‘ΡΠ΄Π·ΡΠΊΠΈ)
Β
Π€Π°Π·ΠΎΠ²Π°Ρ Π°Π²ΡΠΎΡΠΎΠΊΡΡΠΈΡΠΎΠ²ΠΊΠ° β ΡΡΠΎ ΡΠΈΡΡΠ΅ΠΌΠ° Π°Π²ΡΠΎΡΠΎΠΊΡΡΠΈΡΠΎΠ²ΠΊΠΈ, ΠΈΡΠΏΠΎΠ»ΡΠ·ΡΠ΅ΠΌΠ°Ρ ΠΏΡΠΈ ΡΡΠ΅ΠΌΠΊΠ΅ Ρ ΠΈΡΠΏΠΎΠ»ΡΠ·ΠΎΠ²Π°Π½ΠΈΠ΅ΠΌ Π²ΠΈΠ΄ΠΎΠΈΡΠΊΠ°ΡΠ΅Π»Ρ Π½Π° ΡΠΈΡΡΠΎΠ²ΡΡ Π·Π΅ΡΠΊΠ°Π»ΡΠ½ΡΡ ΠΊΠ°ΠΌΠ΅ΡΠ°Ρ .
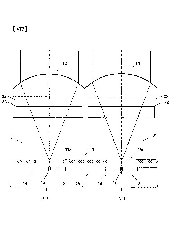
— Π’ΡΠ΅Π±ΡΠ΅ΡΡΡ Π·Π΅ΡΠΊΠ°Π»ΡΠ½ΡΠΉ ΠΌΠ΅Ρ Π°Π½ΠΈΠ·ΠΌ, ΠΊΠΎΡΠΎΡΡΠΉ ΡΠ°Π·Π΄Π΅Π»ΡΠ΅Ρ ΡΠ²Π΅Ρ, ΠΏΠΎΠΏΠ°Π΄Π°ΡΡΠΈΠΉ Π² ΠΎΠ±ΡΠ΅ΠΊΡΠΈΠ², Π° ΡΠ°ΠΊΠΆΠ΅ ΠΎΡΠ΄Π΅Π»ΡΠ½ΡΠΉ Π΄Π°ΡΡΠΈΠΊ Π°Π²ΡΠΎΡΠΎΠΊΡΡΠΈΡΠΎΠ²ΠΊΠΈ.
Π€Π°Π·ΠΎΠ²ΡΠΉ Π°Π²ΡΠΎΡΠΎΠΊΡΡ β ΡΡΠΎ ΡΠΈΡΡΠ΅ΠΌΠ° Π°Π²ΡΠΎΡΠΎΠΊΡΡΠΈΡΠΎΠ²ΠΊΠΈ, ΠΈΡΠΏΠΎΠ»ΡΠ·ΡΠ΅ΠΌΠ°Ρ ΠΏΡΠΈ ΡΡΠ΅ΠΌΠΊΠ΅ Ρ Π²ΠΈΠ΄ΠΎΠΈΡΠΊΠ°ΡΠ΅Π»Π΅ΠΌ Π½Π° ΡΠΈΡΡΠΎΠ²ΡΡ
Π·Π΅ΡΠΊΠ°Π»ΡΠ½ΡΡ
ΠΊΠ°ΠΌΠ΅ΡΠ°Ρ
. ΠΠ½ ΡΠ°Π±ΠΎΡΠ°Π΅Ρ ΠΏΡΡΠ΅ΠΌ ΡΠ°Π·Π΄Π΅Π»Π΅Π½ΠΈΡ ΡΠ²Π΅ΡΠ°, ΠΏΠΎΠΏΠ°Π΄Π°ΡΡΠ΅Π³ΠΎ Π² ΠΎΠ±ΡΠ΅ΠΊΡΠΈΠ², Π½Π° Π΄Π²Π°, ΡΠ°ΠΊ ΡΡΠΎ ΠΎΠ½ ΡΠΎΡΠΌΠΈΡΡΠ΅Ρ Π΄Π²Π° ΠΈΠ·ΠΎΠ±ΡΠ°ΠΆΠ΅Π½ΠΈΡ. ΠΡΠ½ΠΎΠ²ΡΠ²Π°ΡΡΡ Π½Π° ΡΠ°Π·Π½ΠΈΡΠ΅ Π² ΠΏΠΎΠ»ΠΎΠΆΠ΅Π½ΠΈΠΈ ΡΠΎΡΠΊΠΈ ΡΠΎΠΊΡΡΠΈΡΠΎΠ²ΠΊΠΈ ΠΌΠ΅ΠΆΠ΄Ρ ΡΡΠΈΠΌΠΈ Π΄Π²ΡΠΌΡ ΠΈΠ·ΠΎΠ±ΡΠ°ΠΆΠ΅Π½ΠΈΡΠΌΠΈ, ΠΊΠ°ΠΌΠ΅ΡΠ° Π²ΡΡΠΈΡΠ»ΡΠ΅Ρ ΡΡΠ΅Π±ΡΠ΅ΠΌΠΎΠ΅ Π½Π°ΠΏΡΠ°Π²Π»Π΅Π½ΠΈΠ΅ (ΠΊ ΠΊΠ°ΠΌΠ΅ΡΠ΅ ΠΈΠ»ΠΈ ΠΎΡ ΠΊΠ°ΠΌΠ΅ΡΡ) ΠΈ Π²Π΅Π»ΠΈΡΠΈΠ½Ρ (ΡΠ°ΡΡΡΠΎΡΠ½ΠΈΠ΅) Π΄Π»Ρ ΠΏΠ΅ΡΠ΅ΠΌΠ΅ΡΠ΅Π½ΠΈΡ ΠΎΠ±ΡΠ΅ΠΊΡΠΈΠ²Π° Π΄Π»Ρ Π΄ΠΎΡΡΠΈΠΆΠ΅Π½ΠΈΡ ΡΠΎΠΊΡΡΠΈΡΠΎΠ²ΠΊΠΈ ΠΈ ΠΏΠ΅ΡΠ΅ΠΌΠ΅ΡΠ°Π΅Ρ ΠΎΠ±ΡΠ΅ΠΊΡΠΈΠ² ΡΠΎΠΎΡΠ²Π΅ΡΡΡΠ²Π΅Π½Π½ΠΎ.
ΠΠ€ Ρ ΠΎΠΏΡΠ΅Π΄Π΅Π»Π΅Π½ΠΈΠ΅ΠΌ ΡΠ°Π·Ρ ΠΏΠΎΠ·Π²ΠΎΠ»ΡΠ΅Ρ Π±ΡΡΡΡΠΎ ΡΡΡΠ°Π½ΠΎΠ²ΠΈΡΡ Π°Π²ΡΠΎΡΠΎΠΊΡΡ, ΠΏΠΎΡΠΊΠΎΠ»ΡΠΊΡ ΠΊΠ°ΠΌΠ΅ΡΠ° ΡΠΎΡΠ½ΠΎ Π·Π½Π°Π΅Ρ, Π½Π°ΡΠΊΠΎΠ»ΡΠΊΠΎ ΠΈ Π² ΠΊΠ°ΠΊΠΎΠΌ Π½Π°ΠΏΡΠ°Π²Π»Π΅Π½ΠΈΠΈ Π½ΡΠΆΠ½ΠΎ ΡΠΌΠ΅ΡΡΠΈΡΡ ΡΠΎΠΊΡΡΠΈΡΠΎΠ²ΠΎΡΠ½ΡΠΉ ΠΎΠ±ΡΠ΅ΠΊΡΠΈΠ². ΠΠ΄Π½Π°ΠΊΠΎ Π΄Π»Ρ ΡΡΠΎΠΉ ΡΠΎΡΠΌΡ AF ΡΡΠ΅Π±ΡΠ΅ΡΡΡ ΡΠΏΠ΅ΡΠΈΠ°Π»ΡΠ½ΡΠΉ Π΄Π°ΡΡΠΈΠΊ AF Π²ΠΌΠ΅ΡΡΠ΅ Ρ ΠΌΠ΅Ρ Π°Π½ΠΈΠ·ΠΌΠΎΠΌ, ΠΊΠΎΡΠΎΡΡΠΉ ΡΠ°Π·Π΄Π΅Π»ΡΠ΅Ρ ΡΠ²Π΅Ρ ΠΌΠ΅ΠΆΠ΄Ρ Π΄Π°ΡΡΠΈΠΊΠΎΠΌ AF ΠΈ Π΄Π°ΡΡΠΈΠΊΠΎΠΌ ΠΈΠ·ΠΎΠ±ΡΠ°ΠΆΠ΅Π½ΠΈΡ, ΠΊΠΎΡΠΎΡΡΠΉ ΠΏΡΠ΅ΠΎΠ±ΡΠ°Π·ΡΠ΅Ρ ΡΠ²Π΅Ρ, ΠΏΠΎΠΏΠ°Π΄Π°ΡΡΠΈΠΉ Π² ΠΎΠ±ΡΠ΅ΠΊΡΠΈΠ², Π² ΠΈΠ·ΠΎΠ±ΡΠ°ΠΆΠ΅Π½ΠΈΠ΅. ΠΡΠΎ Π·Π°ΡΡΡΠ΄Π½ΡΠ΅Ρ ΠΊΠΎΠΌΠΏΠ°ΠΊΡΠ½ΠΎΡΡΡ ΠΊΠΎΡΠΏΡΡΠ° ΠΊΠ°ΠΌΠ΅ΡΡ.
Β
Π€Π°Π·ΠΎΠ²ΡΠΉ Π°Π²ΡΠΎΡΠΎΠΊΡΡ ΠΏΠΎΠ·Π²ΠΎΠ»ΡΠ΅Ρ Π±ΡΡΡΡΠΎ ΡΡΠΎΠΊΡΡΠΈΡΠΎΠ²Π°ΡΡΡΡ, ΠΏΠΎΡΠΊΠΎΠ»ΡΠΊΡ ΠΎΠ½ Π·Π½Π°Π΅Ρ ΡΠ°ΡΡΡΠΎΡΠ½ΠΈΠ΅ ΠΈ Π½Π°ΠΏΡΠ°Π²Π»Π΅Π½ΠΈΠ΅ ΠΎΡ ΠΎΠ±ΡΠ΅ΠΊΡΠ°
ΠΡΠΈΠΌΠ΅Ρ ΡΠ°Π·ΠΎΠ²ΠΎΠ³ΠΎ ΠΠ€
ΠΡΠΈΠΌΠ΅Ρ ΠΊΠΎΠ½ΡΡΠ°ΡΡΠ½ΠΎΠ³ΠΎ ΠΠ€
Π§ΡΠΎΠ±Ρ Π»ΡΡΡΠ΅ ΠΏΠΎΠ½ΡΡΡ, Π΄Π°Π²Π°ΠΉΡΠ΅ ΠΏΡΠ΅Π΄ΡΡΠ°Π²ΠΈΠΌ ΡΠΈΡΡΠ°ΡΠΈΡ, ΠΊΠΎΠ³Π΄Π° Π²Π°ΠΌ Π½ΡΠΆΠ½ΠΎ ΡΠ°Π·Π΄Π΅Π»ΠΈΡΡ Π°ΡΠ±ΡΠ·. Π€Π°Π·ΠΎΠ΄Π΅ΡΠ΅ΠΊΡΠΈΡΡΡΡΠ°Ρ Π°Π²ΡΠΎΡΠΎΠΊΡΡΠΈΡΠΎΠ²ΠΊΠ° ΠΏΠΎΡ ΠΎΠΆΠ° Π½Π° ΠΏΠΎΠΏΡΡΠΊΡ Π΄ΠΎΠ±ΡΠ°ΡΡΡΡ Π΄ΠΎ Π°ΡΠ±ΡΠ·Π° Π±Π΅Π· ΠΏΠΎΠ²ΡΠ·ΠΊΠΈ Π½Π° Π³Π»Π°Π·Π°Ρ . ΠΡ ΡΠΆΠ΅ Π·Π½Π°Π΅ΡΠ΅ ΡΠ°ΡΡΡΠΎΡΠ½ΠΈΠ΅ ΠΈ Π½Π°ΠΏΡΠ°Π²Π»Π΅Π½ΠΈΠ΅ Π΄ΠΎ Π°ΡΠ±ΡΠ·Π°, ΠΈ ΡΡΠΎ Π·Π½Π°Π½ΠΈΠ΅ ΠΏΠΎΠ·Π²ΠΎΠ»ΡΠ΅Ρ Π²Π°ΠΌ Π±ΡΡΡΡΠΎ Π΄Π²ΠΈΠ³Π°ΡΡΡΡ ΠΊ Π½Π΅ΠΌΡ.
ΠΠ΅ΠΆΠ΄Ρ ΡΠ΅ΠΌ, ΠΊΠΎΠ½ΡΡΠ°ΡΡΠ½ΡΠΉ AF Π±ΡΠ» Π±Ρ ΠΏΠΎΡ
ΠΎΠΆ Π½Π° ΠΏΠΎΠΏΡΡΠΊΡ Π΄ΠΎΠ±ΡΠ°ΡΡΡΡ Π΄ΠΎ Π°ΡΠ±ΡΠ·Π° Ρ Π·Π°Π²ΡΠ·Π°Π½Π½ΡΠΌΠΈ Π³Π»Π°Π·Π°ΠΌΠΈ.
ΠΠΎΡΠΊΠΎΠ»ΡΠΊΡ Π²Ρ Π½Π΅ ΠΌΠΎΠΆΠ΅ΡΠ΅ Π·Π½Π°ΡΡ ΡΠ°ΡΡΡΠΎΡΠ½ΠΈΠ΅ ΠΈ Π½Π°ΠΏΡΠ°Π²Π»Π΅Π½ΠΈΠ΅ Π΄ΠΎ Π°ΡΠ±ΡΠ·Π°, Π²Π°ΠΌ Π½ΡΠΆΠ½ΠΎ ΠΏΠ΅ΡΠ΅Π΄Π²ΠΈΠ³Π°ΡΡΡΡ, ΡΡΠΎΠ±Ρ ΠΏΠΎΠΏΡΡΠ°ΡΡΡΡ ΠΎΠΏΡΠ΅Π΄Π΅Π»ΠΈΡΡ Π΅Π³ΠΎ ΠΏΠΎΠ»ΠΎΠΆΠ΅Π½ΠΈΠ΅. ΠΠΎΡ ΠΏΠΎΡΠ΅ΠΌΡ ΠΊΠΎΠ½ΡΡΠ°ΡΡΠ½ΠΎΠΌΡ Π°Π²ΡΠΎΡΠΎΠΊΡΡΡ ΡΡΠ΅Π±ΡΠ΅ΡΡΡ Π±ΠΎΠ»ΡΡΠ΅ Π²ΡΠ΅ΠΌΠ΅Π½ΠΈ Π΄Π»Ρ ΡΠΎΠΊΡΡΠΈΡΠΎΠ²ΠΊΠΈ Π½Π° ΠΎΠ±ΡΠ΅ΠΊΡΠ΅ ΠΏΠΎ ΡΡΠ°Π²Π½Π΅Π½ΠΈΡ Ρ ΡΠ°Π·ΠΎΠ²ΡΠΌ Π°Π²ΡΠΎΡΠΎΠΊΡΡΠΎΠΌ.
Β
Π‘Π²ΡΠ·Π°Π½Π½Π°Ρ ΠΊΠΎΠ½ΡΠ΅ΠΏΡΠΈΡ 1: ΠΠΈΠ½Π΅ΠΉΠ½ΡΠΉ Π΄Π°ΡΡΠΈΠΊ ΠΈ Π΄Π°ΡΡΠΈΠΊ ΠΊΡΠ΅ΡΡΠΎΠ²ΠΎΠ³ΠΎ ΡΠΈΠΏΠ°
Π‘Ρ Π΅ΠΌΠ° ΡΠ°ΡΠΏΠΎΠ»ΠΎΠΆΠ΅Π½ΠΈΡ Π»ΠΈΠ½Π΅ΠΉΠ½ΠΎΠ³ΠΎ Π΄Π°ΡΡΠΈΠΊΠ° ΠΈ Π΄Π°ΡΡΠΈΠΊΠ° ΠΊΡΠ΅ΡΡΠΎΠ²ΠΎΠ³ΠΎ ΡΠΈΠΏΠ°
ΠΠ°ΡΡΠΈΠΊ ΠΊΡΠ΅ΡΡΠΎΠ²ΠΎΠ³ΠΎ ΡΠΈΠΏΠ° ΠΎΠ±Π΅ΡΠΏΠ΅ΡΠΈΠ²Π°Π΅Ρ Π²ΡΡΠΎΠΊΡΡ ΡΠΎΡΠ½ΠΎΡΡΡ Π°Π²ΡΠΎΡΠΎΠΊΡΡΠΈΡΠΎΠ²ΠΊΠΈ
A: ΠΎΠΏΡΠ΅Π΄Π΅Π»ΡΠ΅Ρ Π³ΠΎΡΠΈΠ·ΠΎΠ½ΡΠ°Π»ΡΠ½ΡΡ Π»ΠΈΠ½ΠΈΡ ΠΎΠ±ΡΠ΅ΠΊΡΠ°
B: ΠΎΠΏΡΠ΅Π΄Π΅Π»ΡΠ΅Ρ Π²Π΅ΡΡΠΈΠΊΠ°Π»ΡΠ½ΡΡ Π»ΠΈΠ½ΠΈΡ ΠΎΠ±ΡΠ΅ΠΊΡΠ°
ΠΠ°ΡΡΠΈΠΊ Π°Π²ΡΠΎΡΠΎΠΊΡΡΠΈΡΠΎΠ²ΠΊΠΈ ΡΠΈΡΡΠΎΠ²ΠΎΠΉ Π·Π΅ΡΠΊΠ°Π»ΡΠ½ΠΎΠΉ ΡΠΎΡΠΎΠΊΠ°ΠΌΠ΅ΡΡ ΠΈΠΌΠ΅Π΅Ρ Π΄Π²Π° ΡΠΈΠΏΠ° Π΄Π°ΡΡΠΈΠΊΠΎΠ²: Π΄Π°ΡΡΠΈΠΊ Π»ΠΈΠ½ΠΈΠΈ ΠΈ Π΄Π°ΡΡΠΈΠΊ ΠΊΡΠ΅ΡΡΠΎΠ²ΠΎΠ³ΠΎ ΡΠΈΠΏΠ°. ΠΠΈΠ½Π΅ΠΉΠ½ΡΠ΅ Π΄Π°ΡΡΠΈΠΊΠΈ ΠΎΡΠΈΠ΅Π½ΡΠΈΡΠΎΠ²Π°Π½Ρ Π»ΠΈΠ±ΠΎ Π²Π΅ΡΡΠΈΠΊΠ°Π»ΡΠ½ΠΎ, Π»ΠΈΠ±ΠΎ Π³ΠΎΡΠΈΠ·ΠΎΠ½ΡΠ°Π»ΡΠ½ΠΎ, ΠΏΠΎΡΡΠΎΠΌΡ ΠΎΠ½ΠΈ ΠΌΠΎΠ³ΡΡ ΠΎΠ±Π½Π°ΡΡΠΆΠΈΠ²Π°ΡΡ ΡΠΎΠ»ΡΠΊΠΎ Π³ΠΎΡΠΈΠ·ΠΎΠ½ΡΠ°Π»ΡΠ½ΡΡ ΠΈΠ»ΠΈ Π²Π΅ΡΡΠΈΠΊΠ°Π»ΡΠ½ΡΡ Π»ΠΈΠ½ΠΈΡ ΠΎΠ±ΡΠ΅ΠΊΡΠ°. ΠΠ΄Π½Π°ΠΊΠΎ Π΄Π°ΡΡΠΈΠΊΠΈ ΠΊΡΠ΅ΡΡΠΎΠ²ΠΎΠ³ΠΎ ΡΠΈΠΏΠ°, ΠΊΠΎΡΠΎΡΡΠ΅ ΡΠΎΡΡΠΎΡΡ ΠΈΠ· Π»ΠΈΠ½Π΅ΠΉΠ½ΡΡ
Π΄Π°ΡΡΠΈΠΊΠΎΠ², ΡΠ°ΡΠΏΠΎΠ»ΠΎΠΆΠ΅Π½Π½ΡΡ
ΠΊΡΠ΅ΡΡΠΎΠΎΠ±ΡΠ°Π·Π½ΠΎ, ΡΠΏΠΎΡΠΎΠ±Π½Ρ ΠΎΠ±Π½Π°ΡΡΠΆΠΈΠ²Π°ΡΡ ΠΊΠ°ΠΊ Π²Π΅ΡΡΠΈΠΊΠ°Π»ΡΠ½ΡΠ΅, ΡΠ°ΠΊ ΠΈ Π³ΠΎΡΠΈΠ·ΠΎΠ½ΡΠ°Π»ΡΠ½ΡΠ΅ Π»ΠΈΠ½ΠΈΠΈ ΠΎΠ±ΡΠ΅ΠΊΡΠ° ΠΈ, ΠΊΠ°ΠΊ ΡΠ»Π΅Π΄ΡΡΠ²ΠΈΠ΅, ΠΈΠΌΠ΅ΡΡ Π±ΠΎΠ»Π΅Π΅ Π²ΡΡΠΎΠΊΡΡ ΡΠΎΡΠ½ΠΎΡΡΡ Π΄ΠΎΡΡΠΈΠΆΠ΅Π½ΠΈΡ ΡΠΎΠΊΡΡΠΈΡΠΎΠ²ΠΊΠΈ.
ΠΠ°ΠΌΠ΅ΡΡ Π½Π°ΡΠ°Π»ΡΠ½ΠΎΠ³ΠΎ ΡΡΠΎΠ²Π½Ρ, ΡΠ°ΠΊΠΈΠ΅ ΠΊΠ°ΠΊ EOS 1300D, ΠΎΠ±ΡΡΠ½ΠΎ ΠΈΠΌΠ΅ΡΡ ΡΠΎΠ»ΡΠΊΠΎ ΠΎΠ΄Π½Ρ ΡΠΎΡΠΊΡ Π°Π²ΡΠΎΡΠΎΠΊΡΡΠΈΡΠΎΠ²ΠΊΠΈ ΠΊΡΠ΅ΡΡΠΎΠ²ΠΎΠ³ΠΎ ΡΠΈΠΏΠ°, ΡΠ°ΡΠΏΠΎΠ»ΠΎΠΆΠ΅Π½Π½ΡΡ Π² ΡΠ΅Π½ΡΡΠ΅. ΠΠ΄Π½Π°ΠΊΠΎ Π±ΠΎΠ»Π΅Π΅ Π½ΠΎΠ²ΡΠ΅ ΠΌΠΎΠ΄Π΅Π»ΠΈ ΠΊΠ°ΠΌΠ΅Ρ, ΡΠ°ΠΊΠΈΠ΅ ΠΊΠ°ΠΊ EOS 77D ΠΈ EOS 800D, ΠΎΡΠ½Π°ΡΠ΅Π½Ρ Π΄Π°ΡΡΠΈΠΊΠ°ΠΌΠΈ ΠΊΡΠ΅ΡΡΠΎΠ²ΠΎΠ³ΠΎ ΡΠΈΠΏΠ° Π΄Π»Ρ Π²ΡΠ΅Ρ 45 ΡΠΎΡΠ΅ΠΊ Π°Π²ΡΠΎΡΠΎΠΊΡΡΠΈΡΠΎΠ²ΠΊΠΈ. ΠΡΠΎΡ Π΄ΠΈΠ·Π°ΠΉΠ½ ΠΏΠΎΠ΄Ρ ΠΎΠ΄ΠΈΡ Π΄Π°ΠΆΠ΅ Π΄Π»Ρ ΠΏΡΠΎΠ΄Π²ΠΈΠ½ΡΡΡΡ ΠΏΠΎΠ»ΡΠ·ΠΎΠ²Π°ΡΠ΅Π»Π΅ΠΉ, ΠΊΠΎΡΠΎΡΡΠ΅ Ρ ΠΎΡΡΡ ΠΈΠΌΠ΅ΡΡ Π²ΠΎΠ·ΠΌΠΎΠΆΠ½ΠΎΡΡΡ ΠΎΡΠ³Π°Π½ΠΈΠ·ΠΎΠ²Π°ΡΡ ΡΠ²ΠΎΡ ΠΊΠΎΠΌΠΏΠΎΠ·ΠΈΡΠΈΡ ΡΠ°ΠΊ, ΡΡΠΎΠ±Ρ ΠΈΡ ΠΎΠ±ΡΠ΅ΠΊΡ ΠΌΠΎΠΆΠ½ΠΎ Π±ΡΠ»ΠΎ ΡΠ°Π·ΠΌΠ΅ΡΡΠΈΡΡ Π² Π»ΡΠ±ΠΎΠΌ ΠΌΠ΅ΡΡΠ΅ ΠΊΠ°Π΄ΡΠ°. ΠΠ»Π°Π³ΠΎΠ΄Π°ΡΡ Π±ΠΎΠ»ΡΡΠ΅ΠΌΡ ΠΊΠΎΠ»ΠΈΡΠ΅ΡΡΠ²Ρ Π΄Π°ΡΡΠΈΠΊΠΎΠ² ΠΊΡΠ΅ΡΡΠΎΠ²ΠΎΠ³ΠΎ ΡΠΈΠΏΠ° ΡΠΎΠΊΡΡΠΈΡΠΎΠ²ΠΊΠ° ΠΌΠΎΠΆΠ΅Ρ Π±ΡΡΡ Π΄ΠΎΡΡΠΈΠ³Π½ΡΡΠ° Π±ΡΡΡΡΠΎ, Π΄Π°ΠΆΠ΅ Π΅ΡΠ»ΠΈ ΠΎΠ±ΡΠ΅ΠΊΡ Π½Π°Ρ ΠΎΠ΄ΠΈΡΡΡ Ρ ΠΊΡΠ°Π΅Π² ΠΊΠ°Π΄ΡΠ°.
Β
Π‘Π²ΡΠ·Π°Π½Π½Π°Ρ ΠΊΠΎΠ½ΡΠ΅ΠΏΡΠΈΡ 2: Dual Pixel CMOS AF
ΠΠ° ΠΊΠ°ΠΌΠ΅ΡΠ°Ρ , ΠΎΡΠ½Π°ΡΠ΅Π½Π½ΡΡ Dual Pixel CMOS AF, ΡΠ°Π·ΠΎΠ²ΡΡ Π°Π²ΡΠΎΡΠΎΠΊΡΡΠΈΡΠΎΠ²ΠΊΡ ΠΌΠΎΠΆΠ½ΠΎ ΠΈΡΠΏΠΎΠ»ΡΠ·ΠΎΠ²Π°ΡΡ Π² ΡΠ΅ΠΆΠΈΠΌΠ΅ Live View Π² ΡΠΈΡΠΎΠΊΠΎΠΉ ΠΎΠ±Π»Π°ΡΡΠΈ, ΠΎΡΠΌΠ΅ΡΠ΅Π½Π½ΠΎΠΉ ΠΊΡΠ°ΡΠ½ΡΠΌ, Π±Π΅Π· ΠΈΡΠΏΠΎΠ»ΡΠ·ΠΎΠ²Π°Π½ΠΈΡ ΠΎΡΠ΄Π΅Π»ΡΠ½ΠΎΠ³ΠΎ Π‘Π΅Π½ΡΠΎΡ ΠΠ€. ΠΡΡΡΡΠ°Ρ ΠΈ ΡΠΎΡΠ½Π°Ρ ΡΠΎΠΊΡΡΠΈΡΠΎΠ²ΠΊΠ° ΠΌΠΎΠΆΠ΅Ρ Π±ΡΡΡ Π΄ΠΎΡΡΠΈΠ³Π½ΡΡΠ° Π΄Π°ΠΆΠ΅ Π½Π° Π΄Π²ΠΈΠΆΡΡΠΈΡ ΡΡ ΠΎΠ±ΡΠ΅ΠΊΡΠ°Ρ .
Dual Pixel CMOS AF β Π½ΠΎΠ²Π΅ΠΉΡΠ°Ρ ΡΠΈΡΡΠ΅ΠΌΠ° Π°Π²ΡΠΎΡΠΎΠΊΡΡΠΈΡΠΎΠ²ΠΊΠΈ, ΡΠ°Π·ΡΠ°Π±ΠΎΡΠ°Π½Π½Π°Ρ Canon.
ΠΠ½ ΠΏΠΎΠ·Π²ΠΎΠ»ΡΠ΅Ρ ΠΈΡΠΏΠΎΠ»ΡΠ·ΠΎΠ²Π°ΡΡ ΡΠ°Π·ΠΎΠ²ΡΡ Π°Π²ΡΠΎΡΠΎΠΊΡΡΠΈΡΠΎΠ²ΠΊΡ Π² ΡΠ΅ΠΆΠΈΠΌΠ΅ Live View ΠΈ Π²ΠΈΠ΄Π΅ΠΎΡΡΠ΅ΠΌΠΊΠ΅, Π² ΡΠΎ Π²ΡΠ΅ΠΌΡ ΠΊΠ°ΠΊ Π½Π° ΠΏΡΠ΅Π΄ΡΠ΄ΡΡΠΈΡ
ΡΠΈΡΡΠΎΠ²ΡΡ
Π·Π΅ΡΠΊΠ°Π»ΡΠ½ΡΡ
ΡΠΎΡΠΎΠΊΠ°ΠΌΠ΅ΡΠ°Ρ
Π΅Π΅ ΠΌΠΎΠΆΠ½ΠΎ Π±ΡΠ»ΠΎ ΠΈΡΠΏΠΎΠ»ΡΠ·ΠΎΠ²Π°ΡΡ ΡΠΎΠ»ΡΠΊΠΎ ΠΏΡΠΈ ΡΡΠ΅ΠΌΠΊΠ΅ Ρ Π²ΠΈΠ΄ΠΎΠΈΡΠΊΠ°ΡΠ΅Π»Π΅ΠΌ. ΠΠΎΡΠΊΠΎΠ»ΡΠΊΡ Π²ΡΠ΅ ΠΏΠΈΠΊΡΠ΅Π»ΠΈ Π½Π° Π΄Π°ΡΡΠΈΠΊΠ΅ ΠΈΠ·ΠΎΠ±ΡΠ°ΠΆΠ΅Π½ΠΈΡ Dual Pixel CMOS AF ΠΎΡΠ½Π°ΡΠ΅Π½Ρ Π΄Π°ΡΡΠΈΠΊΠ°ΠΌΠΈ ΠΎΠ±Π½Π°ΡΡΠΆΠ΅Π½ΠΈΡ ΡΠ°Π·Ρ, Π΄Π»Ρ Π½Π΅Π³ΠΎ Π½Π΅ ΡΡΠ΅Π±ΡΠ΅ΡΡΡ ΠΎΡΠ΄Π΅Π»ΡΠ½ΡΠΉ Π΄Π°ΡΡΠΈΠΊ AF, ΠΏΠΎΡΡΠΎΠΌΡ Π΅Π³ΠΎ ΠΌΠΎΠΆΠ½ΠΎ ΡΠ΅Π°Π»ΠΈΠ·ΠΎΠ²Π°ΡΡ Π² Π±Π΅Π·Π·Π΅ΡΠΊΠ°Π»ΡΠ½ΡΡ
ΠΊΠ°ΠΌΠ΅ΡΠ°Ρ
, ΡΠ°ΠΊΠΈΡ
ΠΊΠ°ΠΊ ΡΠ΅ΡΠΈΡ EOS M. ΠΠ°ΡΡΠ΄Ρ Ρ ΠΏΠ»Π°Π²Π½ΠΎΠΉ ΠΈ Π±ΡΡΡΡΠΎΠΉ ΡΠΎΠΊΡΡΠΈΡΠΎΠ²ΠΊΠΎΠΉ ΠΎΠ½ ΠΌΠΎΠΆΠ΅Ρ Π»Π΅Π³ΠΊΠΎ Π½Π°Π²ΠΎΠ΄ΠΈΡΡ ΡΠΎΠΊΡΡ Π΄Π°ΠΆΠ΅ Π½Π° Π΄Π²ΠΈΠΆΡΡΠΈΠ΅ΡΡ ΠΎΠ±ΡΠ΅ΠΊΡΡ.
Β
Π ΡΠ»Π΅Π΄ΡΡΡΠ΅ΠΌ ΡΠΎΠ»ΠΈΠΊΠ΅ ΠΏΠΎΠΊΠ°Π·Π°Π½ΠΎ, ΠΊΠ°ΠΊ ΡΠ΅Ρ Π½ΠΎΠ»ΠΎΠ³ΠΈΡ Dual Pixel CMOS AF ΠΏΠΎΠΌΠΎΠ³Π°Π΅Ρ ΠΏΡΠΈ Π²ΠΈΠ΄Π΅ΠΎΡΡΠ΅ΠΌΠΊΠ΅ β Π½Π΅ΠΊΠΎΡΠΎΡΡΠ΅ ΠΌΠΎΠΌΠ΅Π½ΡΡ ΠΏΡΠΈΠΌΠ΅Π½ΠΈΠΌΡ ΠΈ ΠΊ ΡΠΎΡΠΎΠ³ΡΠ°ΡΠΈΠΈ!
Β
ΠΠΎΠ»ΡΡΠ°ΠΉΡΠ΅ ΠΏΠΎΡΠ»Π΅Π΄Π½ΠΈΠ΅ Π½ΠΎΠ²ΠΎΡΡΠΈ ΠΎ ΡΠΎΡΠΎΠ³ΡΠ°ΡΠΈΠΈ, ΡΠΎΠ²Π΅ΡΡ ΠΈ ΡΠ΅ΠΊΠΎΠΌΠ΅Π½Π΄Π°ΡΠΈΠΈ, ΠΏΠΎΠ΄ΠΏΠΈΡΠ°Π²ΡΠΈΡΡ Ρ Π½Π°Ρ!
Β
ΠΡΡΠ½Π°Π» Π΄Π»Ρ ΡΠΈΡΡΠΎΠ²ΡΡ ΡΠΎΡΠΎΠ°ΠΏΠΏΠ°ΡΠ°ΡΠΎΠ²
ΠΠΆΠ΅ΠΌΠ΅ΡΡΡΠ½ΡΠΉ ΠΆΡΡΠ½Π°Π», ΠΊΠΎΡΠΎΡΡΠΉ ΡΡΠΈΡΠ°Π΅Ρ, ΡΡΠΎ ΡΠ΄ΠΎΠ²ΠΎΠ»ΡΡΡΠ²ΠΈΠ΅ ΠΎΡ ΡΠΎΡΠΎΠ³ΡΠ°ΡΠΈΠΈ Π±ΡΠ΄Π΅Ρ ΡΠ΅ΠΌ Π±ΠΎΠ»ΡΡΠ΅, ΡΠ΅ΠΌ Π±ΠΎΠ»ΡΡΠ΅ ΡΠ΅Π»ΠΎΠ²Π΅ΠΊ ΡΠ·Π½Π°Π΅Ρ ΠΎ ΡΡΠ½ΠΊΡΠΈΡΡ
ΠΊΠ°ΠΌΠ΅ΡΡ.
ΠΠ½ ΠΏΡΠ΅Π΄ΠΎΡΡΠ°Π²Π»ΡΠ΅Ρ Π½ΠΎΠ²ΠΎΡΡΠΈ ΠΎ Π½ΠΎΠ²Π΅ΠΉΡΠΈΡ
ΠΊΠ°ΠΌΠ΅ΡΠ°Ρ
ΠΈ ΡΡΠ½ΠΊΡΠΈΡΡ
, Π° ΡΠ°ΠΊΠΆΠ΅ ΡΠ΅Π³ΡΠ»ΡΡΠ½ΠΎ Π·Π½Π°ΠΊΠΎΠΌΠΈΡ Ρ ΡΠ°Π·Π»ΠΈΡΠ½ΡΠΌΠΈ ΠΌΠ΅ΡΠΎΠ΄Π°ΠΌΠΈ ΡΠΎΡΠΎΡΡΠ΅ΠΌΠΊΠΈ.
ΠΠΏΡΠ±Π»ΠΈΠΊΠΎΠ²Π°Π½ΠΎ Impress Corporation
Π’ΠΎΠΌΠΎΠΊΠΎ Π‘ΡΠ΄Π·ΡΠΊΠΈ
ΠΠΎΡΠ»Π΅ ΠΎΠΊΠΎΠ½ΡΠ°Π½ΠΈΡ ΠΊΠΎΠ»Π»Π΅Π΄ΠΆΠ° Π’ΠΎΠΊΠΈΠΉΡΠΊΠΎΠ³ΠΎ ΠΏΠΎΠ»ΠΈΡΠ΅Ρ Π½ΠΈΡΠ΅ΡΠΊΠΎΠ³ΠΎ ΡΠ½ΠΈΠ²Π΅ΡΡΠΈΡΠ΅ΡΠ° Π‘ΡΠ΄Π·ΡΠΊΠΈ ΡΡΡΡΠΎΠΈΠ»ΡΡ Π½Π° ΡΠ°Π±ΠΎΡΡ Π² ΡΠ΅ΠΊΠ»Π°ΠΌΠ½ΡΡ ΡΠΈΡΠΌΡ. ΠΠ½Π° ΡΠ°ΠΊΠΆΠ΅ ΡΠ°Π±ΠΎΡΠ°Π»Π° Π°ΡΡΠΈΡΡΠ΅Π½ΡΠΎΠΌ Ρ ΡΠΎΡΠΎΠ³ΡΠ°ΡΠΎΠ², Π² ΡΠΎΠΌ ΡΠΈΡΠ»Π΅ Ρ ΠΠΈΡΠΈΡΠΎ Π―Π½Π°ΡΡ, ΠΈ ΡΠΏΠ΅ΡΠΈΠ°Π»ΠΈΠ·ΠΈΡΡΠ΅ΡΡΡ Π½Π° ΡΠ΅ΠΊΠ»Π°ΠΌΠ½ΡΡ ΡΡΠ΅ΠΌΠΊΠ°Ρ ΠΎΠ΄Π΅ΠΆΠ΄Ρ ΠΈ ΠΊΠΎΡΠΌΠ΅ΡΠΈΡΠ΅ΡΠΊΠΈΡ ΠΏΡΠΎΠ΄ΡΠΊΡΠΎΠ². Π‘Π΅ΠΉΡΠ°Ρ ΠΎΠ½Π° ΡΠ°Π±ΠΎΡΠ°Π΅Ρ ΡΡΡΠ΄ΠΈΠΉΠ½ΡΠΌ ΡΠΎΡΠΎΠ³ΡΠ°ΡΠΎΠΌ Ρ ΠΏΡΠΎΠΈΠ·Π²ΠΎΠ΄ΠΈΡΠ΅Π»Ρ ΠΎΠ΄Π΅ΠΆΠ΄Ρ.
ΠΠ±Π½Π°ΡΡΠΆΠ΅Π½ΠΈΠ΅ ΡΠ°Π·Ρ ΠΈ ΠΎΠΏΡΠ΅Π΄Π΅Π»Π΅Π½ΠΈΠ΅ ΠΊΠΎΠ½ΡΡΠ°ΡΡΠ° ΠΠ²ΡΠΎΡΠΎΠΊΡΡΠΈΡΠΎΠ²ΠΊΠ°: ΠΎΡΠ½ΠΎΠ²Π½ΠΎΠ΅ ΡΡΠΊΠΎΠ²ΠΎΠ΄ΡΡΠ²ΠΎ
Π Π°ΡΡΠ΅ΡΠ½ΠΎΠ΅ Π²ΡΠ΅ΠΌΡ ΡΡΠ΅Π½ΠΈΡ: 7 ΠΌΠΈΠ½ΡΡ
ΠΡΠ»ΠΈ Π²Ρ Ρ
ΠΎΡΠΈΡΠ΅ ΠΏΠΎΠ½ΡΡΡ ΡΠ°Π·Π½ΠΈΡΡ ΠΌΠ΅ΠΆΠ΄Ρ ΠΎΠ±Π½Π°ΡΡΠΆΠ΅Π½ΠΈΠ΅ΠΌ ΡΠ°Π·Ρ ΠΈ ΠΎΠ±Π½Π°ΡΡΠΆΠ΅Π½ΠΈΠ΅ΠΌ ΠΊΠΎΠ½ΡΡΠ°ΡΡΠ°, ΡΠΎ ΡΡΠΎ ΡΡΠΊΠΎΠ²ΠΎΠ΄ΡΡΠ²ΠΎ β ΠΈΠΌΠ΅Π½Π½ΠΎ ΡΠΎ, ΡΡΠΎ Π²Π°ΠΌ Π½ΡΠΆΠ½ΠΎ.
ΠΡ ΡΠΎΡΠ½ΠΎ Π±ΡΠ΄Π΅ΡΠ΅ Π·Π½Π°ΡΡ, ΡΡΠΎ ΡΠ°ΠΊΠΎΠ΅ Π°Π²ΡΠΎΡΠΎΠΊΡΡΠΈΡΠΎΠ²ΠΊΠ° Ρ ΠΎΠΏΡΠ΅Π΄Π΅Π»Π΅Π½ΠΈΠ΅ΠΌ ΡΠ°Π·Ρ ΠΈ Π°Π²ΡΠΎΡΠΎΠΊΡΡΠΈΡΠΎΠ²ΠΊΠ° Ρ ΠΎΠΏΡΠ΅Π΄Π΅Π»Π΅Π½ΠΈΠ΅ΠΌ ΠΊΠΎΠ½ΡΡΠ°ΡΡΠ° Π½Π° ΡΠ°ΠΌΠΎΠΌ Π΄Π΅Π»Π΅ , ΠΈ ΠΊΠ°ΠΊ Π²ΡΠ±ΡΠ°ΡΡ Π»ΡΡΡΠΈΠΉ Π²Π°ΡΠΈΠ°Π½Ρ Π΄Π»Ρ Π²Π°ΡΠΈΡ Π½ΡΠΆΠ΄.
ΠΠ°ΡΠ½Π΅ΠΌ.
Π€Π°Π·ΠΎΠ²ΡΠΉ ΠΈ ΠΊΠΎΠ½ΡΡΠ°ΡΡΠ½ΡΠΉ Π°Π²ΡΠΎΡΠΎΠΊΡΡ: Π‘ΠΎΠ΄Π΅ΡΠΆΠ°Π½ΠΈΠ΅
- Π€Π°Π·ΠΎΠ²ΡΠΉ ΠΈ ΠΊΠΎΠ½ΡΡΠ°ΡΡΠ½ΡΠΉ Π°Π²ΡΠΎΡΠΎΠΊΡΡ ΠΠ²ΡΠΎΡΠΎΠΊΡΡ: Π² ΡΠ΅ΠΌ ΡΠ°Π·Π½ΠΈΡΠ°?
- ΠΠΠ’ΠΠ€ΠΠΠ ΠΠ’ΠΠΠΠΠΠΠ― Π€ΠΠ·Ρ
- ΠΠ±Π½Π°ΡΡΠΆΠ΅Π½ΠΈΠ΅ ΠΊΠΎΠ½ΡΡΠ°ΡΡΠ½ΠΎΡΡΠΈ
- Π€Π°Π·Ρ ΠΠ±ΡΡΡΠ½Π΅Π½ΠΈΠ΅ Π€Π°Π·Ρ ΠΠ²ΡΠΎΡΠΎΠΊΡΡΠΈΡΠΎΠ²Π°Π½ΠΈΠ΅ ΠΏΠΎ ΡΡΠ°Π²Π½Π΅Π½ΠΈΡ Ρ ΠΎΠΏΡΠΎΡΠΎΠΌ.0005
- Π‘Π»Π΅Π΄ΡΠ΅Ρ Π»ΠΈ ΠΈΡΠΏΠΎΠ»ΡΠ·ΠΎΠ²Π°ΡΡ Π°Π²ΡΠΎΡΠΎΠΊΡΡΠΈΡΠΎΠ²ΠΊΡ Ρ ΠΎΠΏΡΠ΅Π΄Π΅Π»Π΅Π½ΠΈΠ΅ΠΌ ΡΠ°Π·Ρ ΠΈΠ»ΠΈ Π°Π²ΡΠΎΡΠΎΠΊΡΡΠΈΡΠΎΠ²ΠΊΡ Ρ ΠΎΠΏΡΠ΅Π΄Π΅Π»Π΅Π½ΠΈΠ΅ΠΌ ΠΊΠΎΠ½ΡΡΠ°ΡΡΠ°?
- ΠΠ±Π½Π°ΡΡΠΆΠ΅Π½ΠΈΠ΅ ΡΠ°Π·Ρ ΠΈ ΠΎΠΏΡΠ΅Π΄Π΅Π»Π΅Π½ΠΈΠ΅ ΠΊΠΎΠ½ΡΡΠ°ΡΡΠ°: Π·Π°ΠΊΠ»ΡΡΠ΅Π½ΠΈΠ΅
ΠΠ±Π½Π°ΡΡΠΆΠ΅Π½ΠΈΠ΅ ΡΠ°Π·Ρ ΠΈ ΠΎΠΏΡΠ΅Π΄Π΅Π»Π΅Π½ΠΈΠ΅ ΠΊΠΎΠ½ΡΡΠ°ΡΡΠ° ΠΠ²ΡΠΎΡΠΎΠΊΡΡ: Π² ΡΠ΅ΠΌ ΡΠ°Π·Π½ΠΈΡΠ°?
ΠΠ²ΡΠΎΡΠΎΠΊΡΡΠΈΡΠΎΠ²ΠΊΠ° Ρ ΠΎΠΏΡΠ΅Π΄Π΅Π»Π΅Π½ΠΈΠ΅ΠΌ ΡΠ°Π·Ρ ΠΈ Π°Π²ΡΠΎΡΠΎΠΊΡΡΠΈΡΠΎΠ²ΠΊΠ° Ρ ΠΎΠΏΡΠ΅Π΄Π΅Π»Π΅Π½ΠΈΠ΅ΠΌ ΠΊΠΎΠ½ΡΡΠ°ΡΡΠ° β Π΄Π²Π° ΠΏΠΎΠΏΡΠ»ΡΡΠ½ΡΡ ΡΠΈΠΏΠ° ΡΠΈΡΡΠ΅ΠΌ Π°Π²ΡΠΎΡΠΎΠΊΡΡΠΈΡΠΎΠ²ΠΊΠΈ.
ΠΠΎΠ»ΡΡΠΈΠ½ΡΡΠ²ΠΎ ΠΊΠ°ΠΌΠ΅Ρ, ΠΏΡΠ΅Π΄ΡΡΠ°Π²Π»Π΅Π½Π½ΡΡ ΡΠ΅Π³ΠΎΠ΄Π½Ρ Π½Π° ΡΡΠ½ΠΊΠ΅, ΠΈΡΠΏΠΎΠ»ΡΠ·ΡΡΡ ΡΠΎΡ ΠΈΠ»ΠΈ ΠΈΠ½ΠΎΠΉ Π²Π°ΡΠΈΠ°Π½Ρ, Π½ΠΎ Π² ΡΠ΅ΠΌ ΡΠ°Π·Π½ΠΈΡΠ°? Π ΠΊΠ°ΠΊ ΡΡΠΈ ΡΠΈΡΡΠ΅ΠΌΡ ΡΠ°Π·Π»ΠΈΡΠΈΠΉ Π²Π»ΠΈΡΡΡ Π½Π° Π²Π°ΡΡ ΡΠΎΡΠΎΠ³ΡΠ°ΡΠΈΡ?
ΠΠ°Π²Π°ΠΉΡΠ΅ ΠΏΠΎΠ΄ΡΠΎΠ±Π½Π΅Π΅ ΡΠ°ΡΡΠΌΠΎΡΡΠΈΠΌ ΠΊΠ°ΠΆΠ΄ΡΡ ΠΎΠΏΡΠΈΡ ΠΏΠΎ ΠΎΡΠ΅ΡΠ΅Π΄ΠΈ:
Π€Π°Π·ΠΎΠ΄Π΅ΡΠ΅ΠΊΡΠΎΡΠ½ΡΠΉ Π°Π²ΡΠΎΡΠΎΠΊΡΡ
ΠΡΠ΅ ΡΠΈΡΡΠΎΠ²ΡΠ΅ ΠΊΠ°ΠΌΠ΅ΡΡ ΠΈΠΌΠ΅ΡΡ ΠΊΠ°ΠΊΠΎΠΉ-ΡΠΎ Π΄Π°ΡΡΠΈΠΊ, ΠΊΠΎΡΠΎΡΡΠΉ ΠΏΡΠΈΠ½ΠΈΠΌΠ°Π΅Ρ ΡΠ²Π΅Ρ ΠΈ ΠΏΡΠ΅ΠΎΠ±ΡΠ°Π·ΡΠ΅Ρ Π΅Π³ΠΎ Π² ΠΏΡΠΈΠ³ΠΎΠ΄Π½ΠΎΠ΅ Π΄Π»Ρ ΠΈΡΠΏΠΎΠ»ΡΠ·ΠΎΠ²Π°Π½ΠΈΡ ΠΈΠ·ΠΎΠ±ΡΠ°ΠΆΠ΅Π½ΠΈΠ΅.
ΠΠ΄Π½Π°ΠΊΠΎ Π² Π±ΠΎΠ»ΡΡΠΈΠ½ΡΡΠ²Π΅ ΠΊΠ°ΠΌΠ΅Ρ Π΄Π»Ρ ΡΠ°Π·ΠΎΠ²ΠΎΠΉ Π°Π²ΡΠΎΡΠΎΠΊΡΡΠΈΡΠΎΠ²ΠΊΠΈ ΠΈΡΠΏΠΎΠ»ΡΠ·ΡΠ΅ΡΡΡ -ΡΠ΅ΠΊΡΠ½Π΄Π½ΡΠΉ Π΄Π°ΡΡΠΈΠΊ β ΡΠΏΠ΅ΡΠΈΠ°Π»ΡΠ½ΡΠΉ Π΄Π°ΡΡΠΈΠΊ Π°Π²ΡΠΎΡΠΎΠΊΡΡΠΈΡΠΎΠ²ΠΊΠΈ, ΠΊΠΎΡΠΎΡΡΠΉ ΡΠ°ΠΊΠΆΠ΅ ΡΠ»Π°Π²Π»ΠΈΠ²Π°Π΅Ρ ΡΠ²Π΅Ρ.
ΠΠΎ Π²ΠΌΠ΅ΡΡΠΎ ΡΠΎΠ³ΠΎ, ΡΡΠΎΠ±Ρ ΠΏΡΠ΅Π²ΡΠ°ΡΠ°ΡΡ ΡΠ²Π΅Ρ Π² ΠΈΠ·ΠΎΠ±ΡΠ°ΠΆΠ΅Π½ΠΈΠ΅, ΡΠΈΡΡΠ΅ΠΌΡ ΠΎΠΏΡΠ΅Π΄Π΅Π»Π΅Π½ΠΈΡ ΡΠ°Π·Ρ Π°Π½Π°Π»ΠΈΠ·ΠΈΡΡΡΡ ΡΠ²Π΅Ρ, ΡΡΠΎΠ±Ρ ΠΎΠΏΡΠ΅Π΄Π΅Π»ΠΈΡΡ, Π½Π°Ρ ΠΎΠ΄ΡΡΡΡ Π»ΠΈ ΠΎΠΏΡΠ΅Π΄Π΅Π»Π΅Π½Π½ΡΠ΅ ΠΎΠ±Π»Π°ΡΡΠΈ Π² ΡΠΎΠΊΡΡΠ΅ ΠΈΠ»ΠΈ Π²Π½Π΅ ΡΠΎΠΊΡΡΠ°.
Π’Π΅Ρ Π½ΠΈΡΠ΅ΡΠΊΠΈΠ΅ Π΄Π΅ΡΠ°Π»ΠΈ Π½Π΅ΠΌΠ½ΠΎΠ³ΠΎ ΡΠ»ΠΎΠΆΠ½Ρ, Π½ΠΎ ΡΠΈΡΡΠ΅ΠΌΡ ΠΎΠ±Π½Π°ΡΡΠΆΠ΅Π½ΠΈΡ ΡΠ°Π·Ρ ΡΡΠ°Π²Π½ΠΈΠ²Π°ΡΡ ΡΠ²Π΅Ρ, ΠΏΠΎΡΡΡΠΏΠ°ΡΡΠΈΠΉ ΠΈΠ· Π΄Π²ΡΡ ΡΠ°Π·Π½ΡΡ ΠΌΠ΅ΡΡ Π½Π° Π΄Π°ΡΡΠΈΠΊΠ΅ Π°Π²ΡΠΎΡΠΎΠΊΡΡΠΈΡΠΎΠ²ΠΊΠΈ. ΠΡΠ»ΠΈ ΡΠ²Π΅ΡΠΎΠ²ΡΠ΅ Π»ΡΡΠΈ ΠΏΠΎΠ»Π½ΠΎΡΡΡΡ ΡΡ ΠΎΠ΄ΡΡΡΡ, ΠΈΠ·ΠΎΠ±ΡΠ°ΠΆΠ΅Π½ΠΈΠ΅ Π½Π°Ρ ΠΎΠ΄ΠΈΡΡΡ Π² ΡΠΎΠΊΡΡΠ΅; Π΅ΡΠ»ΠΈ ΡΠ²Π΅ΡΠΎΠ²ΡΠ΅ Π»ΡΡΠΈ Π½Π΅ ΡΡ ΠΎΠ΄ΡΡΡΡ, ΠΎΠ±ΡΠ΅ΠΊΡΠΈΠ²Ρ Π½Π΅ΠΎΠ±Ρ ΠΎΠ΄ΠΈΠΌΠΎ ΠΎΡΡΠ΅Π³ΡΠ»ΠΈΡΠΎΠ²Π°ΡΡ ΡΠΎΠΊΡΡ, ΡΡΠΎΠ±Ρ ΡΠ΄Π΅Π»Π°ΡΡ ΡΠ΅Π·ΠΊΠΈΠΉ ΡΠ½ΠΈΠΌΠΎΠΊ.
ΠΡΠ½ΠΎΠ²ΡΠ²Π°ΡΡΡ Π½Π° ΡΠ°Π·Π½ΠΈΡΠ΅ ΠΌΠ΅ΠΆΠ΄Ρ ΡΠ²Π΅ΡΠΎΠ²ΡΠΌΠΈ Π»ΡΡΠ°ΠΌΠΈ, Π΄Π°ΡΡΠΈΠΊ Π°Π²ΡΠΎΡΠΎΠΊΡΡΠΈΡΠΎΠ²ΠΊΠΈ ΠΌΠΎΠΆΠ΅Ρ Π±ΡΡΡΡΠΎ ΠΏΡΠ΅Π΄ΡΠΊΠ°Π·Π°ΡΡ, ΠΊΠ°ΠΊ Π΄ΠΎΠ»ΠΆΠ΅Π½ Π±ΡΡΡ ΠΎΡΡΠ΅Π³ΡΠ»ΠΈΡΠΎΠ²Π°Π½ ΠΎΠ±ΡΠ΅ΠΊΡΠΈΠ² Π΄Π»Ρ ΠΏΠΎΠ»ΡΡΠ΅Π½ΠΈΡ ΡΠΎΠΊΡΡΠΈΡΠΎΠ²ΠΊΠΈ, ΠΈ ΠΏΠ΅ΡΠ΅Π΄Π°Π΅Ρ ΡΡΡ ΠΈΠ½ΡΠΎΡΠΌΠ°ΡΠΈΡ; Π·Π°ΡΠ΅ΠΌ ΠΎΠ±ΡΠ΅ΠΊΡΠΈΠ² ΡΠΌΠ΅ΡΠ°Π΅ΡΡΡ, Π΄Π°Π²Π°Ρ Π²Π°ΠΌ ΡΡΠΎΠΊΡΡΠΈΡΠΎΠ²Π°Π½Π½ΠΎΠ΅ ΠΈΠ·ΠΎΠ±ΡΠ°ΠΆΠ΅Π½ΠΈΠ΅.
Π’Π΅ΠΏΠ΅ΡΡ, ΡΡΠΎΠ±Ρ Π½Π°ΠΏΡΠ°Π²ΠΈΡΡ ΡΠ²Π΅Ρ Π½Π° Π²ΡΠΎΡΠΎΠΉ Π΄Π°ΡΡΠΈΠΊ (Π΄Π°ΡΡΠΈΠΊ Π°Π²ΡΠΎΡΠΎΠΊΡΡΠΈΡΠΎΠ²ΠΊΠΈ), Π² ΡΠΈΡΡΠ΅ΠΌΠ°Ρ
ΡΠ°Π·ΠΎΠ²ΠΎΠΉ Π°Π²ΡΠΎΡΠΎΠΊΡΡΠΈΡΠΎΠ²ΠΊΠΈ ΡΠ°ΡΡΠΎ ΠΈΡΠΏΠΎΠ»ΡΠ·ΡΠ΅ΡΡΡ Π·Π΅ΡΠΊΠ°Π»ΠΎ, ΠΎΡΡΠ°ΠΆΠ°ΡΡΠ΅Π΅ ΡΠ²Π΅Ρ ΠΎΡ Π΄Π°ΡΡΠΈΠΊΠ° ΠΈΠ·ΠΎΠ±ΡΠ°ΠΆΠ΅Π½ΠΈΡ.
ΠΠΎ ΡΡΠΎΠΉ ΠΏΡΠΈΡΠΈΠ½Π΅ Π²ΡΠ΅ Π·Π΅ΡΠΊΠ°Π»ΡΠ½ΡΠ΅ ΡΠΎΡΠΎΠΊΠ°ΠΌΠ΅ΡΡ ΠΈΡΠΏΠΎΠ»ΡΠ·ΡΡΡ ΡΠ°Π·ΠΎΠ²ΡΡ Π°Π²ΡΠΎΡΠΎΠΊΡΡΠΈΡΠΎΠ²ΠΊΡ, ΠΊΠΎΠ³Π΄Π° Π·Π΅ΡΠΊΠ°Π»ΠΎ ΠΎΠΏΡΡΠ΅Π½ΠΎ.
ΠΠΎΠ³Π΄Π° Π·Π΅ΡΠΊΠ°Π»ΠΎ Π½Π°Ρ ΠΎΠ΄ΠΈΡΡΡ Π² Π΄ΠΈΠ°ΠΏΠ°Π·ΠΎΠ½Π΅ ΠΎΡ Π΄ΠΎ , ΡΠΎ Π΅ΡΡΡ ΠΊΠΎΠ³Π΄Π° ΡΠΈΡΡΠΎΠ²Π°Ρ Π·Π΅ΡΠΊΠ°Π»ΡΠ½Π°Ρ ΠΊΠ°ΠΌΠ΅ΡΠ° ΠΈΡΠΏΠΎΠ»ΡΠ·ΡΠ΅Ρ ΡΠ΅ΠΆΠΈΠΌ Live View, ΠΊΠ°ΠΌΠ΅ΡΠ° ΠΎΠ±ΡΡΠ½ΠΎ ΠΏΠ΅ΡΠ΅ΠΊΠ»ΡΡΠ°Π΅ΡΡΡ Π½Π° Π°Π²ΡΠΎΡΠΎΠΊΡΡΠΈΡΠΎΠ²ΠΊΡ Ρ ΠΎΠΏΡΠ΅Π΄Π΅Π»Π΅Π½ΠΈΠ΅ΠΌ ΠΊΠΎΠ½ΡΡΠ°ΡΡΠ°.
ΠΠ΄Π½Π°ΠΊΠΎ Π²Π°ΠΆΠ½ΠΎ ΠΏΠΎΠ½ΠΈΠΌΠ°ΡΡ, ΡΡΠΎ ΡΡΡΠ΅ΡΡΠ²ΡΡΡ Π°Π»ΡΡΠ΅ΡΠ½Π°ΡΠΈΠ²Π½ΡΠ΅ ΠΌΠ΅ΡΠΎΠ΄Ρ ΡΠΎΠ·Π΄Π°Π½ΠΈΡ ΡΠΈΡΡΠ΅ΠΌ ΡΠ°Π·ΠΎΠ²ΠΎΠΉ Π°Π²ΡΠΎΡΠΎΠΊΡΡΠΈΡΠΎΠ²ΠΊΠΈ.
Π ΡΠΎ Π²ΡΠ΅ΠΌΡ ΠΊΠ°ΠΊ Π² ΡΠΈΡΡΠΎΠ²ΡΡ Π·Π΅ΡΠΊΠ°Π»ΡΠ½ΡΡ ΡΠΎΡΠΎΠΊΠ°ΠΌΠ΅ΡΠ°Ρ ΠΈΡΠΏΠΎΠ»ΡΠ·ΡΠ΅ΡΡΡ ΠΊΠ°ΠΊ ΠΌΠΈΠ½ΠΈΠΌΡΠΌ ΠΎΠ΄ΠΈΠ½ ΡΠΏΠ΅ΡΠΈΠ°Π»ΡΠ½ΡΠΉ Π΄Π°ΡΡΠΈΠΊ Π°Π²ΡΠΎΡΠΎΠΊΡΡΠΈΡΠΎΠ²ΠΊΠΈ, Π² Π½Π΅ΠΊΠΎΡΠΎΡΡΡ ΠΌΠΎΠ΄Π΅Π»ΡΡ ΠΊΠ°ΠΌΠ΅Ρ β Π² ΠΎΡΠ½ΠΎΠ²Π½ΠΎΠΌ Π±Π΅Π·Π·Π΅ΡΠΊΠ°Π»ΡΠ½ΡΡ , Π° ΡΠ°ΠΊΠΆΠ΅ Π² Π½Π΅ΠΊΠΎΡΠΎΡΡΡ Π·Π΅ΡΠΊΠ°Π»ΡΠ½ΡΡ ΠΊΠ°ΠΌΠ΅ΡΠ°Ρ Π² ΡΠ΅ΠΆΠΈΠΌΠ΅ Live View β ΠΈΡΠΏΠΎΠ»ΡΠ·ΡΠ΅ΡΡΡ Π²ΡΠΎΡΠΎΠΉ ΡΠΈΠΏ ΡΠΈΡΡΠ΅ΠΌΡ ΠΎΠΏΡΠ΅Π΄Π΅Π»Π΅Π½ΠΈΡ ΡΠ°Π·Ρ:
ΠΠΏΡΠ΅Π΄Π΅Π»Π΅Π½ΠΈΠ΅ ΡΠ°Π·Ρ Π½Π° Π΄Π°ΡΡΠΈΠΊΠ΅.
ΠΠ΄Π΅ΡΡ ΠΊΠ°ΠΌΠ΅ΡΠ° Π³Π°ΡΠ°Π½ΡΠΈΡΡΠ΅Ρ, ΡΡΠΎ ΠΏΡΠΎΡΠ΅ΡΡ ΠΎΠ±Π½Π°ΡΡΠΆΠ΅Π½ΠΈΡ ΡΠ°Π·Ρ ΠΌΠΎΠΆΠ΅Ρ Π±ΡΡΡ Π²ΡΠΏΠΎΠ»Π½Π΅Π½ Π½Π° Π΄Π°ΡΡΠΈΠΊΠ΅ ΠΈΠ·ΠΎΠ±ΡΠ°ΠΆΠ΅Π½ΠΈΡ, Π»ΠΈΠ±ΠΎ ΠΏΡΡΠ΅ΠΌ Π΄ΠΎΠ±Π°Π²Π»Π΅Π½ΠΈΡ Π΄Π°ΡΡΠΈΠΊΠΎΠ² ΠΎΠ±Π½Π°ΡΡΠΆΠ΅Π½ΠΈΡ ΡΠ°Π·Ρ Π²ΠΎΠΊΡΡΠ³ ΠΏΠΈΠΊΡΠ΅Π»Π΅ΠΉ ΠΈΠ·ΠΎΠ±ΡΠ°ΠΆΠ΅Π½ΠΈΡ, Π»ΠΈΠ±ΠΎ ΠΏΡΡΠ΅ΠΌ ΠΈΡΠΏΠΎΠ»ΡΠ·ΠΎΠ²Π°Π½ΠΈΡ ΠΏΠΈΠΊΡΠ΅Π»Π΅ΠΉ, ΡΠΏΡΠΎΠ΅ΠΊΡΠΈΡΠΎΠ²Π°Π½Π½ΡΡ
Π΄Π»Ρ ΡΠ°Π±ΠΎΡΡ ΠΊΠ°ΠΊ ΠΊΠ°ΠΊ ΠΏΠΈΠΊΡΠ΅Π»Π΅ΠΉ ΠΈΠ·ΠΎΠ±ΡΠ°ΠΆΠ΅Π½ΠΈΡ, ΡΠ°ΠΊ ΠΈ Π΄Π°ΡΡΠΈΠΊΠΎΠ² Π°Π²ΡΠΎΡΠΎΠΊΡΡΠΈΡΠΎΠ²ΠΊΠΈ.
ΠΠΎΠ½ΡΡΠ°ΡΡΠ½Π°Ρ Π°Π²ΡΠΎΡΠΎΠΊΡΡΠΈΡΠΎΠ²ΠΊΠ°
ΠΠΎΠ½ΡΡΠ°ΡΡΠ½Π°Ρ Π°Π²ΡΠΎΡΠΎΠΊΡΡΠΈΡΠΎΠ²ΠΊΠ°, Π² ΠΎΡΠ»ΠΈΡΠΈΠ΅ ΠΎΡ ΡΡΠ°Π½Π΄Π°ΡΡΠ½ΠΎΠΉ ΡΠΎΡΠΌΡ ΡΠ°Π·ΠΎΠ²ΠΎΠΉ Π°Π²ΡΠΎΡΠΎΠΊΡΡΠΈΡΠΎΠ²ΠΊΠΈ, ΠΈΡΠΏΠΎΠ»ΡΠ·ΡΠ΅Ρ Π΄Π°ΡΡΠΈΠΊ ΠΈΠ·ΠΎΠ±ΡΠ°ΠΆΠ΅Π½ΠΈΡ.
Π ΠΎΠ½ ΠΏΡΠΎΡΡΠΎ Π°Π½Π°Π»ΠΈΠ·ΠΈΡΡΠ΅Ρ Π΄Π°Π½Π½ΡΠ΅, ΡΡΠΈΡΠ°Π½Π½ΡΠ΅ Π΄Π°ΡΡΠΈΠΊΠΎΠΌ.
ΠΠ°ΡΠ΅ΠΌ ΠΎΠ½ ΠΏΠ΅ΡΠ΅ΠΌΠ΅ΡΠ°Π΅Ρ ΡΠΎΡΠΊΡ ΡΠΎΠΊΡΡΠΈΡΠΎΠ²ΠΊΠΈ ΠΎΠ±ΡΠ΅ΠΊΡΠΈΠ²Π° Π²ΠΏΠ΅ΡΠ΅Π΄ ΠΈ Π½Π°Π·Π°Π΄, ΠΏΠΎΠΊΠ° Π½Π΅ Π±ΡΠ΄Π΅Ρ Π΄ΠΎΡΡΠΈΠ³Π½ΡΡΠ° ΠΌΠ°ΠΊΡΠΈΠΌΠ°Π»ΡΠ½Π°Ρ ΠΊΠΎΠ½ΡΡΠ°ΡΡΠ½ΠΎΡΡΡ .
(ΠΡΡΡΠ΄Π° ΠΈ Π½Π°Π·Π²Π°Π½ΠΈΠ΅: ΠΠΎΠ½ΡΡΠ°ΡΡΠ½ΡΠΉ Π°Π²ΡΠΎΡΠΎΠΊΡΡ.)
ΠΡΠ°ΠΊ, Ρ ΠΊΠΎΠ½ΡΡΠ°ΡΡΠ½ΡΠΌ Π°Π²ΡΠΎΡΠΎΠΊΡΡΠΎΠΌ Π½Π΅Ρ ΠΎΡΠ΄Π΅Π»ΡΠ½ΡΡ ΠΈΠ·ΠΎΠ±ΡΠ°ΠΆΠ΅Π½ΠΈΠΉ, Π½Π΅ΡΠ΅Π³ΠΎ ΡΡΠ°Π²Π½ΠΈΠ²Π°ΡΡ ΠΈΠ»ΠΈ ΠΏΡΠΎΠ³Π½ΠΎΠ·ΠΈΡΠΎΠ²Π°ΡΡ.
ΠΠΌΠ΅ΡΡΠΎ ΡΡΠΎΠ³ΠΎ Π΄Π°Π½Π½ΡΠ΅ ΠΏΠΎΡΡΠΎΡΠ½Π½ΠΎ ΡΡΠΈΡΡΠ²Π°ΡΡΡΡ Π΄Π°ΡΡΠΈΠΊΠΎΠΌ, ΠΏΠΎΠΊΠ° ΠΎΠ±ΡΠ΅ΠΊΡΠΈΠ² ΠΌΠ΅Π½ΡΠ΅Ρ ΡΠΎΡΠΊΡ ΡΠΎΠΊΡΡΠΈΡΠΎΠ²ΠΊΠΈ. ΠΠ°ΠΊ ΡΠΎΠ»ΡΠΊΠΎ ΠΎΠ±ΡΠ΅ΠΊΡΡ ΡΡΠ°Π½ΠΎΠ²ΡΡΡΡ ΠΊΠΎΠ½ΡΡΠ°ΡΡΠ½ΡΠΌΠΈ (ΡΠΎ Π΅ΡΡΡ Π² ΡΠΎΠΊΡΡΠ΅), ΠΊΠ°ΠΌΠ΅ΡΠ° ΠΏΠ΅ΡΠ΅ΡΡΠ°Π΅Ρ ΡΠΎΠΊΡΡΠΈΡΠΎΠ²Π°ΡΡΡΡ.
ΠΠΎΠ»Π³ΠΎΠ΅ Π²ΡΠ΅ΠΌΡ Π°Π²ΡΠΎΡΠΎΠΊΡΡΠΈΡΠΎΠ²ΠΊΠ° Ρ ΠΎΠΏΡΠ΅Π΄Π΅Π»Π΅Π½ΠΈΠ΅ΠΌ ΠΊΠΎΠ½ΡΡΠ°ΡΡΠ° Π±ΡΠ»Π° Π΅Π΄ΠΈΠ½ΡΡΠ²Π΅Π½Π½ΠΎΠΉ ΠΎΠΏΡΠΈΠ΅ΠΉ Π΄Π»Ρ Π·Π΅ΡΠΊΠ°Π»ΡΠ½ΡΡ ΡΠΎΡΠΎΠΊΠ°ΠΌΠ΅Ρ, ΠΈΡΠΏΠΎΠ»ΡΠ·ΡΡΡΠΈΡ Live View; Π² ΠΊΠΎΠ½ΡΠ΅ ΠΊΠΎΠ½ΡΠΎΠ², Π·Π΅ΡΠΊΠ°Π»ΠΎ Π±ΡΠ»ΠΎ Π±Ρ ΠΏΠ΅ΡΠ΅Π²Π΅ΡΠ½ΡΡΠΎ, Π° ΡΡΠΎ ΠΎΠ·Π½Π°ΡΠ°Π»ΠΎ Π±Ρ, ΡΡΠΎ ΡΠ°Π·ΠΎΠ²ΡΠΉ Π°Π²ΡΠΎΡΠΎΠΊΡΡ Π±ΡΠ» Π±Π΅ΡΠΏΠΎΠ»Π΅Π·Π΅Π½.
Π Π°Π½Π½ΠΈΠ΅ Π±Π΅Π·Π·Π΅ΡΠΊΠ°Π»ΡΠ½ΡΠ΅ ΠΊΠ°ΠΌΠ΅ΡΡ ΡΠ°ΠΊΠΆΠ΅ Π΄ΠΎΠ²ΠΎΠ»ΡΠ½ΠΎ ΡΠ°ΡΡΠΎ ΠΈΡΠΏΠΎΠ»ΡΠ·ΠΎΠ²Π°Π»ΠΈ ΠΎΠ±Π½Π°ΡΡΠΆΠ΅Π½ΠΈΠ΅ ΠΊΠΎΠ½ΡΡΠ°ΡΡΠ°.
ΠΠΎ ΠΈΠ·-Π·Π° ΡΠ΅ΡΡΠ΅Π·Π½ΡΡ Π½Π΅Π΄ΠΎΡΡΠ°ΡΠΊΠΎΠ² Π°Π²ΡΠΎΡΠΎΠΊΡΡΠΈΡΠΎΠ²ΠΊΠΈ Ρ ΠΎΠ±Π½Π°ΡΡΠΆΠ΅Π½ΠΈΠ΅ΠΌ ΠΊΠΎΠ½ΡΡΠ°ΡΡΠ° ΠΈΠ½ΠΆΠ΅Π½Π΅ΡΡ ΡΡΠ΅ΡΠ΄Π½ΠΎ ΡΠ°Π±ΠΎΡΠ°Π»ΠΈ Π½Π°Π΄ Π°Π»ΡΡΠ΅ΡΠ½Π°ΡΠΈΠ²ΠΎΠΉ, ΡΠ°ΡΡΠΌΠΎΡΡΠ΅Π½Π½ΠΎΠΉ Π²ΡΡΠ΅:
ΠΠ²ΡΠΎΡΠΎΠΊΡΡΠΈΡΠΎΠ²ΠΊΠ° Ρ ΠΎΠΏΡΠ΅Π΄Π΅Π»Π΅Π½ΠΈΠ΅ΠΌ ΡΠ°Π·Ρ ΠΏΠΎ Π΄Π°ΡΡΠΈΠΊΡ.
ΠΠΎΡΠΊΠΎΠ»ΡΠΊΡ ΠΏΠΎΡΠ»Π΅Π΄Π½ΡΡ ΡΠΈΡΡΠ΅ΠΌΠ° ΠΌΠΎΠ³Π»Π° ΡΠ°Π±ΠΎΡΠ°ΡΡ Π±Π΅Π· Π·Π΅ΡΠΊΠ°Π»Π°, Π΅Π΅ ΠΌΠΎΠΆΠ½ΠΎ Π±ΡΠ»ΠΎ ΠΏΡΠΈΠΌΠ΅Π½ΠΈΡΡ ΠΊ Π·Π΅ΡΠΊΠ°Π»ΡΠ½ΡΠΌ ΡΠΎΡΠΎΠΊΠ°ΠΌΠ΅ΡΠ°ΠΌ Π² ΡΠ΅ΠΆΠΈΠΌΠ΅ Live View, Π° ΡΠ°ΠΊΠΆΠ΅ ΠΊ Π±Π΅Π·Π·Π΅ΡΠΊΠ°Π»ΡΠ½ΡΠΌ ΡΠΈΡΡΠ΅ΠΌΠ°ΠΌ.
Π’Π΅ΠΏΠ΅ΡΡ Ρ ΡΠ°ΡΡΠΊΠ°ΠΆΡ ΠΎ ΠΏΠ»ΡΡΠ°Ρ ΠΈ ΠΌΠΈΠ½ΡΡΠ°Ρ ΡΠ°Π·ΠΎΠ²ΠΎΠΉ ΠΈ ΠΊΠΎΠ½ΡΡΠ°ΡΡΠ½ΠΎΠΉ Π΄Π΅ΡΠ΅ΠΊΡΠΈΠΈ, Π° ΡΠ°ΠΊΠΆΠ΅ ΠΎ ΡΠΎΠΌ, ΠΏΠΎΡΠ΅ΠΌΡ ΡΠ°Π·ΠΎΠ²Π°Ρ Π΄Π΅ΡΠ΅ΠΊΡΠΈΡ Π±ΡΡΡΡΠΎ Π·Π°ΠΌΠ΅Π½ΡΠ΅Ρ ΠΊΠΎΠ½ΡΡΠ°ΡΡΠ½ΡΡ Π΄Π΅ΡΠ΅ΠΊΡΠΈΡ Π²ΠΎ Π²ΡΠ΅Ρ ΠΎΠ±Π»Π°ΡΡΡΡ ΡΡΠ½ΠΊΠ°.
ΠΠ²ΡΠΎΡΠΎΠΊΡΡΠΈΡΠΎΠ²ΠΊΠ° Ρ ΠΎΠΏΡΠ΅Π΄Π΅Π»Π΅Π½ΠΈΠ΅ΠΌ ΡΠ°Π·Ρ ΠΈ Π°Π²ΡΠΎΡΠΎΠΊΡΡΠΈΡΠΎΠ²ΠΊΠ° Ρ ΠΎΠΏΡΠ΅Π΄Π΅Π»Π΅Π½ΠΈΠ΅ΠΌ ΠΊΠΎΠ½ΡΡΠ°ΡΡΠ°
Π’Π΅ΠΏΠ΅ΡΡ, ΠΊΠΎΠ³Π΄Π° Π²Ρ ΠΏΠΎΠ½ΠΈΠΌΠ°Π΅ΡΠ΅ ΠΎΡΠ½ΠΎΠ²Ρ Π°Π²ΡΠΎΡΠΎΠΊΡΡΠΈΡΠΎΠ²ΠΊΠΈ Ρ ΠΎΠΏΡΠ΅Π΄Π΅Π»Π΅Π½ΠΈΠ΅ΠΌ ΡΠ°Π·Ρ ΠΈ ΠΎΠΏΡΠ΅Π΄Π΅Π»Π΅Π½ΠΈΠ΅ΠΌ ΠΊΠΎΠ½ΡΡΠ°ΡΡΠ°, Π΄Π°Π²Π°ΠΉΡΠ΅ ΡΠ°ΡΡΠΌΠΎΡΡΠΈΠΌ ΡΠΈΠ»ΡΠ½ΡΠ΅ ΠΈ ΡΠ»Π°Π±ΡΠ΅ ΡΡΠΎΡΠΎΠ½Ρ ΡΡΠΈΡ Π΄Π²ΡΡ ΡΠΈΡΡΠ΅ΠΌ Π°Π²ΡΠΎΡΠΎΠΊΡΡΠΈΡΠΎΠ²ΠΊΠΈ.
Π€Π°Π·ΠΎΠ²ΡΠΉ Π°Π²ΡΠΎΡΠΎΠΊΡΡ: ΠΏΡΠ΅ΠΈΠΌΡΡΠ΅ΡΡΠ²Π°
ΠΠ°ΠΊ Π²Ρ ΠΏΠΎΠΌΠ½ΠΈΡΠ΅, ΡΠ°Π·ΠΎΠ²ΡΠΉ Π°Π²ΡΠΎΡΠΎΠΊΡΡ Π²ΠΊΠ»ΡΡΠ°Π΅Ρ ΠΏΡΠ΅Π΄ΡΠΊΠ°Π·Π°Π½ΠΈΠ΅ .
ΠΠΎΠ³Π΄Π° ΡΠ²Π΅ΡΠΎΠ²ΡΠ΅ Π»ΡΡΠΈ Π½Π΅ ΡΡ
ΠΎΠ΄ΡΡΡΡ, ΡΠΈΡΡΠ΅ΠΌΡ ΠΎΠ±Π½Π°ΡΡΠΆΠ΅Π½ΠΈΡ ΡΠ°Π· ΠΌΠΎΠ³ΡΡ ΠΎΠΏΡΠ΅Π΄Π΅Π»ΠΈΡΡ ΡΠΎΡΠ½ΡΠ΅ ΠΈΠ·ΠΌΠ΅Π½Π΅Π½ΠΈΡ, ΠΊΠΎΡΠΎΡΡΠ΅ Π½Π΅ΠΎΠ±Ρ
ΠΎΠ΄ΠΈΠΌΠΎ ΡΠ΄Π΅Π»Π°ΡΡ, ΡΡΠΎΠ±Ρ Π»ΡΡΠΈ Π΄Π΅ΠΉΡΡΠ²ΠΈΡΠ΅Π»ΡΠ½ΠΎ ΡΡ
ΠΎΠ΄ΠΈΠ»ΠΈΡΡ.
ΠΡΠΎ Π΄Π΅Π»Π°Π΅ΡΡΡ Π·Π° Π΄ΠΎΠ»ΠΈ ΡΠ΅ΠΊΡΠ½Π΄Ρ, ΡΡΠΎ ΠΎΠ·Π½Π°ΡΠ°Π΅Ρ, ΡΡΠΎ ΡΠ°Π·ΠΎΠ²ΡΠΉ Π°Π²ΡΠΎΡΠΎΠΊΡΡ ΡΠ°Π±ΠΎΡΠ°Π΅Ρ ΠΎΡΠ΅Π½Ρ Π±ΡΡΡΡΠΎ.
ΠΡΠΎ ΠΎΡΠ½ΠΎΠ²Π½Π°Ρ ΠΏΡΠΈΡΠΈΠ½Π°, ΠΏΠΎ ΠΊΠΎΡΠΎΡΠΎΠΉ Π°Π²ΡΠΎΡΠΎΠΊΡΡΠΈΡΠΎΠ²ΠΊΠ° Ρ ΠΎΠΏΡΠ΅Π΄Π΅Π»Π΅Π½ΠΈΠ΅ΠΌ ΡΠ°Π·Ρ ΠΏΠΎΠ»ΡΠ·ΡΠ΅ΡΡΡ ΡΠ°ΠΊΠΈΠΌ ΡΠ²Π°ΠΆΠ΅Π½ΠΈΠ΅ΠΌ Ρ ΠΏΡΠΎΠΈΠ·Π²ΠΎΠ΄ΠΈΡΠ΅Π»Π΅ΠΉ ΠΊΠ°ΠΌΠ΅Ρ; ΠΎΠ½ ΠΏΡΠΈΠΎΠ±ΡΠ΅ΡΠ°Π΅Ρ ΡΠΎΠΊΡΡ Π±ΡΡΡΡΠΎ .
Π ΠΊΠΎΠ³Π΄Π° Π²Ρ ΡΠΎΡΠΎΠ³ΡΠ°ΡΠΈΡΡΠ΅ΡΠ΅ Π΄Π²ΠΈΠΆΡΡΠΈΠ΅ΡΡ ΠΎΠ±ΡΠ΅ΠΊΡΡ, Π½Π°ΠΏΡΠΈΠΌΠ΅Ρ ΠΏΡΠΈΡ Π² ΠΏΠΎΠ»Π΅ΡΠ΅, Π±ΡΡΡΡΠ°Ρ Π°Π²ΡΠΎΡΠΎΠΊΡΡΠΈΡΠΎΠ²ΠΊΠ° ΠΏΡΠΎΡΡΠΎ Π½Π΅ΠΎΠ±Ρ ΠΎΠ΄ΠΈΠΌΠ°.
ΠΠ²ΡΠΎΡΠΎΠΊΡΡΠΈΡΠΎΠ²ΠΊΠ° Ρ ΠΎΠΏΡΠ΅Π΄Π΅Π»Π΅Π½ΠΈΠ΅ΠΌ ΡΠ°Π·Ρ: Π½Π΅Π΄ΠΎΡΡΠ°ΡΠΊΠΈ
Π‘ΠΈΡΡΠ΅ΠΌΡ ΠΎΠ±Π½Π°ΡΡΠΆΠ΅Π½ΠΈΡ ΡΠ°Π·Ρ ΡΠΎ ΡΠΏΠ΅ΡΠΈΠ°Π»ΡΠ½ΡΠΌ Π΄Π°ΡΡΠΈΠΊΠΎΠΌ ΠΈΠΌΠ΅Π»ΠΈ ΠΎΠ΄Π½Ρ Π±ΠΎΠ»ΡΡΡΡ ΠΏΡΠΎΠ±Π»Π΅ΠΌΡ:
ΠΠΎΠ³Π΄Π° ΡΠΏΠ΅ΡΠΈΠ°Π»ΡΠ½ΡΠΉ Π΄Π°ΡΡΠΈΠΊ Π°Π²ΡΠΎΡΠΎΠΊΡΡΠΈΡΠΎΠ²ΠΊΠΈ Π½Π΅ Π²ΡΡΠΎΠ²Π½ΡΠ»ΡΡ ΡΠΎ ΡΠΏΠ΅ΡΠΈΠ°Π»ΡΠ½ΡΠΌ Π΄Π°ΡΡΠΈΠΊΠΎΠΌ ΡΠΎΡΠΌΠΈΡΠΎΠ²Π°Π½ΠΈΡ ΠΈΠ·ΠΎΠ±ΡΠ°ΠΆΠ΅Π½ΠΈΡ , Π²Ρ ΠΌΠΎΠ³Π»ΠΈ ΡΡΠΎΠ»ΠΊΠ½ΡΡΡΡΡ Ρ ΠΏΠΎΡΡΠΎΡΠ½Π½ΠΎΠΉ ΡΠ°ΡΡΠΎΠΊΡΡΠΈΡΠΎΠ²ΠΊΠΎΠΉ.
ΠΡΠ΅Π²ΠΈΠ΄Π½ΠΎ, ΡΡΠΎ ΠΌΠ½ΠΎΠ³ΠΎΠΊΡΠ°ΡΠ½Π°Ρ ΡΠΎΠΊΡΡΠΈΡΠΎΠ²ΠΊΠ° ΠΏΠ΅ΡΠ΅Π΄ ΠΎΠ±ΡΠ΅ΠΊΡΠΎΠΌ ΠΈ ΠΏΠΎΠ·Π°Π΄ΠΈ ΠΎΠ±ΡΠ΅ΠΊΡΠ° Π½Π΅ ΠΆΠ΅Π»Π°ΡΠ΅Π»ΡΠ½ΠΎ . ΠΠΎ ΡΠΈΡΡΠ΅ΠΌΡ ΠΎΠ±Π½Π°ΡΡΠΆΠ΅Π½ΠΈΡ ΡΠ°Π·Ρ Π½Π° Π΄Π°ΡΡΠΈΠΊΠ΅ ΠΏΠΎΠ»Π½ΠΎΡΡΡΡ ΡΠ΅ΡΠΈΠ»ΠΈ ΡΡΡ ΠΏΡΠΎΠ±Π»Π΅ΠΌΡ; ΡΠ΅ΠΏΠ΅ΡΡ, ΠΊΠΎΠ³Π΄Π° Π½Π΅Ρ ΠΎΡΠ΄Π΅Π»ΡΠ½ΠΎΠ³ΠΎ Π΄Π°ΡΡΠΈΠΊΠ° Π°Π²ΡΠΎΡΠΎΠΊΡΡΠ°, Π½Π΅ΡΠ΅Π³ΠΎ ΡΠΌΠ΅ΡΠ°ΡΡ, Π° ΡΡΠΎ Π·Π½Π°ΡΠΈΡ, ΡΡΠΎ ΡΠΎΠΊΡΡΠΈΡΠΎΠ²ΠΊΠ° Π±ΡΡΡΡΠ°Ρ ΠΈ ΡΠΎΡΠ½Π°Ρ.
Π‘ΠΈΡΡΠ΅ΠΌΡ ΡΠ°Π·ΠΎΠ²ΠΎΠΉ Π΄Π΅ΡΠ΅ΠΊΡΠΈΠΈ ΡΠ°ΠΊΠΆΠ΅, ΠΊΠ°ΠΊ ΠΏΡΠ°Π²ΠΈΠ»ΠΎ, Π±ΡΠ»ΠΈ Π΄ΠΎΠ²ΠΎΠ»ΡΠ½ΠΎ ΠΎΠ³ΡΠ°Π½ΠΈΡΠ΅Π½Ρ Ρ ΡΠΎΡΠΊΠΈ Π·ΡΠ΅Π½ΠΈΡ ΠΊΠΎΠ»ΠΈΡΠ΅ΡΡΠ²Π° ΡΠΎΡΠ΅ΠΊ ΡΠΎΠΊΡΡΠΈΡΠΎΠ²ΠΊΠΈ, ΠΊΠΎΡΠΎΡΡΠ΅ ΠΎΠ½ΠΈ ΠΌΠΎΠ³Π»ΠΈ ΠΈΡΠΏΠΎΠ»ΡΠ·ΠΎΠ²Π°ΡΡ (Π³Π΄Π΅ Π±ΠΎΠ»ΡΡΠ΅Π΅ ΠΊΠΎΠ»ΠΈΡΠ΅ΡΡΠ²ΠΎ ΡΠΎΡΠ΅ΠΊ ΡΠΎΠΊΡΡΠΈΡΠΎΠ²ΠΊΠΈ ΠΎΠ·Π½Π°ΡΠ°Π»ΠΎ Π»ΡΡΡΠ΅Π΅ ΠΎΡΡΠ»Π΅ΠΆΠΈΠ²Π°Π½ΠΈΠ΅ ΠΈ Π±ΠΎΠ»ΡΡΡΡ ΡΠΎΡΠ½ΠΎΡΡΡ).
ΠΠΎ Ρ ΠΏΠΎΡΠ²Π»Π΅Π½ΠΈΠ΅ΠΌ ΡΠΈΡΡΠ΅ΠΌ ΠΎΠ±Π½Π°ΡΡΠΆΠ΅Π½ΠΈΡ ΡΠ°Π·Ρ Π½Π° ΡΠ΅Π½ΡΠΎΡΠ΅ ΠΊΠΎΠ»ΠΈΡΠ΅ΡΡΠ²ΠΎ ΡΠΎΡΠ΅ΠΊ Π°Π²ΡΠΎΡΠΎΠΊΡΡΠΈΡΠΎΠ²ΠΊΠΈ ΡΠ΅Π·ΠΊΠΎ Π²ΠΎΠ·ΡΠΎΡΠ»ΠΎ.
ΠΠΎΠ½ΡΡΠ°ΡΡΠ½Π°Ρ Π°Π²ΡΠΎΡΠΎΠΊΡΡΠΈΡΠΎΠ²ΠΊΠ°: ΠΏΡΠ΅ΠΈΠΌΡΡΠ΅ΡΡΠ²Π°
ΠΡΠ½ΠΎΠ²Π½ΡΠΌ ΠΏΡΠ΅ΠΈΠΌΡΡΠ΅ΡΡΠ²ΠΎΠΌ ΠΊΠΎΠ½ΡΡΠ°ΡΡΠ½ΠΎΠΉ Π°Π²ΡΠΎΡΠΎΠΊΡΡΠΈΡΠΎΠ²ΠΊΠΈ ΡΠ²Π»ΡΠ΅ΡΡΡ Π΅Π΅ ΡΠΎΡΠ½ΠΎΡΡΡ.
ΠΠΎΡΠΊΠΎΠ»ΡΠΊΡ ΠΎΠ±Π½Π°ΡΡΠΆΠ΅Π½ΠΈΠ΅ ΠΊΠΎΠ½ΡΡΠ°ΡΡΠ° Π²ΠΊΠ»ΡΡΠ°Π΅Ρ Π°Π½Π°Π»ΠΈΠ· Π΄Π°Π½Π½ΡΡ Ρ Π΄Π°ΡΡΠΈΠΊΠ° ΠΈΠ·ΠΎΠ±ΡΠ°ΠΆΠ΅Π½ΠΈΡ, ΠΎΠ½ΠΎ ΠΎΡΠ΅Π½Ρ ΡΠ΅Π΄ΠΊΠΎ Π±ΡΠ²Π°Π΅Ρ Π½Π΅ΡΠΎΡΠ½ΡΠΌ (ΠΏΠΎΡΡΠΎΠΌΡ ΠΎΡΡΡΡΡΡΠ²ΡΡΡ ΠΎΡΠΈΠ±ΠΊΠΈ ΡΠΎΠΊΡΡΠΈΡΠΎΠ²ΠΊΠΈ, Π²ΡΠ·Π²Π°Π½Π½ΡΠ΅ ΡΠΌΠ΅ΡΠ΅Π½ΠΈΠ΅ΠΌ).
ΠΠ²ΡΠΎΡΠΎΠΊΡΡΠΈΡΠΎΠ²ΠΊΠ° Ρ ΠΎΠΏΡΠ΅Π΄Π΅Π»Π΅Π½ΠΈΠ΅ΠΌ ΠΊΠΎΠ½ΡΡΠ°ΡΡΠ° ΡΠ°ΠΊΠΆΠ΅ ΠΏΠΎΠ·Π²ΠΎΠ»ΡΠ΅Ρ ΠΈΡΠΏΠΎΠ»ΡΠ·ΠΎΠ²Π°ΡΡ ΠΌΠ½ΠΎΠΆΠ΅ΡΡΠ²ΠΎ ΡΠΎΡΠ΅ΠΊ Π°Π²ΡΠΎΡΠΎΠΊΡΡΠΈΡΠΎΠ²ΠΊΠΈ. ΠΡΠΎ Π±ΡΠ»ΠΎ ΠΏΡΠ΅ΠΈΠΌΡΡΠ΅ΡΡΠ²ΠΎΠΌ ΠΏΠΎ ΡΡΠ°Π²Π½Π΅Π½ΠΈΡ ΡΠΎ ΡΡΠ°ΡΡΠΌΠΈ ΡΠΈΡΡΠ΅ΠΌΠ°ΠΌΠΈ ΡΠ°Π·ΠΎΠ²ΠΎΠΉ Π΄Π΅ΡΠ΅ΠΊΡΠΈΠΈ, Π½ΠΎ Π½Π΅Π΄Π°Π²Π½ΠΈΠ΅ ΠΈΠ½Π½ΠΎΠ²Π°ΡΠΈΠΈ ΠΏΡΠΈΠ²Π΅Π»ΠΈ ΠΊ ΡΠ°ΡΡΠΈΡΠ΅Π½ΠΈΡ ΠΏΠΎΠ΄ΡΡΠ΅ΡΠ° ΡΠΎΡΠ΅ΠΊ ΡΠ°Π·ΠΎΠ²ΠΎΠΉ Π΄Π΅ΡΠ΅ΠΊΡΠΈΠΈ (ΠΊΠΎΡΠΎΡΡΠΉ ΡΠ΅ΠΏΠ΅ΡΡ ΠΌΠΎΠΆΠ΅Ρ ΠΈΠ΄ΡΠΈ Π»ΠΈΡΠΎΠΌ ΠΊ Π»ΠΈΡΡ Ρ ΠΏΠΎΠ΄ΡΡΠ΅ΡΠΎΠΌ ΡΠΎΡΠ΅ΠΊ ΠΊΠΎΠ½ΡΡΠ°ΡΡΠ½ΠΎΠΉ Π΄Π΅ΡΠ΅ΠΊΡΠΈΠΈ).
ΠΠΎΠ½ΡΡΠ°ΡΡΠ½Π°Ρ Π°Π²ΡΠΎΡΠΎΠΊΡΡΠΈΡΠΎΠ²ΠΊΠ°: Π½Π΅Π΄ΠΎΡΡΠ°ΡΠΊΠΈ
ΠΠΎΠ½ΡΡΠ°ΡΡΠ½Π°Ρ Π°Π²ΡΠΎΡΠΎΠΊΡΡΠΈΡΠΎΠ²ΠΊΠ° ΡΠ°Π±ΠΎΡΠ°Π΅Ρ ΠΌΠ΅Π΄Π»Π΅Π½Π½ΠΎ.
Π’Π°ΠΊ Π±ΡΠ»ΠΎ Π²ΡΠ΅Π³Π΄Π°, Π° ΡΡΠΎ ΠΎΠ·Π½Π°ΡΠ°Π»ΠΎ, ΡΡΠΎ Π±Π΅Π·Π·Π΅ΡΠΊΠ°Π»ΡΠ½ΡΠ΅ ΠΊΠ°ΠΌΠ΅ΡΡ Π΄ΠΎΠ»Π³ΠΎΠ΅ Π²ΡΠ΅ΠΌΡ Π½Π΅ ΠΌΠΎΠ³Π»ΠΈ ΠΈΠ΄ΡΠΈ Π² Π½ΠΎΠ³Ρ ΡΠΎ ΡΠ²ΠΎΠΈΠΌΠΈ Π·Π΅ΡΠΊΠ°Π»ΡΠ½ΡΠΌΠΈ Π°Π½Π°Π»ΠΎΠ³Π°ΠΌΠΈ.
(ΠΠ΄Π½Π°ΠΊΠΎ ΠΏΠΎΡΠ»Π΅ Π²ΠΊΠ»ΡΡΠ΅Π½ΠΈΡ Π°Π²ΡΠΎΡΠΎΠΊΡΡΠΈΡΠΎΠ²ΠΊΠΈ Ρ ΠΎΠΏΡΠ΅Π΄Π΅Π»Π΅Π½ΠΈΠ΅ΠΌ ΡΠ°Π·Ρ Π½Π° Π΄Π°ΡΡΠΈΠΊΠ΅ Π² Π±Π΅Π·Π·Π΅ΡΠΊΠ°Π»ΡΠ½ΡΠ΅ ΠΊΠ°ΠΌΠ΅ΡΡ ΡΡΠΎ Π½Π΅ΡΠΎΠΎΡΠ²Π΅ΡΡΡΠ²ΠΈΠ΅ ΡΠΎΠΊΡΡΠΈΡΠΎΠ²ΠΊΠΈ ΠΈΡΡΠ΅Π·Π»ΠΎ.) Π΄Π²ΠΈΠΆΡΡΠΈΠ΅ΡΡ ΠΏΡΠ΅Π΄ΠΌΠ΅ΡΡ.
Π‘Π»Π΅Π΄ΡΠ΅Ρ Π»ΠΈ ΠΈΡΠΏΠΎΠ»ΡΠ·ΠΎΠ²Π°ΡΡ Π°Π²ΡΠΎΡΠΎΠΊΡΡΠΈΡΠΎΠ²ΠΊΡ Ρ ΠΎΠΏΡΠ΅Π΄Π΅Π»Π΅Π½ΠΈΠ΅ΠΌ ΡΠ°Π·Ρ ΠΈΠ»ΠΈ Π°Π²ΡΠΎΡΠΎΠΊΡΡΠΈΡΠΎΠ²ΠΊΡ Ρ ΠΎΠΏΡΠ΅Π΄Π΅Π»Π΅Π½ΠΈΠ΅ΠΌ ΠΊΠΎΠ½ΡΡΠ°ΡΡΠ°?
ΠΠ²ΡΠΎΡΠΎΠΊΡΡΠΈΡΠΎΠ²ΠΊΠ° Ρ ΠΎΠΏΡΠ΅Π΄Π΅Π»Π΅Π½ΠΈΠ΅ΠΌ ΡΠ°Π·Ρ Π½Π° Π΄Π°ΡΡΠΈΠΊΠ΅ ΠΏΡΠ΅Π΄Π»Π°Π³Π°Π΅Ρ Π»ΡΡΡΠ΅Π΅ ΠΈΠ· ΠΎΠ±ΠΎΠΈΡ ΠΌΠΈΡΠΎΠ²:
ΠΡΡΡΡΠ°Ρ ΠΈ ΡΠΎΡΠ½Π°Ρ ΡΠΎΠΊΡΡΠΈΡΠΎΠ²ΠΊΠ°.
Π’Π΅ΠΌ Π½Π΅ ΠΌΠ΅Π½Π΅Π΅, Π½Π΅ΠΊΠΎΡΠΎΡΡΡ ΡΠΎΡΠΎΠ³ΡΠ°ΡΠΎΠ² Π½Π΅ ΠΎΡΠΎΠ±ΠΎ Π±Π΅ΡΠΏΠΎΠΊΠΎΠΈΡ ΠΊΠΎΠ½ΡΡΠ°ΡΡΠ½ΡΠΉ Π°Π²ΡΠΎΡΠΎΠΊΡΡ. ΠΠ°ΠΏΡΠΈΠΌΠ΅Ρ, Π΅ΡΠ»ΠΈ Π²Ρ ΡΠ½ΠΈΠΌΠ°Π΅ΡΠ΅ Π½Π°ΡΡΡΠΌΠΎΡΡΡ, Π±ΡΡΡΡΠ°Ρ Π°Π²ΡΠΎΡΠΎΠΊΡΡΠΈΡΠΎΠ²ΠΊΠ° Π½Π΅ Π²Π°ΠΆΠ½Π°, Π° ΡΡΠΎ ΠΎΠ·Π½Π°ΡΠ°Π΅Ρ, ΡΡΠΎ Π°Π²ΡΠΎΡΠΎΠΊΡΡΠΈΡΠΎΠ²ΠΊΠ° Ρ ΠΎΠ±Π½Π°ΡΡΠΆΠ΅Π½ΠΈΠ΅ΠΌ ΠΊΠΎΠ½ΡΡΠ°ΡΡΠ° Π±ΡΠ΄Π΅Ρ ΡΠ°Π±ΠΎΡΠ°ΡΡ ΠΎΡΠ»ΠΈΡΠ½ΠΎ; ΡΠΎ ΠΆΠ΅ ΡΠ°ΠΌΠΎΠ΅ Π²Π΅ΡΠ½ΠΎ ΠΈ Π΄Π»Ρ ΠΏΠ΅ΠΉΠ·Π°ΠΆΠ½ΡΡ ΡΠΎΡΠΎΠ³ΡΠ°ΡΠΎΠ² (ΠΊΠΎΡΠΎΡΡΠ΅ Π² Π»ΡΠ±ΠΎΠΌ ΡΠ»ΡΡΠ°Π΅ ΡΠ°ΡΡΠΎ ΡΠΎΠΊΡΡΠΈΡΡΡΡΡΡ Π²ΡΡΡΠ½ΡΡ).
Π’Π°ΠΊΠΆΠ΅ ΠΎΠ±ΡΠ°ΡΠΈΡΠ΅ Π²Π½ΠΈΠΌΠ°Π½ΠΈΠ΅, ΡΡΠΎ ΠΏΡΠΈ ΡΡΠ°Π²Π½Π΅Π½ΠΈΠΈ Π°Π²ΡΠΎΡΠΎΠΊΡΡΠΈΡΠΎΠ²ΠΊΠΈ Ρ ΠΎΠΏΡΠ΅Π΄Π΅Π»Π΅Π½ΠΈΠ΅ΠΌ ΡΠ°Π·Ρ Π½Π° Π΄Π°ΡΡΠΈΠΊΠ΅ ΠΈ Π°Π²ΡΠΎΡΠΎΠΊΡΡΠΈΡΠΎΠ²ΠΊΠΈ Ρ ΠΎΠΏΡΠ΅Π΄Π΅Π»Π΅Π½ΠΈΠ΅ΠΌ ΡΠ°Π·Ρ Π½Π° ΠΎΡΠ΄Π΅Π»ΡΠ½ΠΎΠΌ Π΄Π°ΡΡΠΈΠΊΠ΅, Π΄Π°ΡΡΠΈΠΊ Ρ ΠΎΠΏΡΠ΅Π΄Π΅Π»Π΅Π½ΠΈΠ΅ΠΌ ΡΠ°Π·Ρ ΡΠ°Π±ΠΎΡΠ°Π΅Ρ Π»ΡΡΡΠ΅ Π±Π»Π°Π³ΠΎΠ΄Π°ΡΡ Π±ΠΎΠ»ΡΡΠ΅ΠΌΡ ΠΊΠΎΠ»ΠΈΡΠ΅ΡΡΠ²Ρ ΡΠΎΡΠ΅ΠΊ Π°Π²ΡΠΎΡΠΎΠΊΡΡΠΈΡΠΎΠ²ΠΊΠΈ.
ΠΠ΄Π½Π°ΠΊΠΎ, Π΅ΡΠ»ΠΈ Π²Ρ ΠΏΠΎΠΊΡΠΏΠ°Π΅ΡΠ΅ ΡΠΈΡΡΠΎΠ²ΡΡ Π·Π΅ΡΠΊΠ°Π»ΡΠ½ΡΡ ΠΊΠ°ΠΌΠ΅ΡΡ ΠΈ ΡΠ΅Π΄ΠΊΠΎ ΠΈΡΠΏΠΎΠ»ΡΠ·ΡΠ΅ΡΠ΅ Live View, ΡΠ±Π΅Π΄ΠΈΡΠ΅ΡΡ, ΡΡΠΎ Π²Π°ΡΠ° ΠΊΠ°ΠΌΠ΅ΡΠ° ΠΌΠΎΠΆΠ΅Ρ Π²ΡΠΏΠΎΠ»Π½ΡΡΡ Π°Π²ΡΠΎΡΠΎΠΊΡΡΠΈΡΠΎΠ²ΠΊΡ Ρ ΠΎΠΏΡΠ΅Π΄Π΅Π»Π΅Π½ΠΈΠ΅ΠΌ ΡΠ°Π·Ρ Π½Π° Π΄Π°ΡΡΠΈΠΊΠ΅, Π½Π΅ Π΄ΠΎΠ»ΠΆΠ½ΠΎ Π±ΡΡΡ ΠΏΡΠΈΠΎΡΠΈΡΠ΅ΡΠΎΠΌ, ΠΏΠΎΡΠΎΠΌΡ ΡΡΠΎ ΠΎΠ½Π° Π²Π°ΠΌ ΠΎΡΠ΅Π½Ρ ΡΠ΅Π΄ΠΊΠΎ ΠΏΠΎΠ½Π°Π΄ΠΎΠ±ΠΈΡΡΡ.
ΠΠΎΡ ΠΎΠΆΠΈΠ΅ ΡΠΎΠΎΠ±ΡΠ΅Π½ΠΈΡ
ΠΠ°ΡΡΠΈΠ²Π½ΡΠΉ Π°Π²ΡΠΎΡΠΎΠΊΡΡ Π² ΡΠΎΡΠΎΠ³ΡΠ°ΡΠΈΠΈ Π’ΠΎΡΠΊΠΈ ΡΠΎΠΊΡΡΠΈΡΠΎΠ²ΠΊΠΈ ΠΊΠ°ΠΌΠ΅ΡΡ: ΠΏΠΎΠ»Π½ΠΎΠ΅ ΡΡΠΊΠΎΠ²ΠΎΠ΄ΡΡΠ²ΠΎ
ΠΠ±Π½Π°ΡΡΠΆΠ΅Π½ΠΈΠ΅ ΡΠ°Π·Ρ ΠΈ ΠΎΠΏΡΠ΅Π΄Π΅Π»Π΅Π½ΠΈΠ΅ ΠΊΠΎΠ½ΡΡΠ°ΡΡΠ°: ΠΠ°ΠΊΠ»ΡΡΠ΅Π½ΠΈΠ΅
ΠΠ²ΡΠΎΡΠΎΠΊΡΡΠΈΡΠΎΠ²ΠΊΠ° Ρ ΠΎΠΏΡΠ΅Π΄Π΅Π»Π΅Π½ΠΈΠ΅ΠΌ ΡΠ°Π·Ρ ΠΈ Π°Π²ΡΠΎΡΠΎΠΊΡΡΠΈΡΠΎΠ²ΠΊΠ° Ρ ΠΎΠ±Π½Π°ΡΡΠΆΠ΅Π½ΠΈΠ΅ΠΌ ΠΊΠΎΠ½ΡΡΠ°ΡΡΠ° ΠΌΠΎΠ³ΡΡ ΠΏΠΎΠΊΠ°Π·Π°ΡΡΡΡ ΡΠ»ΠΎΠΆΠ½ΡΠΌΠΈ ΡΠ΅ΠΌΠ°ΠΌΠΈ Π΄Π»Ρ ΠΎΡΠ²ΠΎΠ΅Π½ΠΈΡ.
ΠΠΎ, ΠΊΠ°ΠΊ Π²Ρ ΡΠ΅ΠΏΠ΅ΡΡ Π·Π½Π°Π΅ΡΠ΅, ΠΈΡ ΠΎΠ±ΠΎΠΈΡ Π»Π΅Π³ΠΊΠΎ ΠΏΠΎΠ½ΡΡΡ.
Π’Π°ΠΊ ΡΡΠΎ Π² ΡΠ»Π΅Π΄ΡΡΡΠΈΠΉ ΡΠ°Π·, ΠΊΠΎΠ³Π΄Π° Π²Ρ ΡΠ²ΠΈΠ΄ΠΈΡΠ΅, ΠΊΠ°ΠΊ ΠΏΡΠΎΠΈΠ·Π²ΠΎΠ΄ΠΈΡΠ΅Π»Ρ ΠΊΠ°ΠΌΠ΅ΡΡ Π³ΠΎΠ²ΠΎΡΠΈΡ ΠΎΠ± Π°Π²ΡΠΎΡΠΎΠΊΡΡΠΈΡΠΎΠ²ΠΊΠ΅ Ρ ΠΎΠΏΡΠ΅Π΄Π΅Π»Π΅Π½ΠΈΠ΅ΠΌ ΡΠ°Π·Ρ ΠΈΠ»ΠΈ Π°Π²ΡΠΎΡΠΎΠΊΡΡΠΈΡΠΎΠ²ΠΊΠ΅ Ρ ΠΎΠΏΡΠ΅Π΄Π΅Π»Π΅Π½ΠΈΠ΅ΠΌ ΠΊΠΎΠ½ΡΡΠ°ΡΡΠ°, Π²Ρ Π±ΡΠ΄Π΅ΡΠ΅ Ρ ΠΎΡΠΎΡΠΎ ΠΏΠΎΠ΄Π³ΠΎΡΠΎΠ²Π»Π΅Π½Ρ, ΡΡΠΎΠ±Ρ ΠΏΠΎΠ½ΡΡΡ, ΠΎ ΡΠ΅ΠΌ ΠΈΠ΄Π΅Ρ ΡΠ΅ΡΡ.
ΠΠ²ΡΠΎΡΠΎΠΊΡΡΠΈΡΠΎΠ²ΠΊΠ° Ρ ΠΎΠΏΡΠ΅Π΄Π΅Π»Π΅Π½ΠΈΠ΅ΠΌ ΡΠ°Π·Ρ Π»ΡΡΡΠ΅, ΡΠ΅ΠΌ Π°Π²ΡΠΎΡΠΎΠΊΡΡΠΈΡΠΎΠ²ΠΊΠ° Ρ ΠΎΠΏΡΠ΅Π΄Π΅Π»Π΅Π½ΠΈΠ΅ΠΌ ΠΊΠΎΠ½ΡΡΠ°ΡΡΠ°?
ΠΠ»Ρ Π±ΠΎΠ»ΡΡΠΈΠ½ΡΡΠ²Π° ΡΠ΅Π»Π΅ΠΉ Π΄Π°.
ΠΠ²ΡΠΎΡΠΎΠΊΡΡΠΈΡΠΎΠ²ΠΊΠ° Ρ ΠΎΠΏΡΠ΅Π΄Π΅Π»Π΅Π½ΠΈΠ΅ΠΌ ΡΠ°Π·Ρ ΡΠ°Π±ΠΎΡΠ°Π΅Ρ Π½Π°ΠΌΠ½ΠΎΠ³ΠΎ Π±ΡΡΡΡΠ΅Π΅, ΡΠ΅ΠΌ Π°Π²ΡΠΎΡΠΎΠΊΡΡΠΈΡΠΎΠ²ΠΊΠ° Ρ ΠΎΠ±Π½Π°ΡΡΠΆΠ΅Π½ΠΈΠ΅ΠΌ ΠΊΠΎΠ½ΡΡΠ°ΡΡΠ°. Π Ρ
ΠΎΡΡ Π²Π΅ΡΠ½ΠΎ ΡΠΎ, ΡΡΠΎ Π°Π²ΡΠΎΡΠΎΠΊΡΡΠΈΡΠΎΠ²ΠΊΠ° Ρ ΠΎΠΏΡΠ΅Π΄Π΅Π»Π΅Π½ΠΈΠ΅ΠΌ ΠΊΠΎΠ½ΡΡΠ°ΡΡΠ° ΡΠ°Π½ΡΡΠ΅ Π±ΡΠ»Π° Π±ΠΎΠ»Π΅Π΅ ΡΠΎΡΠ½ΠΎΠΉ, ΡΠ΅ΠΌ Π°Π²ΡΠΎΡΠΎΠΊΡΡΠΈΡΠΎΠ²ΠΊΠ° Ρ ΠΎΠΏΡΠ΅Π΄Π΅Π»Π΅Π½ΠΈΠ΅ΠΌ ΡΠ°Π·Ρ, Π°Π²ΡΠΎΡΠΎΠΊΡΡΠΈΡΠΎΠ²ΠΊΠ° Ρ ΠΎΠΏΡΠ΅Π΄Π΅Π»Π΅Π½ΠΈΠ΅ΠΌ ΡΠ°Π·Ρ Π½Π° Π΄Π°ΡΡΠΈΠΊΠ΅ ΠΎΠΏΡΠΎΠ²Π΅ΡΠ³Π°Π΅Ρ ΡΡΠΎ.
ΠΡΠΏΠΎΠ»ΡΠ·ΡΡΡ Π»ΠΈ Π±Π΅Π·Π·Π΅ΡΠΊΠ°Π»ΡΠ½ΡΠ΅ ΠΊΠ°ΠΌΠ΅ΡΡ Π°Π²ΡΠΎΡΠΎΠΊΡΡΠΈΡΠΎΠ²ΠΊΡ Ρ ΠΎΠΏΡΠ΅Π΄Π΅Π»Π΅Π½ΠΈΠ΅ΠΌ ΠΊΠΎΠ½ΡΡΠ°ΡΡΠ°?
ΠΠΎΠ»ΡΡΠ΅ Π½Π΅Ρ. ΠΠΎΠ»ΡΡΠΈΠ½ΡΡΠ²ΠΎ Π±Π΅Π·Π·Π΅ΡΠΊΠ°Π»ΡΠ½ΡΡ ΠΊΠ°ΠΌΠ΅Ρ ΠΈΡΠΏΠΎΠ»ΡΠ·ΠΎΠ²Π°Π»ΠΈ Π°Π²ΡΠΎΡΠΎΠΊΡΡΠΈΡΠΎΠ²ΠΊΡ Ρ ΠΎΠΏΡΠ΅Π΄Π΅Π»Π΅Π½ΠΈΠ΅ΠΌ ΠΊΠΎΠ½ΡΡΠ°ΡΡΠ°. ΠΠΎ Ρ ΠΏΠΎΡΠ²Π»Π΅Π½ΠΈΠ΅ΠΌ ΡΠΈΡΡΠ΅ΠΌ Π°Π²ΡΠΎΡΠΎΠΊΡΡΠΈΡΠΎΠ²ΠΊΠΈ Ρ ΠΎΠΏΡΠ΅Π΄Π΅Π»Π΅Π½ΠΈΠ΅ΠΌ ΡΠ°Π·Ρ Π½Π° Π΄Π°ΡΡΠΈΠΊΠ΅ ΡΡΠ°Π»ΠΎ Π²ΠΎΠ·ΠΌΠΎΠΆΠ½ΡΠΌ ΠΈΡΠΏΠΎΠ»ΡΠ·ΠΎΠ²Π°ΡΡ Π±ΡΡΡΡΠΎΠ΄Π΅ΠΉΡΡΠ²ΡΡΡΠΈΠ΅ ΡΠΈΡΡΠ΅ΠΌΡ Π°Π²ΡΠΎΡΠΎΠΊΡΡΠΈΡΠΎΠ²ΠΊΠΈ Ρ ΠΎΠΏΡΠ΅Π΄Π΅Π»Π΅Π½ΠΈΠ΅ΠΌ ΡΠ°Π·Ρ Π² Π±Π΅Π·Π·Π΅ΡΠΊΠ°Π»ΡΠ½ΡΡ ΠΊΠ°ΠΌΠ΅ΡΠ°Ρ .
ΠΡΠΏΠΎΠ»ΡΠ·ΡΡΡ Π»ΠΈ Π·Π΅ΡΠΊΠ°Π»ΡΠ½ΡΠ΅ ΡΠΎΡΠΎΠΊΠ°ΠΌΠ΅ΡΡ ΡΠ°Π·ΠΎΠ²ΡΡ Π°Π²ΡΠΎΡΠΎΠΊΡΡΠΈΡΠΎΠ²ΠΊΡ?
ΠΠΎΠ»ΡΡΠΈΠ½ΡΡΠ²ΠΎ ΡΠΈΡΡΠΎΠ²ΡΡ
Π·Π΅ΡΠΊΠ°Π»ΡΠ½ΡΡ
ΡΠΎΡΠΎΠΊΠ°ΠΌΠ΅Ρ ΠΈΡΠΏΠΎΠ»ΡΠ·ΡΡΡ ΡΠ°Π·ΠΎΠ²ΡΡ Π°Π²ΡΠΎΡΠΎΠΊΡΡΠΈΡΠΎΠ²ΠΊΡ, ΠΊΠΎΠ³Π΄Π° Π·Π΅ΡΠΊΠ°Π»ΠΎ ΠΎΠΏΡΡΠ΅Π½ΠΎ (ΡΠΎ Π΅ΡΡΡ, ΠΊΠΎΠ³Π΄Π° Π²Ρ ΠΌΠΎΠΆΠ΅ΡΠ΅ ΡΠΌΠΎΡΡΠ΅ΡΡ Π² Π²ΠΈΠ΄ΠΎΠΈΡΠΊΠ°ΡΠ΅Π»Ρ, ΡΡΠΎ ΠΏΡΠΎΠΈΡΡ
ΠΎΠ΄ΠΈΡ Π² Π±ΠΎΠ»ΡΡΠΈΠ½ΡΡΠ²Π΅ ΡΠ»ΡΡΠ°Π΅Π²). ΠΠΎ Π΅ΡΠ»ΠΈ Π²Ρ Π°ΠΊΡΠΈΠ²ΠΈΡΡΠ΅ΡΠ΅ ΡΠ΅ΠΆΠΈΠΌ Live View Π½Π° DSLR, ΠΎΠ½ ΡΠ°ΡΡΠΎ ΠΏΠ΅ΡΠ΅ΠΊΠ»ΡΡΠ°Π΅ΡΡΡ Π½Π° Π°Π²ΡΠΎΡΠΎΠΊΡΡΠΈΡΠΎΠ²ΠΊΡ Ρ ΠΎΠΏΡΠ΅Π΄Π΅Π»Π΅Π½ΠΈΠ΅ΠΌ ΠΊΠΎΠ½ΡΡΠ°ΡΡΠ°.
ΠΠ±ΡΠ°ΡΠΈΡΠ΅ Π²Π½ΠΈΠΌΠ°Π½ΠΈΠ΅, ΡΡΠΎ ΡΡΠΎ Π½Π΅ Π²ΡΠ΅Π³Π΄Π° ΡΠ°ΠΊ; Π½Π΅ΠΊΠΎΡΠΎΡΡΠ΅ DSLR ΠΏΡΠ΅Π΄Π»Π°Π³Π°ΡΡ Π°Π²ΡΠΎΡΠΎΠΊΡΡΠΈΡΠΎΠ²ΠΊΡ Ρ ΠΎΠΏΡΠ΅Π΄Π΅Π»Π΅Π½ΠΈΠ΅ΠΌ ΡΠ°Π·Ρ Π΄Π°ΠΆΠ΅ Π² ΡΠ΅ΠΆΠΈΠΌΠ΅ Live View, Π½ΠΎ ΠΎΠ½ΠΈ ΠΌΠ΅Π½Π΅Π΅ ΡΠ°ΡΠΏΡΠΎΡΡΡΠ°Π½Π΅Π½Ρ.
ΠΠ²ΡΠΎΡΠΎΠΊΡΡΠΈΡΠΎΠ²ΠΊΠ° β Π’ΠΎΠ½ΠΈ ΠΈ Π§Π΅Π»ΡΠΈ ΠΠΎΡΡΡΡΠΏ
ΠΠΎΡΡΠΈ Π»ΡΠ±Π°Ρ ΠΊΠ°ΠΌΠ΅ΡΠ° Π±ΡΠ΄Π΅Ρ ΡΠΎΠΊΡΡΠΈΡΠΎΠ²Π°ΡΡΡΡ Π½Π° Ρ ΠΎΡΠΎΡΠΎ ΠΎΡΠ²Π΅ΡΠ΅Π½Π½ΡΡ Π½Π΅ΠΏΠΎΠ΄Π²ΠΈΠΆΠ½ΡΡ ΠΎΠ±ΡΠ΅ΠΊΡΠ°Ρ Ρ ΠΎΠ±ΡΠ΅ΠΊΡΠΈΠ²ΠΎΠΌ ΠΈΠ· ΠΊΠΎΠΌΠΏΠ»Π΅ΠΊΡΠ°, ΠΏΠΎΡΡΠΎΠΌΡ ΠΎΠ±ΡΡΠ½ΠΎΠΌΡ ΡΠΎΡΠΎΠ³ΡΠ°ΡΡ Π½Π΅ Π½ΡΠΆΠ½ΠΎ ΠΎΠ± ΡΡΠΎΠΌ Π±Π΅ΡΠΏΠΎΠΊΠΎΠΈΡΡΡΡ. Π€ΠΎΠΊΡΡΠΈΡΠΎΠ²ΠΊΠ° ΡΡΠ°Π½ΠΎΠ²ΠΈΡΡΡ ΡΠ»ΠΎΠΆΠ½ΠΎΠΉ Π·Π°Π΄Π°ΡΠ΅ΠΉ ΠΏΡΠΈ ΠΎΡΡΠ»Π΅ΠΆΠΈΠ²Π°Π½ΠΈΠΈ Π΄Π²ΠΈΠΆΡΡΠΈΡ ΡΡ ΠΎΠ±ΡΠ΅ΠΊΡΠΎΠ² (Π½Π°ΠΏΡΠΈΠΌΠ΅Ρ, ΡΠΏΠΎΡΡΠΈΠ²Π½ΡΡ ΡΠΎΡΡΡΠ·Π°Π½ΠΈΠΉ ΠΈ Π΄ΠΈΠΊΠΎΠΉ ΠΏΡΠΈΡΠΎΠ΄Ρ), ΠΏΡΠΈ ΡΡΠ΅ΠΌΠΊΠ΅ Π² ΡΡΠ»ΠΎΠ²ΠΈΡΡ Π½ΠΈΠ·ΠΊΠΎΠΉ ΠΎΡΠ²Π΅ΡΠ΅Π½Π½ΠΎΡΡΠΈ ΠΈ ΠΏΡΠΈ ΡΠ°Π±ΠΎΡΠ΅ Ρ ΠΌΠ°Π»ΠΎΠΉ Π³Π»ΡΠ±ΠΈΠ½ΠΎΠΉ ΡΠ΅Π·ΠΊΠΎΡΡΠΈ. Π’Π΅Π»Π΅ΠΎΠ±ΡΠ΅ΠΊΡΠΈΠ²Ρ ΠΈ ΡΠ²Π΅ΡΠΎΡΠΈΠ»ΡΠ½ΡΠ΅ ΠΎΠ±ΡΠ΅ΠΊΡΠΈΠ²Ρ (Ρ ΡΠ°ΠΊΠΈΠΌΠΈ ΡΠΈΡΠ»Π°ΠΌΠΈ Π΄ΠΈΠ°ΡΡΠ°Π³ΠΌΡ, ΠΊΠ°ΠΊ f/1,8) ΠΈΠΌΠ΅ΡΡ ΠΌΠ°Π»ΡΡ Π³Π»ΡΠ±ΠΈΠ½Ρ ΡΠ΅Π·ΠΊΠΎΡΡΠΈ, ΡΡΠΎ ΠΎΠ·Π½Π°ΡΠ°Π΅Ρ, ΡΡΠΎ Π³Π»Π°Π·Π° Π²Π°ΡΠ΅Π³ΠΎ ΠΎΠ±ΡΠ΅ΠΊΡΠ° ΠΌΠΎΠ³ΡΡ Π±ΡΡΡ Π² ΡΠΎΠΊΡΡΠ΅, Π½ΠΎ ΡΠΎΠ½ Π±ΡΠ΄Π΅Ρ ΠΎΡΠ΅Π½Ρ ΡΠ°Π·ΠΌΡΡΡΠΌ. ΠΠΎΠΏΠΎΠ»Π½ΠΈΡΠ΅Π»ΡΠ½ΡΠ΅ ΡΠ²Π΅Π΄Π΅Π½ΠΈΡ ΠΎ Π³Π»ΡΠ±ΠΈΠ½Π΅ ΡΠ΅Π·ΠΊΠΎΡΡΠΈ ΡΠΌ. Π² Π³Π»Π°Π²Π΅ 4 ΠΈΠ· 9.0102 ΠΠΎΡΡΡΡΠ°ΡΡΠ°Ρ ΡΠΈΡΡΠΎΠ²Π°Ρ ΡΠΎΡΠΎΠ³ΡΠ°ΡΠΈΡ .
Π‘ΡΠ°Π²Π½Π΅Π½ΠΈΠ΅ Π±Π΅Π·Π·Π΅ΡΠΊΠ°Π»ΡΠ½ΡΡ ΠΈ Π·Π΅ΡΠΊΠ°Π»ΡΠ½ΡΡ ΠΊΠ°ΠΌΠ΅Ρ
ΠΠ°ΠΊ ΠΏΡΠ°Π²ΠΈΠ»ΠΎ, Π·Π΅ΡΠΊΠ°Π»ΠΊΠΈ Π°Π²ΡΠΎΡΠΎΠΊΡΡΠΈΡΡΡΡΡΡ Π»ΡΡΡΠ΅, ΡΠ΅ΠΌ Π±Π΅Π·Π·Π΅ΡΠΊΠ°Π»ΡΠ½ΡΠ΅ ΠΊΠ°ΠΌΠ΅ΡΡ (ΠΏΡΠΈ ΠΈΡΠΏΠΎΠ»ΡΠ·ΠΎΠ²Π°Π½ΠΈΠΈ Π²ΠΈΠ΄ΠΎΠΈΡΠΊΠ°ΡΠ΅Π»Ρ).
Π€Π°ΠΊΡΠΈΡΠ΅ΡΠΊΠΈ, Π² Π½Π°ΡΠ΅ΠΌ ΡΠ΅ΡΡΠΈΡΠΎΠ²Π°Π½ΠΈΠΈ ΡΠ°ΠΌΡΠ΅ Π΄Π΅ΡΠ΅Π²ΡΠ΅ Π·Π΅ΡΠΊΠ°Π»ΡΠ½ΡΠ΅ ΡΠΎΡΠΎΠΊΠ°ΠΌΠ΅ΡΡ Π»ΡΡΡΠ΅ ΡΠΏΡΠ°Π²Π»ΡΠ»ΠΈΡΡ Ρ Π°Π²ΡΠΎΡΠΎΠΊΡΡΠΈΡΠΎΠ²ΠΊΠΎΠΉ Π½Π° Π΄Π²ΠΈΠΆΡΡΠΈΡ
ΡΡ ΠΎΠ±ΡΠ΅ΠΊΡΠ°Ρ
, ΡΠ΅ΠΌ ΡΠ°ΠΌΡΠ΅ Π΄ΠΎΡΠΎΠ³ΠΈΠ΅ Π±Π΅Π·Π·Π΅ΡΠΊΠ°Π»ΡΠ½ΡΠ΅ ΠΊΠ°ΠΌΠ΅ΡΡ, Π²ΠΊΠ»ΡΡΠ°Ρ ΡΠ°ΠΊΠΈΠ΅ ΠΊΠ°ΠΌΠ΅ΡΡ, ΠΊΠ°ΠΊ Sony a6000 ΠΈ Fujifilm X-T1, ΠΊΠΎΡΠΎΡΡΠ΅ ΡΠ΅ΠΊΠ»Π°ΠΌΠΈΡΡΡΡ ΡΠ°Π·ΠΎΠ²ΡΡ ΡΠΎΠΊΡΡΠΈΡΠΎΠ²ΠΊΡ. ΠΡΠ° ΡΠ°Π·Π½ΠΈΡΠ° Π² ΡΠΊΠΎΡΠΎΡΡΠΈ ΡΠΎΠΊΡΡΠΈΡΠΎΠ²ΠΊΠΈ ΠΎΠ·Π½Π°ΡΠ°Π΅Ρ, ΡΡΠΎ Π΄Π΅ΡΠ΅Π²Π°Ρ Π±Π΅Π·Π·Π΅ΡΠΊΠ°Π»ΡΠ½Π°Ρ ΠΊΠ°ΠΌΠ΅ΡΠ° Π½Π΅ Π±ΡΠ΄Π΅Ρ ΠΏΠΎΠ»Π΅Π·Π½Π° Π΄Π»Ρ ΠΎΡΠΊΡΠΎΠ²Π΅Π½Π½ΡΡ
ΠΏΠΎΡΡΡΠ΅ΡΠΎΠ², ΡΠΏΠΎΡΡΠΈΠ²Π½ΡΡ
ΡΠΎΡΡΡΠ·Π°Π½ΠΈΠΉ ΠΈΠ»ΠΈ Π΄Π²ΠΈΠΆΡΡΠΈΡ
ΡΡ ΠΆΠΈΠ²ΠΎΡΠ½ΡΡ
. ΠΡΠ»ΠΈ Π²Π°Ρ ΠΈΠ½ΡΠ΅ΡΠ΅ΡΡΡΡ ΡΠ°ΠΊΠΈΠ΅ ΡΠΈΠΏΡ ΡΠΎΡΠΎΠ³ΡΠ°ΡΠΈΠΉ, ΠΎΠ±ΡΠ°ΡΠΈΡΠ΅ Π²Π½ΠΈΠΌΠ°Π½ΠΈΠ΅ Π½Π° ΡΠΈΡΡΠΎΠ²ΡΠ΅ Π·Π΅ΡΠΊΠ°Π»ΡΠ½ΡΠ΅ ΠΊΠ°ΠΌΠ΅ΡΡ. ΠΠ±ΡΠ°ΡΠΈΡΠ΅ Π²Π½ΠΈΠΌΠ°Π½ΠΈΠ΅, ΡΡΠΎ Π±Π΅Π·Π·Π΅ΡΠΊΠ°Π»ΡΠ½ΡΠ΅ ΠΊΠ°ΠΌΠ΅ΡΡ ΠΏΠΎΠ΄Π΄Π΅ΡΠΆΠΈΠ²Π°ΡΡ ΠΊΠ°ΠΊ ΠΎΠ΄ΠΈΠ½ΠΎΡΠ½ΡΠΉ, ΡΠ°ΠΊ ΠΈ Π½Π΅ΠΏΡΠ΅ΡΡΠ²Π½ΡΠΉ ΡΠ΅ΠΆΠΈΠΌΡ Π°Π²ΡΠΎΡΠΎΠΊΡΡΠΈΡΠΎΠ²ΠΊΠΈ. ΠΠ΄Π½Π°ΠΊΠΎ ΡΠΎΠΊΡΡΠΈΡΠΎΠ²ΠΊΠ° ΠΈΠΌΠ΅Π΅Ρ ΡΠ΅Π½Π΄Π΅Π½ΡΠΈΡ Π±ΡΡΡ Π½Π°ΡΡΠΎΠ»ΡΠΊΠΎ ΠΌΠ΅Π΄Π»Π΅Π½Π½ΠΎΠΉ, ΡΡΠΎ Π½Π΅ΠΏΡΠ΅ΡΡΠ²Π½Π°Ρ Π°Π²ΡΠΎΡΠΎΠΊΡΡΠΈΡΠΎΠ²ΠΊΠ° Π½Π° Π΄Π²ΠΈΠΆΡΡΠΈΡ
ΡΡ ΠΎΠ±ΡΠ΅ΠΊΡΠ°Ρ
ΡΠ°Π±ΠΎΡΠ°Π΅Ρ Π½Π΅ ΠΎΡΠ΅Π½Ρ Ρ
ΠΎΡΠΎΡΠΎ. ΠΠ° ΠΏΡΠ°ΠΊΡΠΈΠΊΠ΅ Π²Ρ, ΠΊΠ°ΠΊ ΠΏΡΠ°Π²ΠΈΠ»ΠΎ, ΠΏΠΎΠ»ΡΡΠ°Π΅ΡΠ΅ Π»ΡΡΡΠΈΠ΅ ΡΠ΅Π·ΡΠ»ΡΡΠ°ΡΡ Ρ Π°Π²ΡΠΎΡΠΎΠΊΡΡΠΈΡΠΎΠ²ΠΊΠΎΠΉ ΠΏΠΎ ΠΎΠ΄Π½ΠΎΠΌΡ ΠΊΠ°Π΄ΡΡ.
Π Π°Π·Π»ΠΈΡΠ½ΡΠ΅ ΡΠ΅Ρ Π½ΠΎΠ»ΠΎΠ³ΠΈΠΈ ΡΠΎΠΊΡΡΠΈΡΠΎΠ²ΠΊΠΈ
ΠΠΎΠ»ΡΡΠΈΠ½ΡΡΠ²ΠΎ ΡΠΎΠ²ΡΠ΅ΠΌΠ΅Π½Π½ΡΡ ΡΠΈΡΡΠΎΠ²ΡΡ Π·Π΅ΡΠΊΠ°Π»ΡΠ½ΡΡ ΠΊΠ°ΠΌΠ΅Ρ ΠΈ ΠΌΠ½ΠΎΠ³ΠΈΠ΅ Π±Π΅Π·Π·Π΅ΡΠΊΠ°Π»ΡΠ½ΡΠ΅ ΠΊΠ°ΠΌΠ΅ΡΡ Π±ΠΎΠ»Π΅Π΅ Π²ΡΡΠΎΠΊΠΎΠ³ΠΎ ΠΊΠ»Π°ΡΡΠ° ΠΈΠΌΠ΅ΡΡ Π΄Π²Π° ΡΠ°Π·Π»ΠΈΡΠ½ΡΡ ΠΌΠ΅Ρ Π°Π½ΠΈΠ·ΠΌΠ° ΡΠΎΠΊΡΡΠΈΡΠΎΠ²ΠΊΠΈ:
- ΠΠΏΡΠ΅Π΄Π΅Π»Π΅Π½ΠΈΠ΅ ΡΠ°Π·Ρ .
Π‘Π°ΠΌΡΠΉ Π±ΡΡΡΡΡΠΉ ΡΠΏΠΎΡΠΎΠ± Π°Π²ΡΠΎΡΠΎΠΊΡΡΠΈΡΠΎΠ²ΠΊΠΈ, ΡΠ°Π·ΠΎΠ²Π°Ρ Π΄Π΅ΡΠ΅ΠΊΡΠΈΡ ΠΈΡΠΏΠΎΠ»ΡΠ·ΡΠ΅Ρ ΠΏΠ°ΡΡ Π΄Π°ΡΡΠΈΠΊΠΎΠ² Π΄Π»Ρ ΠΊΠ°ΠΆΠ΄ΠΎΠΉ ΡΠΎΡΠΊΠΈ ΡΠΎΠΊΡΡΠΈΡΠΎΠ²ΠΊΠΈ. Π DSLR ΡΠ²Π΅Ρ ΠΏΡΠΎΡ
ΠΎΠ΄ΠΈΡ ΡΠ΅ΡΠ΅Π· ΡΠ°ΡΡΠΈΡΠ½ΠΎ ΠΏΡΠΎΠ·ΡΠ°ΡΠ½ΠΎΠ΅ Π·Π΅ΡΠΊΠ°Π»ΠΎ Π²Π°ΡΠ΅ΠΉ DSLR. ΠΠ° ΡΡΠΈΠΌ Π·Π΅ΡΠΊΠ°Π»ΠΎΠΌ, Π½Π° ΡΠΎΡΠ½ΠΎ ΡΠ°ΠΊΠΎΠΌ ΠΆΠ΅ ΡΠ°ΡΡΡΠΎΡΠ½ΠΈΠΈ ΠΎΡ ΠΎΠ±ΡΠ΅ΠΊΡΠΈΠ²Π°, ΠΊΠ°ΠΊ ΠΈ Π΄Π°ΡΡΠΈΠΊΠΈ Π²Π°ΡΠ΅ΠΉ ΠΊΠ°ΠΌΠ΅ΡΡ, Π½Π°Ρ
ΠΎΠ΄ΠΈΡΡΡ ΠΎΠ΄Π½Π° ΠΈΠ»ΠΈ Π½Π΅ΡΠΊΠΎΠ»ΡΠΊΠΎ ΠΏΠ°Ρ Π΄Π°ΡΡΠΈΠΊΠΎΠ² ΡΠΎΠΊΡΡΠΈΡΠΎΠ²ΠΊΠΈ Π΄Π»Ρ ΠΊΠ°ΠΆΠ΄ΠΎΠΉ ΡΠΎΡΠΊΠΈ ΡΠΎΠΊΡΡΠΈΡΠΎΠ²ΠΊΠΈ Π½Π° Π²Π°ΡΠ΅ΠΉ ΠΊΠ°ΠΌΠ΅ΡΠ΅. ΠΡΠΈ Π΄Π°ΡΡΠΈΠΊΠΈ Π²ΠΈΠ΄ΡΡ Π½Π΅Π±ΠΎΠ»ΡΡΡΡ ΡΠ°ΡΡΡ Π²Π°ΡΠ΅Π³ΠΎ ΠΈΠ·ΠΎΠ±ΡΠ°ΠΆΠ΅Π½ΠΈΡ ΠΏΠΎΠ΄ Π΄Π²ΡΠΌΡ Π½Π΅ΠΌΠ½ΠΎΠ³ΠΎ ΡΠ°Π·Π½ΡΠΌΠΈ ΡΠ³Π»Π°ΠΌΠΈ. ΠΠΎΠ³Π΄Π° ΠΈΠ·ΠΎΠ±ΡΠ°ΠΆΠ΅Π½ΠΈΠ΅ Ρ Π΄Π²ΡΡ
Π΄Π°ΡΡΠΈΠΊΠΎΠ² ΡΠΎΠ²ΠΏΠ°Π΄Π°Π΅Ρ, ΡΡΠ° ΡΠ°ΡΡΡ ΠΈΠ·ΠΎΠ±ΡΠ°ΠΆΠ΅Π½ΠΈΡ Π½Π°Ρ
ΠΎΠ΄ΠΈΡΡΡ Π² ΡΠΎΠΊΡΡΠ΅, ΠΈ Π²Π°ΡΠ° ΠΊΠ°ΠΌΠ΅ΡΠ° ΠΌΠΎΠΆΠ΅Ρ ΠΎΡΡΠ°Π½ΠΎΠ²ΠΈΡΡ ΠΏΡΠΎΡΠ΅ΡΡ Π°Π²ΡΠΎΡΠΎΠΊΡΡΠΈΡΠΎΠ²ΠΊΠΈ. - ΠΠ΅ΡΠ΅ΠΊΡΠΎΡ ΠΊΠΎΠ½ΡΡΠ°ΡΡΠ° . ΠΠ²ΡΠΎΡΠΎΠΊΡΡΠΈΡΠΎΠ²ΠΊΠ° Ρ ΠΎΠΏΡΠ΅Π΄Π΅Π»Π΅Π½ΠΈΠ΅ΠΌ ΠΊΠΎΠ½ΡΡΠ°ΡΡΠ° ΡΠ°Π±ΠΎΡΠ°Π΅Ρ Π½Π°ΠΌΠ½ΠΎΠ³ΠΎ ΠΌΠ΅Π΄Π»Π΅Π½Π½Π΅Π΅, ΡΠ΅ΠΌ Π°Π²ΡΠΎΡΠΎΠΊΡΡΠΈΡΠΎΠ²ΠΊΠ° Ρ ΠΎΠΏΡΠ΅Π΄Π΅Π»Π΅Π½ΠΈΠ΅ΠΌ ΡΠ°Π·Ρ; ΠΎΠ΄Π½Π°ΠΊΠΎ ΠΎΠ±Π½Π°ΡΡΠΆΠ΅Π½ΠΈΠ΅ ΠΊΠΎΠ½ΡΡΠ°ΡΡΠ° ΡΠ²Π»ΡΠ΅ΡΡΡ Π±ΠΎΠ»Π΅Π΅ Π³ΠΈΠ±ΠΊΠΈΠΌ, ΠΏΠΎΡΠΊΠΎΠ»ΡΠΊΡ ΠΎΠ½ΠΎ ΠΌΠΎΠΆΠ΅Ρ ΡΡΠΎΠΊΡΡΠΈΡΠΎΠ²Π°ΡΡΡΡ Π½Π° Π»ΡΠ±ΠΎΠΉ ΡΠ°ΡΡΠΈ ΠΈΠ·ΠΎΠ±ΡΠ°ΠΆΠ΅Π½ΠΈΡ, Π° Π½Π΅ ΡΠΎΠ»ΡΠΊΠΎ Π½Π° ΡΠΎΠΌ ΠΌΠ΅ΡΡΠ΅, Π³Π΄Π΅ ΡΡΡΠ΅ΡΡΠ²ΡΠ΅Ρ ΡΠΎΡΠΊΠ° ΡΠΎΠΊΡΡΠΈΡΠΎΠ²ΠΊΠΈ. Π¦ΠΈΡΡΠΎΠ²ΡΠ΅ Π·Π΅ΡΠΊΠ°Π»ΡΠ½ΡΠ΅ ΡΠΎΡΠΎΠΊΠ°ΠΌΠ΅ΡΡ ΠΌΠΎΠ³ΡΡ ΠΈΡΠΏΠΎΠ»ΡΠ·ΠΎΠ²Π°ΡΡ ΠΎΠ±Π½Π°ΡΡΠΆΠ΅Π½ΠΈΠ΅ ΠΊΠΎΠ½ΡΡΠ°ΡΡΠ° Π² ΡΠ΅ΠΆΠΈΠΌΠ΅ ΠΏΡΠΎΡΠΌΠΎΡΡΠ° Π² ΡΠ΅Π°Π»ΡΠ½ΠΎΠΌ Π²ΡΠ΅ΠΌΠ΅Π½ΠΈ, Π° Π½Π΅ΠΊΠΎΡΠΎΡΡΠ΅ ΠΏΠΎΠ΄Π΄Π΅ΡΠΆΠΈΠ²Π°ΡΡ Π°Π²ΡΠΎΡΠΎΠΊΡΡΠΈΡΠΎΠ²ΠΊΡ Ρ ΠΎΠΏΡΠ΅Π΄Π΅Π»Π΅Π½ΠΈΠ΅ΠΌ ΠΊΠΎΠ½ΡΡΠ°ΡΡΠ° Π²ΠΎ Π²ΡΠ΅ΠΌΡ Π·Π°ΠΏΠΈΡΠΈ Π²ΠΈΠ΄Π΅ΠΎ.
ΠΠ±Π½Π°ΡΡΠΆΠ΅Π½ΠΈΠ΅ ΠΊΠΎΠ½ΡΡΠ°ΡΡΠ° ΠΈΡΡΠ»Π΅Π΄ΡΠ΅Ρ Π΄Π°Π½Π½ΡΠ΅ Ρ ΡΠ΅Π½ΡΠΎΡΠ° ΠΊΠ°ΠΌΠ΅ΡΡ ΠΏΡΠΈ Π½Π°ΡΡΡΠΎΠΉΠΊΠ΅ ΡΠΎΠΊΡΡΠ° ΠΎΠ±ΡΠ΅ΠΊΡΠΈΠ²Π° ΠΈ, ΡΡΠ°Π²Π½ΠΈΠ²Π°Ρ ΠΏΠΎΡΠ»Π΅Π΄ΡΡΡΠΈΠ΅ ΠΊΠ°Π΄ΡΡ, ΡΠ½ΡΡΡΠ΅ Ρ ΡΠ΅Π½ΡΠΎΡΠ°, ΠΌΠΎΠΆΠ΅Ρ ΠΎΠΏΡΠ΅Π΄Π΅Π»ΠΈΡΡ, Π΄Π΅Π»Π°Π΅Ρ Π»ΠΈ Π΄Π²ΠΈΠΆΠ΅Π½ΠΈΠ΅ ΡΠΎΠΊΡΡΠ° Π·Π°Ρ
Π²Π°ΡΠ΅Π½Π½ΠΎΠ΅ ΠΈΠ·ΠΎΠ±ΡΠ°ΠΆΠ΅Π½ΠΈΠ΅ Π±ΠΎΠ»Π΅Π΅ ΠΊΠΎΠ½ΡΡΠ°ΡΡΠ½ΡΠΌ (ΡΡΠΎ ΡΠΊΠ°Π·ΡΠ²Π°Π΅Ρ Π½Π° Π±ΠΎΠ»Π΅Π΅ ΡΡΠΎΠΊΡΡΠΈΡΠΎΠ²Π°Π½Π½ΠΎΠ΅ ΠΈΠ·ΠΎΠ±ΡΠ°ΠΆΠ΅Π½ΠΈΠ΅) ΠΈΠ»ΠΈ ΠΌΠ΅Π½Π΅Π΅ ΠΊΠΎΠ½ΡΡΠ°ΡΡΠ½ΡΠΌ (ΡΡΠΎ ΡΠΊΠ°Π·ΡΠ²Π°Π΅Ρ Π½Π° ΠΌΠ΅Π½ΡΡΡΡ ΡΠ΅Π·ΠΊΠΎΡΡΡ). Π² ΡΠΎΠΊΡΡΠ΅) Π² Π»ΡΠ±ΠΎΠΉ ΡΠΎΡΠΊΠ΅ ΠΊΠ°Π΄ΡΠ°. ΠΠΎΡΡΠΎΠΌΡ ΠΏΡΠΈ ΠΎΠ±Π½Π°ΡΡΠΆΠ΅Π½ΠΈΠΈ ΠΊΠΎΠ½ΡΡΠ°ΡΡΠ° ΡΠΎΡΠΊΠ° ΡΠΎΠΊΡΡΠΈΡΠΎΠ²ΠΊΠΈ ΠΌΠΎΠΆΠ΅Ρ Π½Π°Ρ
ΠΎΠ΄ΠΈΡΡΡΡ Π² Π»ΡΠ±ΠΎΠΌ ΠΌΠ΅ΡΡΠ΅ ΠΊΠ°Π΄ΡΠ°. ΠΠΎΠ»ΡΡΠΈΠ½ΡΡΠ²ΠΎ Π΄Π°ΡΡΠΈΠΊΠΎΠ² ΡΠΈΡΡΠΎΠ²ΡΡ
Π·Π΅ΡΠΊΠ°Π»ΡΠ½ΡΡ
ΠΊΠ°ΠΌΠ΅Ρ ΠΏΡΠ΅Π΄ΠΎΡΡΠ°Π²Π»ΡΡΡ Π΄Π°Π½Π½ΡΠ΅ ΡΠΎΠ»ΡΠΊΠΎ ΡΠΎ ΡΠΊΠΎΡΠΎΡΡΡΡ 30 ΠΊΠ°Π΄ΡΠΎΠ² Π² ΡΠ΅ΠΊΡΠ½Π΄Ρ ΠΈΠ»ΠΈ 60 ΠΊΠ°Π΄ΡΠΎΠ² Π² ΡΠ΅ΠΊΡΠ½Π΄Ρ, ΡΡΠΎ ΠΎΠ³ΡΠ°Π½ΠΈΡΠΈΠ²Π°Π΅Ρ ΡΠΊΠΎΡΠΎΡΡΡ, Ρ ΠΊΠΎΡΠΎΡΠΎΠΉ ΠΊΠ°ΠΌΠ΅ΡΠ° ΠΌΠΎΠΆΠ΅Ρ Π·Π°Ρ
Π²Π°ΡΡΠ²Π°ΡΡ ΠΏΠΎΡΠ»Π΅Π΄ΡΡΡΠΈΠ΅ Π²ΠΈΠ΄Ρ ΡΡΠ΅Π½Ρ Π²ΠΎ Π²ΡΠ΅ΠΌΡ ΡΠΎΠΊΡΡΠΈΡΠΎΠ²ΠΊΠΈ, ΠΈ, ΡΠ»Π΅Π΄ΠΎΠ²Π°ΡΠ΅Π»ΡΠ½ΠΎ, ΠΎΠ±ΡΡΡ ΡΠΊΠΎΡΠΎΡΡΡ ΡΠΎΠΊΡΡΠΈΡΠΎΠ²ΠΊΠΈ. Π’Π°ΠΊΠΈΠΌ ΠΎΠ±ΡΠ°Π·ΠΎΠΌ, Π±Π΅Π·Π·Π΅ΡΠΊΠ°Π»ΡΠ½ΡΠ΅ ΠΊΠ°ΠΌΠ΅ΡΡ, ΠΊΠ°ΠΊ ΠΏΡΠ°Π²ΠΈΠ»ΠΎ, ΠΈΠΌΠ΅ΡΡ Π³ΠΎΡΠ°Π·Π΄ΠΎ Π±ΠΎΠ»Π΅Π΅ Π±ΡΡΡΡΡΡ Π°Π²ΡΠΎΡΠΎΠΊΡΡΠΈΡΠΎΠ²ΠΊΡ Ρ ΠΎΠΏΡΠ΅Π΄Π΅Π»Π΅Π½ΠΈΠ΅ΠΌ ΠΊΠΎΠ½ΡΡΠ°ΡΡΠ°, ΡΠ΅ΠΌ Π·Π΅ΡΠΊΠ°Π»ΡΠ½ΡΠ΅ ΠΊΠ°ΠΌΠ΅ΡΡ.
Π¦ΠΈΡΡΠΎΠ²ΡΠ΅ Π·Π΅ΡΠΊΠ°Π»ΡΠ½ΡΠ΅ ΡΠΎΡΠΎΠΊΠ°ΠΌΠ΅ΡΡ ΠΈ Π½Π΅ΠΊΠΎΡΠΎΡΡΠ΅ Π±Π΅Π·Π·Π΅ΡΠΊΠ°Π»ΡΠ½ΡΠ΅ ΠΊΠ°ΠΌΠ΅ΡΡ ΡΠΎΠΊΡΡΠΈΡΡΡΡΡΡ Π² ΠΎΡΠ½ΠΎΠ²Π½ΠΎΠΌ Ρ ΠΏΠΎΠΌΠΎΡΡΡ Π°Π²ΡΠΎΡΠΎΠΊΡΡΠΈΡΠΎΠ²ΠΊΠΈ Ρ ΠΎΠΏΡΠ΅Π΄Π΅Π»Π΅Π½ΠΈΠ΅ΠΌ ΡΠ°Π·Ρ.
Π‘ DSLR ΠΊΠ°ΠΆΠ΄ΡΠΉ ΡΠ°Π·, ΠΊΠΎΠ³Π΄Π° Π²Ρ ΡΠΌΠΎΡΡΠΈΡΠ΅ Π² ΠΎΠΏΡΠΈΡΠ΅ΡΠΊΠΈΠΉ Π²ΠΈΠ΄ΠΎΠΈΡΠΊΠ°ΡΠ΅Π»Ρ, Π²Ρ ΠΈΡΠΏΠΎΠ»ΡΠ·ΡΠ΅ΡΠ΅ ΡΠ°Π·ΠΎΠ²ΡΡ Π°Π²ΡΠΎΡΠΎΠΊΡΡΠΈΡΠΎΠ²ΠΊΡ. ΠΡΠ΅ ΡΠΎΠ²ΡΠ΅ΠΌΠ΅Π½Π½ΡΠ΅ ΡΠΈΡΡΠΎΠ²ΡΠ΅ ΠΊΠ°ΠΌΠ΅ΡΡ ΡΠ°ΠΊΠΆΠ΅ ΠΏΠΎΠ΄Π΄Π΅ΡΠΆΠΈΠ²Π°ΡΡ Π°Π²ΡΠΎΡΠΎΠΊΡΡΠΈΡΠΎΠ²ΠΊΡ Ρ ΠΎΠΏΡΠ΅Π΄Π΅Π»Π΅Π½ΠΈΠ΅ΠΌ ΠΊΠΎΠ½ΡΡΠ°ΡΡΠ°. ΠΡΠ»ΠΈ Π²Ρ ΡΠΌΠΎΡΡΠΈΡΠ΅ Π½Π° Π΄ΠΈΡΠΏΠ»Π΅ΠΉ Π² ΡΠ΅Π°Π»ΡΠ½ΠΎΠΌ Π²ΡΠ΅ΠΌΠ΅Π½ΠΈ Π½Π° Π·Π°Π΄Π½Π΅ΠΉ ΠΏΠ°Π½Π΅Π»ΠΈ DSLR, ΡΡΠΎ ΠΎΠ·Π½Π°ΡΠ°Π΅Ρ, ΡΡΠΎ Π΄Π°ΡΡΠΈΠΊ ΠΊΠ°ΠΌΠ΅ΡΡ ΠΏΠΎΠ»ΡΡΠ°Π΅Ρ Π²Π΅ΡΡ ΡΠ²Π΅Ρ ΠΎΡ ΡΡΠ΅Π½Ρ, ΠΈ ΠΊΠ°ΠΌΠ΅ΡΠ° ΡΠ±ΡΠ°Π»Π° Π·Π΅ΡΠΊΠ°Π»Π° Ρ Π΄ΠΎΡΠΎΠ³ΠΈ. ΠΠ΅Π· Π·Π΅ΡΠΊΠ°Π» Π²Π°ΡΠ° ΠΊΠ°ΠΌΠ΅ΡΠ° Π½Π΅ ΠΌΠΎΠΆΠ΅Ρ ΠΏΠ΅ΡΠ΅Π½Π°ΠΏΡΠ°Π²Π»ΡΡΡ ΡΠ²Π΅Ρ Π½Π° Π΄Π°ΡΡΠΈΠΊ ΡΠ°Π·ΠΎΠ²ΠΎΠΉ Π°Π²ΡΠΎΡΠΎΠΊΡΡΠΈΡΠΎΠ²ΠΊΠΈ. ΠΠΎΡΡΠΎΠΌΡ Π²ΠΌΠ΅ΡΡΠΎ ΡΡΠΎΠ³ΠΎ ΠΎΠ½ Π΄ΠΎΠ»ΠΆΠ΅Π½ ΠΈΡΠΏΠΎΠ»ΡΠ·ΠΎΠ²Π°ΡΡ Π±ΠΎΠ»Π΅Π΅ ΠΌΠ΅Π΄Π»Π΅Π½Π½ΡΡ Π°Π²ΡΠΎΡΠΎΠΊΡΡΠΈΡΠΎΠ²ΠΊΡ Ρ ΠΎΠΏΡΠ΅Π΄Π΅Π»Π΅Π½ΠΈΠ΅ΠΌ ΠΊΠΎΠ½ΡΡΠ°ΡΡΠ°. Canon 70D ΡΠ²Π»ΡΠ΅ΡΡΡ ΠΎΠ΄Π½ΠΈΠΌ ΠΈΠ· ΠΈΡΠΊΠ»ΡΡΠ΅Π½ΠΈΠΉ. ΠΠ³ΠΎ ΡΠ΅Ρ
Π½ΠΎΠ»ΠΎΠ³ΠΈΡ Π΄Π²ΡΡ
ΠΏΠΈΠΊΡΠ΅Π»ΡΠ½ΠΎΠΉ Π°Π²ΡΠΎΡΠΎΠΊΡΡΠΈΡΠΎΠ²ΠΊΠΈ ΠΎΠ±Π΅ΡΠΏΠ΅ΡΠΈΠ²Π°Π΅Ρ Π°Π²ΡΠΎΡΠΎΠΊΡΡΠΈΡΠΎΠ²ΠΊΡ Ρ ΠΎΠΏΡΠ΅Π΄Π΅Π»Π΅Π½ΠΈΠ΅ΠΌ ΡΠ°Π·Ρ Π² ΡΠ΅ΠΆΠΈΠΌΠ΅ ΡΠ΅Π°Π»ΡΠ½ΠΎΠ³ΠΎ Π²ΡΠ΅ΠΌΠ΅Π½ΠΈ, Π·Π½Π°ΡΠΈΡΠ΅Π»ΡΠ½ΠΎ ΠΏΠΎΠ²ΡΡΠ°Ρ ΡΠΊΠΎΡΠΎΡΡΡ ΡΠΎΠΊΡΡΠΈΡΠΎΠ²ΠΊΠΈ, ΠΊΠΎΠ³Π΄Π° Π·Π΅ΡΠΊΠ°Π»ΠΎ ΠΏΠΎΠ΄Π½ΡΡΠΎ, Π½Π°ΠΏΡΠΈΠΌΠ΅Ρ, ΠΏΡΠΈ Π·Π°ΠΏΠΈΡΠΈ Π²ΠΈΠ΄Π΅ΠΎ. ΠΠΎΡ Π½Π΅Π±ΠΎΠ»ΡΡΠΎΠΉ ΡΠ΅Ρ
Π½ΠΈΡΠ΅ΡΠΊΠΈΠΉ ΠΌΠΎΠΌΠ΅Π½Ρ, ΠΊΠ°ΡΠ°ΡΡΠΈΠΉΡΡ ΠΊΠ°ΠΌΠ΅Ρ Sony Alpha Ρ ΠΏΠΎΠ»ΡΠΏΡΠΎΠ·ΡΠ°ΡΠ½ΡΠΌΠΈ Π·Π΅ΡΠΊΠ°Π»Π°ΠΌΠΈ Ρ ΠΎΠ΄Π½ΠΈΠΌ ΠΎΠ±ΡΠ΅ΠΊΡΠΈΠ²ΠΎΠΌ (SLT): ΠΈΡ
Π·Π΅ΡΠΊΠ°Π»Π° Π½Π΅ ΡΠΌΠ΅ΡΠ°ΡΡΡΡ Π² ΡΡΠΎΡΠΎΠ½Ρ, ΠΊΠ°ΠΊ Ρ ΡΡΠ°Π΄ΠΈΡΠΈΠΎΠ½Π½ΡΡ
Π·Π΅ΡΠΊΠ°Π»ΡΠ½ΡΡ
ΡΠΎΡΠΎΠΊΠ°ΠΌΠ΅Ρ. Π ΡΠΎ Π²ΡΠ΅ΠΌΡ ΠΊΠ°ΠΊ Π² DSLR Π·Π΅ΡΠΊΠ°Π»ΠΎ ΠΈΡΠΏΠΎΠ»ΡΠ·ΡΠ΅ΡΡΡ Π΄Π»Ρ ΠΎΡΡΠ°ΠΆΠ΅Π½ΠΈΡ ΡΠ²Π΅ΡΠ° ΠΊΠ°ΠΊ Π½Π° ΠΎΠΏΡΠΈΡΠ΅ΡΠΊΠΈΠΉ Π²ΠΈΠ΄ΠΎΠΈΡΠΊΠ°ΡΠ΅Π»Ρ, ΡΠ°ΠΊ ΠΈ Π½Π° Π΄Π°ΡΡΠΈΠΊΠΈ ΡΠΎΠΊΡΡΠΈΡΠΎΠ²ΠΊΠΈ Ρ ΠΎΠΏΡΠ΅Π΄Π΅Π»Π΅Π½ΠΈΠ΅ΠΌ ΡΠ°Π·Ρ, Π½Π° ΠΊΠ°ΠΌΠ΅ΡΠ΅ Sony SLT Π·Π΅ΡΠΊΠ°Π»ΠΎ ΠΎΡΡΠ°ΠΆΠ°Π΅Ρ ΡΠ²Π΅Ρ ΡΠΎΠ»ΡΠΊΠΎ Π½Π° Π΄Π°ΡΡΠΈΠΊΠΈ ΡΠΎΠΊΡΡΠΈΡΠΎΠ²ΠΊΠΈ; Π±ΠΎΠ»ΡΡΠ°Ρ ΡΠ°ΡΡΡ ΡΠ²Π΅ΡΠ° ΠΏΡΠΎΡ
ΠΎΠ΄ΠΈΡ ΡΠ΅ΡΠ΅Π· Π·Π΅ΡΠΊΠ°Π»ΠΎ ΠΊ Π΄Π°ΡΡΠΈΠΊΡ.
ΠΡΠΎ ΠΏΠΎΠ·Π²ΠΎΠ»ΡΠ΅Ρ ΠΊΠ°ΠΌΠ΅ΡΠ°ΠΌ SLT Π²ΡΠ΅Π³Π΄Π° ΠΈΡΠΏΠΎΠ»ΡΠ·ΠΎΠ²Π°ΡΡ ΠΏΡΠ΅ΠΈΠΌΡΡΠ΅ΡΡΠ²Π° ΡΠ°Π·ΠΎΠ²ΠΎΠΉ Π°Π²ΡΠΎΡΠΎΠΊΡΡΠΈΡΠΎΠ²ΠΊΠΈ, Π΄Π°ΠΆΠ΅ ΠΏΡΠΈ ΡΠΎΡΠΎΡΡΠ΅ΠΌΠΊΠ΅ ΠΈΠ»ΠΈ Π·Π°ΠΏΠΈΡΠΈ Π²ΠΈΠ΄Π΅ΠΎ. Π₯ΠΎΡΡ ΡΡΠΎ ΠΎΠ³ΡΠΎΠΌΠ½ΡΠ΅ ΠΏΡΠ΅ΠΈΠΌΡΡΠ΅ΡΡΠ²Π°, Ρ Π²ΡΠ΅ ΠΆΠ΅ ΡΠ΅ΠΊΠΎΠΌΠ΅Π½Π΄ΡΡ Π±ΠΎΠ»ΡΡΠΈΠ½ΡΡΠ²Ρ Π»ΡΠ΄Π΅ΠΉ Π²ΡΠ±ΠΈΡΠ°ΡΡ ΡΡΠ°Π΄ΠΈΡΠΈΠΎΠ½Π½ΡΠ΅ Π·Π΅ΡΠΊΠ°Π»ΡΠ½ΡΠ΅ ΡΠΎΡΠΎΠΊΠ°ΠΌΠ΅ΡΡ Ρ ΠΎΠΏΡΠΈΡΠ΅ΡΠΊΠΈΠΌΠΈ Π²ΠΈΠ΄ΠΎΠΈΡΠΊΠ°ΡΠ΅Π»ΡΠΌΠΈ. ΠΡΠΎ Π±ΠΎΠ»ΡΡΠ΅ ΡΠ΅Ρ
Π½ΠΈΡΠ΅ΡΠΊΠΈΡ
ΠΏΠΎΠ΄ΡΠΎΠ±Π½ΠΎΡΡΠ΅ΠΉ, ΡΠ΅ΠΌ Π²Π°ΠΌ Π½ΡΠΆΠ½ΠΎ ΠΏΠΎΠΌΠ½ΠΈΡΡ, ΠΏΠΎΡΡΠΎΠΌΡ Π²ΠΎΡ Π½Π΅ΡΠΊΠΎΠ»ΡΠΊΠΎ ΠΊΠ»ΡΡΠ΅Π²ΡΡ
ΠΌΠΎΠΌΠ΅Π½ΡΠΎΠ²:
- ΠΠ±Π½Π°ΡΡΠΆΠ΅Π½ΠΈΠ΅ ΡΠ°Π·Ρ ΠΎΠ±ΡΡΠ½ΠΎ Π½Π°ΠΌΠ½ΠΎΠ³ΠΎ Π»ΡΡΡΠ΅, ΡΠ΅ΠΌ ΠΎΠΏΡΠ΅Π΄Π΅Π»Π΅Π½ΠΈΠ΅ ΠΊΠΎΠ½ΡΡΠ°ΡΡΠ°, ΠΎΡΠΎΠ±Π΅Π½Π½ΠΎ Π΄Π»Ρ Π΄Π²ΠΈΠΆΡΡΠΈΡ ΡΡ ΠΎΠ±ΡΠ΅ΠΊΡΠΎΠ². Π¦ΠΈΡΡΠΎΠ²ΡΠ΅ Π·Π΅ΡΠΊΠ°Π»ΡΠ½ΡΠ΅ ΡΠΎΡΠΎΠΊΠ°ΠΌΠ΅ΡΡ
- ΠΏΠΎΠ΄Π΄Π΅ΡΠΆΠΈΠ²Π°ΡΡ Π°Π²ΡΠΎΡΠΎΠΊΡΡΠΈΡΠΎΠ²ΠΊΡ Ρ ΠΎΠΏΡΠ΅Π΄Π΅Π»Π΅Π½ΠΈΠ΅ΠΌ ΡΠ°Π·Ρ, ΠΊΠΎΠ³Π΄Π° Π²Ρ ΡΠΌΠΎΡΡΠΈΡΠ΅ Π² ΠΎΠΏΡΠΈΡΠ΅ΡΠΊΠΈΠΉ Π²ΠΈΠ΄ΠΎΠΈΡΠΊΠ°ΡΠ΅Π»Ρ.
- ΠΡΠ΅ ΡΠΈΡΡΠΎΠ²ΡΠ΅ ΠΊΠ°ΠΌΠ΅ΡΡ ΠΏΠΎΠ΄Π΄Π΅ΡΠΆΠΈΠ²Π°ΡΡ ΠΎΠ±Π½Π°ΡΡΠΆΠ΅Π½ΠΈΠ΅ ΠΊΠΎΠ½ΡΡΠ°ΡΡΠ°. Π¦ΠΈΡΡΠΎΠ²ΡΠ΅ Π·Π΅ΡΠΊΠ°Π»ΡΠ½ΡΠ΅ ΠΊΠ°ΠΌΠ΅ΡΡ ΠΈΡΠΏΠΎΠ»ΡΠ·ΡΡΡ ΠΎΠ±Π½Π°ΡΡΠΆΠ΅Π½ΠΈΠ΅ ΠΊΠΎΠ½ΡΡΠ°ΡΡΠ°, ΠΊΠΎΠ³Π΄Π° Π²Ρ ΠΏΡΠΎΡΠΌΠ°ΡΡΠΈΠ²Π°Π΅ΡΠ΅ ΠΈΠ·ΠΎΠ±ΡΠ°ΠΆΠ΅Π½ΠΈΠ΅ Π² ΡΠ΅ΠΆΠΈΠΌΠ΅ ΡΠ΅Π°Π»ΡΠ½ΠΎΠ³ΠΎ Π²ΡΠ΅ΠΌΠ΅Π½ΠΈ.
- ΠΠ²ΡΠΎΡΠΎΠΊΡΡΠΈΡΠΎΠ²ΠΊΠ° Ρ ΠΎΠΏΡΠ΅Π΄Π΅Π»Π΅Π½ΠΈΠ΅ΠΌ ΡΠ°Π·Ρ ΠΎΠ³ΡΠ°Π½ΠΈΡΠ΅Π½Π° ΠΎΠΏΡΠ΅Π΄Π΅Π»Π΅Π½Π½ΡΠΌΠΈ ΡΠΎΡΠΊΠ°ΠΌΠΈ ΡΠΎΠΊΡΡΠΈΡΠΎΠ²ΠΊΠΈ, Π° ΠΎΠΏΡΠ΅Π΄Π΅Π»Π΅Π½ΠΈΠ΅ ΠΊΠΎΠ½ΡΡΠ°ΡΡΠ° ΠΏΠΎΠ·Π²ΠΎΠ»ΡΠ΅Ρ ΡΡΠΎΠΊΡΡΠΈΡΠΎΠ²Π°ΡΡΡΡ Π² Π»ΡΠ±ΠΎΠΌ ΠΌΠ΅ΡΡΠ΅ ΠΊΠ°Π΄ΡΠ°.
- ΠΠ΅Π·Π·Π΅ΡΠΊΠ°Π»ΡΠ½ΡΠ΅ ΠΊΠ°ΠΌΠ΅ΡΡ, ΡΠ΅ΠΊΠ»Π°ΠΌΠΈΡΡΡΡΠΈΠ΅ ΡΠ°Π·ΠΎΠ²ΡΡ Π°Π²ΡΠΎΡΠΎΠΊΡΡΠΈΡΠΎΠ²ΠΊΡ, ΠΏΠΎΠ΄Π΄Π΅ΡΠΆΠΈΠ²Π°ΡΡ Π΅Π΅ ΡΠΎΠ»ΡΠΊΠΎ ΠΏΡΠΈ ΠΈΡΠΏΠΎΠ»ΡΠ·ΠΎΠ²Π°Π½ΠΈΠΈ ΠΎΠ±ΡΠ΅ΠΊΡΠΈΠ²ΠΎΠ², ΠΏΡΠ΅Π΄Π½Π°Π·Π½Π°ΡΠ΅Π½Π½ΡΡ
Π΄Π»Ρ ΡΠ°Π·ΠΎΠ²ΠΎΠΉ Π°Π²ΡΠΎΡΠΎΠΊΡΡΠΈΡΠΎΠ²ΠΊΠΈ.
Π Π½Π°ΡΡΠΎΡΡΠ΅Π΅ Π²ΡΠ΅ΠΌΡ ΠΎΡΠ΅Π½Ρ Π½Π΅ΠΌΠ½ΠΎΠ³ΠΈΠ΅ ΠΎΠ±ΡΠ΅ΠΊΡΠΈΠ²Ρ ΠΏΠΎΠ΄Π΄Π΅ΡΠΆΠΈΠ²Π°ΡΡ ΠΎΠΏΡΠ΅Π΄Π΅Π»Π΅Π½ΠΈΠ΅ ΡΠ°Π·Ρ. ΠΠ°ΠΏΡΠΈΠΌΠ΅Ρ, Olympus E-M1 ΠΏΠΎΠ΄Π΄Π΅ΡΠΆΠΈΠ²Π°Π΅Ρ ΡΠ°Π·ΠΎΠ²ΡΠΉ Π°Π²ΡΠΎΡΠΎΠΊΡΡ, Π½ΠΎ Π½ΠΈ ΠΎΠ΄ΠΈΠ½ ΡΠΎΠ΄Π½ΠΎΠΉ ΠΎΠ±ΡΠ΅ΠΊΡΠΈΠ² Π½Π° ΡΡΠΎ Π½Π΅ ΡΠ°ΡΡΡΠΈΡΠ°Π½. Sony a5100, Sony a6000 ΠΈ Fujifilm X-T1 ΠΏΠΎΠ΄Π΄Π΅ΡΠΆΠΈΠ²Π°ΡΡ ΡΠ°Π·ΠΎΠ²ΡΡ Π°Π²ΡΠΎΡΠΎΠΊΡΡΠΈΡΠΎΠ²ΠΊΡ, Π½ΠΎ ΡΠΎΠ»ΡΠΊΠΎ Π½Π΅Π±ΠΎΠ»ΡΡΠΎΠ΅ ΠΊΠΎΠ»ΠΈΡΠ΅ΡΡΠ²ΠΎ ΠΎΠ±ΡΠ΅ΠΊΡΠΈΠ²ΠΎΠ² ΡΠΎΠ²ΠΌΠ΅ΡΡΠΈΠΌΠΎ Ρ ΡΠΈΡΡΠ΅ΠΌΠΎΠΉ.
ΠΠ°ΠΊ ΡΠ°Π±ΠΎΡΠ°Π΅Ρ ΡΠ°Π·ΠΎΠ²Π°Ρ ΡΠΎΠΊΡΡΠΈΡΠΎΠ²ΠΊΠ°
Π Π±ΠΎΠ»ΡΡΠΈΠ½ΡΡΠ²Π΅ ΡΠΎΠ²ΡΠ΅ΠΌΠ΅Π½Π½ΡΡ
ΠΎΠ±ΡΠ΅ΠΊΡΠΈΠ²ΠΎΠ² ΠΌΠΎΡΠΎΡ ΡΠΎΠΊΡΡΠΈΡΠΎΠ²ΠΊΠΈ (ΠΊΠΎΡΠΎΡΡΠΉ ΡΠΈΠ·ΠΈΡΠ΅ΡΠΊΠΈ ΠΏΠΎΠ²ΠΎΡΠ°ΡΠΈΠ²Π°Π΅Ρ ΡΠ»Π΅ΠΌΠ΅Π½ΡΡ ΠΎΠ±ΡΠ΅ΠΊΡΠΈΠ²Π° Π΄Π»Ρ ΠΈΠ·ΠΌΠ΅Π½Π΅Π½ΠΈΡ ΡΠΎΠΊΡΡΠ°) Π²ΡΡΡΠΎΠ΅Π½ Π² ΠΎΠ±ΡΠ΅ΠΊΡΠΈΠ². ΠΡΠ±Π°Ρ Π΄ΡΡΠ³Π°Ρ ΡΠ°ΡΡΡ ΡΠΎΠΊΡΡΠΈΡΠΎΠ²ΠΊΠΈ ΠΊΠΎΠ½ΡΡΠΎΠ»ΠΈΡΡΠ΅ΡΡΡ ΠΊΠΎΡΠΏΡΡΠΎΠΌ ΠΊΠ°ΠΌΠ΅ΡΡ. ΠΡΠ΅ Π·Π΅ΡΠΊΠ°Π»ΡΠ½ΡΠ΅ ΡΠΎΡΠΎΠΊΠ°ΠΌΠ΅ΡΡ ΠΈ Π½Π΅ΠΊΠΎΡΠΎΡΡΠ΅ Π±Π΅Π·Π·Π΅ΡΠΊΠ°Π»ΡΠ½ΡΠ΅ ΠΊΠ°ΠΌΠ΅ΡΡ Π²ΡΡΠΎΠΊΠΎΠ³ΠΎ ΠΊΠ»Π°ΡΡΠ° ΠΈΡΠΏΠΎΠ»ΡΠ·ΡΡΡ ΡΠ°Π·ΠΎΠ²ΡΡ ΡΠΎΠΊΡΡΠΈΡΠΎΠ²ΠΊΡ. ΠΠΎΠ³Π΄Π° Π²Ρ ΡΠΎΠΊΡΡΠΈΡΡΠ΅ΡΠ΅ ΠΊΠ°ΠΌΠ΅ΡΡ, ΠΎΠ½Π° ΡΠΌΠΎΡΡΠΈΡ Π½Π° ΠΈΠ·ΠΎΠ±ΡΠ°ΠΆΠ΅Π½ΠΈΠ΅, ΠΏΡΠΎΡ
ΠΎΠ΄ΡΡΠ΅Π΅ ΡΠ΅ΡΠ΅Π· ΠΎΠ±ΡΠ΅ΠΊΡΠΈΠ², Π° Π·Π°ΡΠ΅ΠΌ ΠΏΡΡΠ°Π΅ΡΡΡ ΡΡΠΎΠΊΡΡΠΈΡΠΎΠ²Π°ΡΡΡΡ Π½Π΅ΠΌΠ½ΠΎΠ³ΠΎ Π±Π»ΠΈΠΆΠ΅ ΠΈΠ»ΠΈ Π΄Π°Π»ΡΡΠ΅. Π’ΠΎΡΠ½ΠΎ ΡΠ°ΠΊ ΠΆΠ΅, ΠΊΠ°ΠΊ Ρ Π²Π°Ρ Π΅ΡΡΡ Π΄Π²Π° Π³Π»Π°Π·Π° Π² Π³ΠΎΠ»ΠΎΠ²Π΅, ΠΊΠ°ΠΆΠ΄Π°Ρ ΡΠΎΡΠΊΠ° ΡΠΎΠΊΡΡΠΈΡΠΎΠ²ΠΊΠΈ Π² Π²Π°ΡΠ΅ΠΉ ΠΊΠ°ΠΌΠ΅ΡΠ΅ β ΡΡΠΎ Π΄Π²Π° ΠΎΡΠ΄Π΅Π»ΡΠ½ΡΡ
ΡΠ΅Π½ΡΠΎΡΠ°. ΠΠΎΠ³Π΄Π° ΡΠΎΠΊΡΡ ΠΏΡΠ°Π²ΠΈΠ»ΡΠ½ΡΠΉ, ΠΈΠ·ΠΎΠ±ΡΠ°ΠΆΠ΅Π½ΠΈΠ΅ Ρ ΡΡΠΈΡ
Π΄Π²ΡΡ
Π΄Π°ΡΡΠΈΠΊΠΎΠ² Π²ΡΡΠ°Π²Π½ΠΈΠ²Π°Π΅ΡΡΡ.
Π ΡΡΠΎΡ ΠΌΠΎΠΌΠ΅Π½Ρ ΠΊΠ°ΠΌΠ΅ΡΠ° ΠΏΠ΅ΡΠ΅ΡΡΠ°Π΅Ρ ΡΠΎΠΊΡΡΠΈΡΠΎΠ²Π°ΡΡΡΡ. ΠΠΎΠ½Π΅ΡΠ½ΠΎ, ΡΡΠΎ ΡΠΏΡΠΎΡΠ΅Π½Π½ΠΎΠ΅ ΠΎΠ±ΡΡΡΠ½Π΅Π½ΠΈΠ΅ Π΄Π΅ΠΉΡΡΠ²ΠΈΡΠ΅Π»ΡΠ½ΠΎ ΡΠ»ΠΎΠΆΠ½ΠΎΠ³ΠΎ ΠΏΡΠΎΡΠ΅ΡΡΠ°. Π‘ΠΊΠΎΡΠΎΡΡΡ ΠΈ ΡΠΎΡΠ½ΠΎΡΡΡ ΡΠΎΠΊΡΡΠΈΡΠΎΠ²ΠΊΠΈ ΡΡΠ΅Π·Π²ΡΡΠ°ΠΉΠ½ΠΎ Π²Π°ΠΆΠ½Ρ Π΄Π»Ρ ΡΠΎΡΠΎΠ³ΡΠ°ΡΠΎΠ²-ΠΏΠΎΡΡΡΠ΅ΡΠΈΡΡΠΎΠ², Π΄ΠΈΠΊΠΎΠΉ ΠΏΡΠΈΡΠΎΠ΄Ρ ΠΈ ΡΠΏΠΎΡΡΠΈΠ²Π½ΡΡ
ΡΠΎΡΠΎΠ³ΡΠ°ΡΠΎΠ², ΠΏΠΎΡΡΠΎΠΌΡ ΠΏΡΠΎΠΈΠ·Π²ΠΎΠ΄ΠΈΡΠ΅Π»ΠΈ ΠΊΠ°ΠΌΠ΅Ρ Π΄Π΅Π»Π°ΡΡ Π²ΡΠ΅ Π²ΠΎΠ·ΠΌΠΎΠΆΠ½ΠΎΠ΅, ΡΡΠΎΠ±Ρ ΠΌΠ°ΠΊΡΠΈΠΌΠ°Π»ΡΠ½ΠΎ ΡΡΠΊΠΎΡΠΈΡΡ ΠΏΡΠΎΡΠ΅ΡΡ. ΠΡΠ»ΠΈ Π²Ρ Π½Π΅ ΡΡΠ°Π½Π΅ΡΠ΅ ΡΠ΅ΡΡΠ΅Π·Π½ΡΠΌ ΡΠΎΡΠΎΠ³ΡΠ°ΡΠΎΠΌ ΡΠΏΠΎΡΡΠ° ΠΈΠ»ΠΈ Π΄ΠΈΠΊΠΎΠΉ ΠΏΡΠΈΡΠΎΠ΄Ρ, Π²Π°ΠΌ Π΄Π΅ΠΉΡΡΠ²ΠΈΡΠ΅Π»ΡΠ½ΠΎ Π½Π΅ Π½ΡΠΆΠ½ΠΎ ΡΠ°Π·Π±ΠΈΡΠ°ΡΡΡΡ Π²ΠΎ Π²ΡΠ΅Ρ
ΡΠΎΠ½ΠΊΠΎΡΡΡΡ
Π°Π²ΡΠΎΡΠΎΠΊΡΡΠΈΡΠΎΠ²ΠΊΠΈ ΡΠ°Π·Π»ΠΈΡΠ½ΡΡ
ΠΊΠΎΡΠΏΡΡΠΎΠ² ΠΊΠ°ΠΌΠ΅Ρ. Π’Π΅ΠΌ Π½Π΅ ΠΌΠ΅Π½Π΅Π΅, ΠΏΡΠΎΠ΄ΠΎΠ»ΠΆΠ°ΠΉΡΠ΅ ΡΠΈΡΠ°ΡΡ, Π΅ΡΠ»ΠΈ Π²Π°ΠΌ ΠΈΠ½ΡΠ΅ΡΠ΅ΡΠ½ΠΎ ΠΈΠ»ΠΈ Π²Ρ ΠΏΡΠΎΡΡΠΎ Ρ
ΠΎΡΠΈΡΠ΅ ΠΏΠΎΠ½ΡΡΡ ΠΆΠ°ΡΠ³ΠΎΠ½. ΠΠ°ΠΆΠ΄ΡΠΉ ΠΊΠΎΡΠΏΡΡ ΠΊΠ°ΠΌΠ΅ΡΡ ΠΈΠΌΠ΅Π΅Ρ Π½Π΅ΡΠΊΠΎΠ»ΡΠΊΠΎ ΡΠΎΡΠ΅ΠΊ ΡΠΎΠΊΡΡΠΈΡΠΎΠ²ΠΊΠΈ. ΠΡΠ΅Π³Π΄Π° Π΅ΡΡΡ ΠΎΠ΄Π½Π° ΡΠΎΡΠΊΠ° ΡΠΎΠΊΡΡΠΈΡΠΎΠ²ΠΊΠΈ Π² ΡΠ΅Π½ΡΡΠ΅ ΠΈΠ·ΠΎΠ±ΡΠ°ΠΆΠ΅Π½ΠΈΡ ΠΈ Π½Π΅ΡΠΊΠΎΠ»ΡΠΊΠΎ Π΄ΡΡΠ³ΠΈΡ
, ΡΠ°Π·Π±ΡΠΎΡΠ°Π½Π½ΡΡ
ΠΏΠΎ Π²ΡΠ΅ΠΌΡ ΠΊΠ°Π΄ΡΡ. ΠΡΠΏΠΎΠ»ΡΠ·ΡΡ ΡΠ΅Ρ
Π½ΠΈΠΊΡ Β«ΡΡΠΎΠΊΡΡΠΈΡΠΎΠ²Π°ΡΡ ΠΈ ΠΏΠ΅ΡΠ΅ΠΊΠΎΠΌΠΏΠΎΠ½ΠΎΠ²Π°ΡΡΒ» (ΠΎΠΏΠΈΡΠ°Π½Π½ΡΡ Π² Π³Π»Π°Π²Π΅ 4 ΠΈΠ· ΠΠΎΡΡΡΡΠ°ΡΡΠ°Ρ ΡΠΈΡΡΠΎΠ²Π°Ρ ΡΠΎΡΠΎΠ³ΡΠ°ΡΠΈΡ ), Π²Π°ΠΌ Π΄Π΅ΠΉΡΡΠ²ΠΈΡΠ΅Π»ΡΠ½ΠΎ Π½ΡΠΆΠ½Π° ΡΠΎΠ»ΡΠΊΠΎ ΡΠ΅Π½ΡΡΠ°Π»ΡΠ½Π°Ρ ΡΠΎΡΠΊΠ° ΡΠΎΠΊΡΡΠΈΡΠΎΠ²ΠΊΠΈ. ΠΠ΄Π½Π°ΠΊΠΎ Π΄ΡΡΠ³ΠΈΠ΅ ΡΠΎΡΠΊΠΈ ΡΠΎΠΊΡΡΠΈΡΠΎΠ²ΠΊΠΈ ΠΏΠΎΠ»Π΅Π·Π½Ρ Π΄Π»Ρ Π΄ΠΈΠ½Π°ΠΌΠΈΡΠ½ΡΡ
ΡΠ½ΠΈΠΌΠΊΠΎΠ², ΠΊΠΎΠ³Π΄Π° Ρ Π²Π°Ρ Π½Π΅Ρ Π²ΡΠ΅ΠΌΠ΅Π½ΠΈ Π½Π° ΡΠΎΠΊΡΡΠΈΡΠΎΠ²ΠΊΡ ΠΈ ΠΏΠ΅ΡΠ΅ΠΊΠΎΠΌΠΏΠΎΠ½ΠΎΠ²ΠΊΡ.
ΠΠ΅ Π²ΡΠ΅ ΡΠΎΡΠΊΠΈ ΡΠΎΠΊΡΡΠΈΡΠΎΠ²ΠΊΠΈ Π½Π° ΠΊΠ°ΠΌΠ΅ΡΠ΅ ΠΎΠ΄ΠΈΠ½Π°ΠΊΠΎΠ²Ρ. ΠΠ°ΠΊ ΠΏΡΠ°Π²ΠΈΠ»ΠΎ, ΡΠ΅Π½ΡΡΠ°Π»ΡΠ½Π°Ρ ΡΠΎΡΠΊΠ° ΡΠΎΠΊΡΡΠΈΡΠΎΠ²ΠΊΠΈ ΡΠ²Π»ΡΠ΅ΡΡΡ ΡΠ°ΠΌΠΎΠΉ Π±ΡΡΡΡΠΎΠΉ, ΠΈ ΡΠ΅ΠΌ Π΄Π°Π»ΡΡΠ΅ Π²Ρ ΠΎΡ ΡΠ΅Π½ΡΡΠ°, ΡΠ΅ΠΌ ΠΌΠ΅Π½Π΅Π΅ ΠΌΠΎΡΠ½ΡΠΌΠΈ ΡΠ²Π»ΡΡΡΡΡ ΡΠΎΡΠΊΠΈ ΡΠΎΠΊΡΡΠΈΡΠΎΠ²ΠΊΠΈ. ΠΠ±ΡΠΈΠ΅ ΡΠΈΠΏΡ ΡΠΎΡΠ΅ΠΊ ΡΠΎΠΊΡΡΠΈΡΠΎΠ²ΠΊΠΈ Π²ΠΊΠ»ΡΡΠ°ΡΡ:
- ΠΠ΅ΡΡΠΈΠΊΠ°Π»ΡΠ½Π°Ρ . ΠΠ΅ΡΡΠΈΠΊΠ°Π»ΡΠ½ΡΠ΅ ΡΠΎΡΠΊΠΈ ΡΠΎΠΊΡΡΠΈΡΠΎΠ²ΠΊΠΈ ΠΎΠ±Π½Π°ΡΡΠΆΠΈΠ²Π°ΡΡ ΠΊΠΎΠ½ΡΡΠ°ΡΡ, ΠΏΡΠΎΡΠΌΠ°ΡΡΠΈΠ²Π°Ρ ΠΈΠ·ΠΎΠ±ΡΠ°ΠΆΠ΅Π½ΠΈΠ΅ Π²Π²Π΅ΡΡ ΠΈ Π²Π½ΠΈΠ·. Π’Π°ΠΊΠΈΠΌ ΠΎΠ±ΡΠ°Π·ΠΎΠΌ, Π²Π΅ΡΡΠΈΠΊΠ°Π»ΡΠ½Π°Ρ ΡΠΎΡΠΊΠ° ΡΠΎΠΊΡΡΠΈΡΠΎΠ²ΠΊΠΈ ΡΠΌΠΎΠΆΠ΅Ρ ΠΎΡΠ΅Π½Ρ Π±ΡΡΡΡΠΎ ΡΡΠΎΠΊΡΡΠΈΡΠΎΠ²Π°ΡΡΡΡ Π½Π° ΡΡΠ±Π°ΡΠΊΠ΅ Ρ Π³ΠΎΡΠΈΠ·ΠΎΠ½ΡΠ°Π»ΡΠ½ΡΠΌΠΈ ΠΏΠΎΠ»ΠΎΡΠ°ΠΌΠΈ, Π½ΠΎ ΠΌΠΎΠΆΠ΅Ρ Π²ΠΎΠΎΠ±ΡΠ΅ Π½Π΅ ΡΡΠΎΠΊΡΡΠΈΡΠΎΠ²Π°ΡΡΡΡ Π½Π° Π²Π΅ΡΡΠΈΠΊΠ°Π»ΡΠ½ΡΡ ΠΏΠΎΠ»ΠΎΡΠ°Ρ .
- ΠΠΎΡΠΈΠ·ΠΎΠ½ΡΠ°Π»ΡΠ½ΡΠΉ . ΠΠΎΡΠΈΠ·ΠΎΠ½ΡΠ°Π»ΡΠ½ΡΠ΅ ΡΠΎΡΠΊΠΈ ΡΠΎΠΊΡΡΠΈΡΠΎΠ²ΠΊΠΈ ΠΎΠ±Π½Π°ΡΡΠΆΠΈΠ²Π°ΡΡ ΠΊΠΎΠ½ΡΡΠ°ΡΡ, ΠΏΡΠΎΡΠΌΠ°ΡΡΠΈΠ²Π°Ρ ΠΈΠ·ΠΎΠ±ΡΠ°ΠΆΠ΅Π½ΠΈΠ΅ Π²Π»Π΅Π²ΠΎ ΠΈ Π²ΠΏΡΠ°Π²ΠΎ. ΠΠ½ΠΈ Ρ ΠΎΡΠΎΡΠΎ ΠΎΠ±Π½Π°ΡΡΠΆΠΈΠ²Π°ΡΡ Π²Π΅ΡΡΠΈΠΊΠ°Π»ΡΠ½ΡΠ΅ ΠΏΠΎΠ»ΠΎΡΡ (ΠΈΠ»ΠΈ Π»ΡΠ±ΠΎΠΉ ΡΠΈΠΏ Π²Π΅ΡΡΠΈΠΊΠ°Π»ΡΠ½ΠΎΠ³ΠΎ ΠΊΠΎΠ½ΡΡΠ°ΡΡΠ°), Π½ΠΎ ΠΏΠ»ΠΎΡ ΠΎ ΡΠΎΠΊΡΡΠΈΡΡΡΡΡΡ Π½Π° Π³ΠΎΡΠΈΠ·ΠΎΠ½ΡΠ°Π»ΡΠ½ΡΡ ΠΎΠ±ΡΠ΅ΠΊΡΠ°Ρ .
- ΠΡΠ΅ΡΡΠΎΠ²ΠΈΠ½Π° . ΠΠ½ΠΈ ΠΈΡΠΏΠΎΠ»ΡΠ·ΡΡΡ ΠΎΠ±Π½Π°ΡΡΠΆΠ΅Π½ΠΈΠ΅ ΠΊΠ°ΠΊ Π²Π΅ΡΡΠΈΠΊΠ°Π»ΡΠ½ΠΎΠ³ΠΎ, ΡΠ°ΠΊ ΠΈ Π³ΠΎΡΠΈΠ·ΠΎΠ½ΡΠ°Π»ΡΠ½ΠΎΠ³ΠΎ ΠΊΠΎΠ½ΡΡΠ°ΡΡΠ°. ΠΠ½ΠΈ ΠΌΠΎΠ³ΡΡ ΡΡΠΎΠΊΡΡΠΈΡΠΎΠ²Π°ΡΡΡΡ ΠΏΡΠ°ΠΊΡΠΈΡΠ΅ΡΠΊΠΈ Π½Π° ΡΠ΅ΠΌ ΡΠ³ΠΎΠ΄Π½ΠΎ, Π΅ΡΠ»ΠΈ ΠΎΠ±ΡΠ΅ΠΊΡ Ρ
ΠΎΡΠΎΡΠΎ ΠΎΡΠ²Π΅ΡΠ΅Π½ ΠΈ Π½Π΅ ΠΈΠΌΠ΅Π΅Ρ ΡΠΏΠ»ΠΎΡΠ½ΠΎΠ³ΠΎ ΡΠ²Π΅ΡΠ°.

ΠΠ±ΡΡΠ½ΠΎ ΡΠ΅Π½ΡΡΠ°Π»ΡΠ½Π°Ρ ΡΠΎΡΠΊΠ° ΡΠΎΠΊΡΡΠΈΡΠΎΠ²ΠΊΠΈ Π±ΡΠ²Π°Π΅Ρ ΠΊΡΠ΅ΡΡΠΎΠΎΠ±ΡΠ°Π·Π½ΠΎΠΉ, Π° ΡΠΎΡΠΊΠΈ ΡΠΎΠΊΡΡΠΈΡΠΎΠ²ΠΊΠΈ ΠΏΠΎ ΠΊΡΠ°ΡΠΌ ΠΊΠ°Π΄ΡΠ° β Π³ΠΎΡΠΈΠ·ΠΎΠ½ΡΠ°Π»ΡΠ½ΡΠΌΠΈ ΠΈΠ»ΠΈ Π²Π΅ΡΡΠΈΠΊΠ°Π»ΡΠ½ΡΠΌΠΈ. ΠΠ΄Π½Π°ΠΊΠΎ Π² Π½Π΅ΠΊΠΎΡΠΎΡΡΡ
ΠΊΠ°ΠΌΠ΅ΡΠ°Ρ
, ΡΠ°ΠΊΠΈΡ
ΠΊΠ°ΠΊ Canon 7D ΠΈ 70D, ΠΈΡΠΏΠΎΠ»ΡΠ·ΡΡΡΡΡ ΡΠΎΠ»ΡΠΊΠΎ ΡΠ΅Π½ΡΠΎΡΡ ΠΊΡΠ΅ΡΡΠΎΠ²ΠΎΠ³ΠΎ ΡΠΈΠΏΠ°. ΠΠ½ΠΎΠ³Π΄Π° Π²ΠΎΠ·ΠΌΠΎΠΆΠ½ΠΎΡΡΠΈ ΡΠΎΡΠΊΠΈ ΡΠΎΠΊΡΡΠΈΡΠΎΠ²ΠΊΠΈ Π·Π°Π²ΠΈΡΡΡ ΠΎΡ ΠΌΠΈΠ½ΠΈΠΌΠ°Π»ΡΠ½ΠΎΠΉ Π΄ΠΈΠ°ΡΡΠ°Π³ΠΌΡ ΠΎΠ±ΡΠ΅ΠΊΡΠΈΠ²Π°, ΠΊΠΎΡΠΎΡΡΠΉ Π²Ρ ΠΈΡΠΏΠΎΠ»ΡΠ·ΡΠ΅ΡΠ΅. ΠΠ°ΠΏΡΠΈΠΌΠ΅Ρ, ΡΠ΅Π½ΡΡΠ°Π»ΡΠ½Π°Ρ ΡΠΎΡΠΊΠ° ΡΠΎΠΊΡΡΠΈΡΠΎΠ²ΠΊΠΈ ΠΌΠΎΠΆΠ΅Ρ Π±ΡΡΡ ΠΏΠ΅ΡΠ΅ΠΊΡΠ΅ΡΡΠ½ΠΎΠΉ Π΄Π»Ρ Π»ΠΈΠ½Π· Ρ Π΄ΠΈΠ°ΡΡΠ°Π³ΠΌΠΎΠΉ f/2,8 ΠΈ ΡΠΎΠ»ΡΠΊΠΎ Π³ΠΎΡΠΈΠ·ΠΎΠ½ΡΠ°Π»ΡΠ½ΠΎΠΉ Π΄Π»Ρ Π»ΠΈΠ½Π· Ρ Π΄ΠΈΠ°ΡΡΠ°Π³ΠΌΠΎΠΉ f/4 ΠΈΠ»ΠΈ Π²ΡΡΠ΅. ΠΡΠΈ Π·Π½Π°Π½ΠΈΡ Π½Π΅ ΠΈΠΌΠ΅ΡΡ ΠΏΡΠ°ΠΊΡΠΈΡΠ΅ΡΠΊΠΎΠ³ΠΎ ΠΏΡΠΈΠΌΠ΅Π½Π΅Π½ΠΈΡ; Π²ΡΡΠ΄ Π»ΠΈ ΡΡΠΎ Π±ΡΠ΄Π΅Ρ Π΄ΠΎΡΡΠ°ΡΠΎΡΠ½ΠΎ Π²Π°ΠΆΠ½ΡΠΌ ΡΠ°ΠΊΡΠΎΡΠΎΠΌ, ΡΡΠΎΠ±Ρ ΠΎΠΏΡΠ°Π²Π΄Π°ΡΡ Π·Π°ΡΡΠ°ΡΡ ΡΠΎΡΠ΅Π½ ΠΈΠ»ΠΈ ΡΡΡΡΡ Π½Π° Π΄ΡΡΠ³ΠΎΠΉ ΠΊΠΎΡΠΏΡΡ ΠΈΠ»ΠΈ Π±ΠΎΠ»Π΅Π΅ Π±ΡΡΡΡΡΠΉ ΠΎΠ±ΡΠ΅ΠΊΡΠΈΠ². ΠΠ° ΠΏΡΠ°ΠΊΡΠΈΠΊΠ΅ Π²Ρ Π±ΡΠ΄Π΅ΡΠ΅ ΠΈΡΠΏΠΎΠ»ΡΠ·ΠΎΠ²Π°ΡΡ ΠΊΠ°ΠΌΠ΅ΡΡ ΠΈ ΠΎΠ±ΡΠ΅ΠΊΡΠΈΠ²Ρ, ΠΊΠΎΡΠΎΡΡΠ΅ Ρ Π²Π°Ρ Π΅ΡΡΡ, ΠΈ Π΄Π΅Π»Π°ΡΡ Π²ΡΠ΅ Π²ΠΎΠ·ΠΌΠΎΠΆΠ½ΠΎΠ΅ Ρ ΡΠΎΠΊΡΡΠΈΡΠΎΠ²ΠΊΠΎΠΉ, ΠΊΠΎΡΠΎΡΡΡ ΠΎΠ½ΠΈ ΠΎΠ±Π΅ΡΠΏΠ΅ΡΠΈΠ²Π°ΡΡ. ΠΠΎΠ»ΡΡΠΈΠ½ΡΡΠ²ΠΎ ΠΊΠΎΡΠΏΡΡΠΎΠ² ΠΊΠ°ΠΌΠ΅Ρ ΠΏΠΎΠ΄Π΄Π΅ΡΠΆΠΈΠ²Π°ΡΡ Π°Π²ΡΠΎΡΠΎΠΊΡΡΠΈΡΠΎΠ²ΠΊΡ, ΠΊΠΎΠ³Π΄Π° ΠΌΠΈΠ½ΠΈΠΌΠ°Π»ΡΠ½ΠΎΠ΅ Π·Π½Π°ΡΠ΅Π½ΠΈΠ΅ Π΄ΠΈΠ°ΡΡΠ°Π³ΠΌΡ ΠΎΠ±ΡΠ΅ΠΊΡΠΈΠ²Π° ΡΠΎΡΡΠ°Π²Π»ΡΠ΅Ρ f/5,6 ΠΈΠ»ΠΈ Π½ΠΈΠΆΠ΅. ΠΠ΄Π½Π°ΠΊΠΎ Π½Π΅ΠΊΠΎΡΠΎΡΡΠ΅ ΠΊΠ°ΠΌΠ΅ΡΡ Canon (Π² ΡΠ°ΡΡΠ½ΠΎΡΡΠΈ, Nikon D4S, Nikon D810, Canon 1DX ΠΈ Canon 5D Mark III) ΠΏΠΎΠ΄Π΄Π΅ΡΠΆΠΈΠ²Π°ΡΡ ΡΠΎΠΊΡΡΠΈΡΠΎΠ²ΠΊΡ Ρ ΠΎΠ±ΡΠ΅ΠΊΡΠΈΠ²Π°ΠΌΠΈ f/8 Π² Π½Π΅ΠΊΠΎΡΠΎΡΡΡ
ΡΠΎΡΠΊΠ°Ρ
ΡΠΎΠΊΡΡΠΈΡΠΎΠ²ΠΊΠΈ.
ΠΡΠ° Π²ΠΎΠ·ΠΌΠΎΠΆΠ½ΠΎΡΡΡ Π²Π°ΠΆΠ½Π° Π΄Π»Ρ ΡΠΎΡΠΎΠ³ΡΠ°ΡΠΎΠ² Π΄ΠΈΠΊΠΎΠΉ ΠΏΡΠΈΡΠΎΠ΄Ρ, ΠΊΠΎΡΠΎΡΡΠ΅ ΡΠ°ΡΡΠΎ ΠΈΡΠΏΠΎΠ»ΡΠ·ΡΡΡ ΡΠ΅Π»Π΅ΠΊΠΎΠ½Π²Π΅ΡΡΠ΅ΡΡ Π΄Π»Ρ ΡΠ²Π΅Π»ΠΈΡΠ΅Π½ΠΈΡ ΡΠ°Π΄ΠΈΡΡΠ° Π΄Π΅ΠΉΡΡΠ²ΠΈΡ ΡΠ²ΠΎΠΈΡ
ΡΠ΅Π»Π΅ΠΎΠ±ΡΠ΅ΠΊΡΠΈΠ²ΠΎΠ², ΠΏΠΎΡΠΊΠΎΠ»ΡΠΊΡ ΡΠ΅Π»Π΅ΠΊΠΎΠ½Π²Π΅ΡΡΠ΅ΡΡ ΡΠ°ΠΊΠΆΠ΅ ΡΠ²Π΅Π»ΠΈΡΠΈΠ²Π°ΡΡ ΠΌΠΈΠ½ΠΈΠΌΠ°Π»ΡΠ½ΠΎΠ΅ Π·Π½Π°ΡΠ΅Π½ΠΈΠ΅ Π΄ΠΈΠ°ΡΡΠ°Π³ΠΌΡ ΠΎΠ±ΡΠ΅ΠΊΡΠΈΠ²Π°.
ΠΠΎΠ·ΠΈΡΠΈΠΎΠ½ΠΈΡΠΎΠ²Π°Π½ΠΈΠ΅ ΡΠΎΡΠΊΠΈ ΡΠΎΠΊΡΡΠΈΡΠΎΠ²ΠΊΠΈ
ΠΡΠΎΠΈΠ·Π²ΠΎΠ΄ΠΈΡΠ΅Π»ΠΈ Π·Π΅ΡΠΊΠ°Π»ΡΠ½ΡΡ
ΡΠΎΡΠΎΠΊΠ°ΠΌΠ΅Ρ ΡΠ°ΡΡΠΎ ΡΠ΅ΠΊΠ»Π°ΠΌΠΈΡΡΡΡ ΠΊΠΎΠ»ΠΈΡΠ΅ΡΡΠ²ΠΎ ΡΠΎΡΠ΅ΠΊ ΡΠΎΠΊΡΡΠΈΡΠΎΠ²ΠΊΠΈ, ΠΏΡΠ΅Π΄Π»Π°Π³Π°Π΅ΠΌΡΡ
ΠΊΠ°ΠΌΠ΅ΡΠΎΠΉ, Π½ΠΎ ΠΊΠΎΠ»ΠΈΡΠ΅ΡΡΠ²ΠΎ ΡΠΎΡΠ΅ΠΊ ΡΠΎΠΊΡΡΠΈΡΠΎΠ²ΠΊΠΈ Π½Π΅ ΡΠ°ΠΊ Π²Π°ΠΆΠ½ΠΎ, ΠΊΠ°ΠΊ ΠΈΡ
ΡΠ°ΡΠΏΠΎΠ»ΠΎΠΆΠ΅Π½ΠΈΠ΅ Π² ΠΊΠ°Π΄ΡΠ΅. ΠΠ°ΠΏΡΠΈΠΌΠ΅Ρ, Ρ Π½Π΅ΠΊΠΎΡΠΎΡΡΡ
ΠΊΠ°ΠΌΠ΅Ρ Π²ΡΠ΅ ΡΠΎΡΠΊΠΈ ΡΠΎΠΊΡΡΠΈΡΠΎΠ²ΠΊΠΈ ΡΠ³ΡΡΠΏΠΏΠΈΡΠΎΠ²Π°Π½Ρ Π² ΡΠ΅ΡΠ΅Π΄ΠΈΠ½Π΅ ΠΊΠ°Π΄ΡΠ°, ΡΡΠΎ ΠΏΠΎΠ»Π΅Π·Π½ΠΎ ΡΠΎΠ»ΡΠΊΠΎ Π² ΡΠΎΠΌ ΡΠ»ΡΡΠ°Π΅, Π΅ΡΠ»ΠΈ ΠΎΠ±ΡΠ΅ΠΊΡ Π½Π°Ρ
ΠΎΠ΄ΠΈΡΡΡ Π² ΡΠ΅Π½ΡΡΠ΅ ΠΊΠ°Π΄ΡΠ°. ΠΡΠ»ΠΈ Π²Ρ ΠΈΡΠΏΠΎΠ»ΡΠ·ΡΠ΅ΡΠ΅ ΠΏΡΠ°Π²ΠΈΠ»ΠΎ ΡΡΠ΅ΡΠ΅ΠΉ , ΠΊΠ°ΠΊ ΠΎΠΏΠΈΡΠ°Π½ΠΎ Π² Π³Π»Π°Π²Π΅ 2 ΠΊΠ½ΠΈΠ³ΠΈ ΠΠΎΡΡΡΡΠ°ΡΡΠ°Ρ ΡΠΈΡΡΠΎΠ²Π°Ρ ΡΠΎΡΠΎΠ³ΡΠ°ΡΠΈΡ , Π²Π°ΠΌ Π½ΡΠΆΠ½ΠΎ, ΡΡΠΎΠ±Ρ ΡΠΎΡΠΊΠΈ ΡΠΎΠΊΡΡΠΈΡΠΎΠ²ΠΊΠΈ Π½Π°Ρ
ΠΎΠ΄ΠΈΠ»ΠΈΡΡ Π½Π° 1/3 Π΄Π»ΠΈΠ½Ρ ΠΊΠ°Π΄ΡΠ°. Π’ΠΎΠ»ΡΠΊΠΎ Π·Π΅ΡΠΊΠ°Π»ΡΠ½ΡΠ΅ ΠΊΠ°ΠΌΠ΅ΡΡ Π±ΠΎΠ»Π΅Π΅ Π²ΡΡΠΎΠΊΠΎΠ³ΠΎ ΠΊΠ»Π°ΡΡΠ° ΠΎΠ±Π΅ΡΠΏΠ΅ΡΠΈΠ²Π°ΡΡ ΡΡΠΎ. ΠΠΎΡΡΠΎΠΌΡ Π½Π΅ ΡΡΠΈΡΠ°ΠΉΡΠ΅ ΠΊΠ°ΠΌΠ΅ΡΡ Ρ Π±ΠΎΠ»ΡΡΠΈΠΌ ΠΊΠΎΠ»ΠΈΡΠ΅ΡΡΠ²ΠΎΠΌ ΡΠΎΡΠ΅ΠΊ ΡΠΎΠΊΡΡΠΈΡΠΎΠ²ΠΊΠΈ Π°Π²ΡΠΎΠΌΠ°ΡΠΈΡΠ΅ΡΠΊΠΈ ΠΏΡΠ΅Π²ΠΎΡΡ
ΠΎΠ΄ΡΡΠ΅ΠΉ Π΄ΡΡΠ³ΡΡ ΠΊΠ°ΠΌΠ΅ΡΡ. ΠΠΌΠ΅ΡΡΠΎ ΡΡΠΎΠ³ΠΎ Π²ΡΠ±Π΅ΡΠΈΡΠ΅ ΠΊΠ°ΠΌΠ΅ΡΡ Ρ ΡΠΎΡΠΊΠ°ΠΌΠΈ ΡΠΎΠΊΡΡΠΈΡΠΎΠ²ΠΊΠΈ Π±Π»ΠΈΠΆΠ΅ ΠΊ ΠΊΡΠ°Ρ ΠΊΠ°Π΄ΡΠ°.
ΠΠ°ΠΏΡΠΈΠΌΠ΅Ρ, Sony Alpha a99 (2800 Π΄ΠΎΠ»Π»Π°ΡΠΎΠ²) ΠΌΠΎΠΆΠ΅Ρ ΠΏΠΎΡ
Π²Π°ΡΡΠ°ΡΡΡΡ Π½Π°Π»ΠΈΡΠΈΠ΅ΠΌ 102 ΡΠΎΡΠ΅ΠΊ Π°Π²ΡΠΎΡΠΎΠΊΡΡΠΈΡΠΎΠ²ΠΊΠΈ. ΠΡΠΎ Π² ΠΎΡΠ½ΠΎΠ²Π½ΠΎΠΌ ΠΌΠ°ΡΠΊΠ΅ΡΠΈΠ½Π³ΠΎΠ²Π°Ρ ΡΠ΅ΠΏΡΡ
Π°, ΠΏΠΎΡΠΎΠΌΡ ΡΡΠΎ Ρ Π½Π΅Π³ΠΎ Π²ΡΠ΅Π³ΠΎ 19 ΡΠΎΡΠ΅ΠΊ Π°Π²ΡΠΎΡΠΎΠΊΡΡΠΈΡΠΎΠ²ΠΊΠΈ, ΠΊΠΎΡΠΎΡΡΠ΅ ΠΏΠΎΠ·Π²ΠΎΠ»ΡΡ Π²Π°ΠΌ Π΄ΠΎΡΡΠΈΡΡ ΠΏΠ΅ΡΠ²ΠΎΠ½Π°ΡΠ°Π»ΡΠ½ΠΎΠΉ ΡΠΎΠΊΡΡΠΈΡΠΎΠ²ΠΊΠΈ. ΠΡΡΠ°Π»ΡΠ½ΡΠ΅ 83 ΡΠΎΡΠΊΠΈ ΠΏΠΎΠ»Π΅Π·Π½Ρ ΡΠΎΠ»ΡΠΊΠΎ Π΄Π»Ρ ΠΏΡΠΎΠ΄ΠΎΠ»ΠΆΠ΅Π½ΠΈΡ ΠΎΡΡΠ»Π΅ΠΆΠΈΠ²Π°Π½ΠΈΡ Π΄Π²ΠΈΠΆΡΡΠΈΡ
ΡΡ ΠΎΠ±ΡΠ΅ΠΊΡΠΎΠ² ΠΏΠΎΡΠ»Π΅ ΠΏΠ΅ΡΠ²ΠΎΠ½Π°ΡΠ°Π»ΡΠ½ΠΎΠΉ ΡΠΎΠΊΡΡΠΈΡΠΎΠ²ΠΊΠΈ, Π° Π·Π°ΡΠ΅ΠΌ ΡΠΎΠ»ΡΠΊΠΎ Ρ ΠΎΠΏΡΠ΅Π΄Π΅Π»Π΅Π½Π½ΡΠΌΠΈ ΠΎΠ±ΡΠ΅ΠΊΡΠΈΠ²Π°ΠΌΠΈ. 19Π’ΠΎΡΠ΅ΠΊ Π°Π²ΡΠΎΡΠΎΠΊΡΡΠΈΡΠΎΠ²ΠΊΠΈ ΠΌΠ½ΠΎΠ³ΠΎ, Π½ΠΎ Π΅ΡΡΡ Π±ΠΎΠ»ΡΡΠ°Ρ ΠΏΡΠΎΠ±Π»Π΅ΠΌΠ°: ΡΡΠΈ 19 ΡΠΎΡΠ΅ΠΊ Π°Π²ΡΠΎΡΠΎΠΊΡΡΠΈΡΠΎΠ²ΠΊΠΈ ΡΠ³ΡΡΠΏΠΏΠΈΡΠΎΠ²Π°Π½Ρ Π²ΠΎΠΊΡΡΠ³ ΡΠ΅Π½ΡΡΠ° ΠΊΠ°Π΄ΡΠ°. Canon 5D Mark III (3300 Π΄ΠΎΠ»Π»Π°ΡΠΎΠ²) ΠΈΠΌΠ΅Π΅Ρ 61 ΡΠΎΡΠΊΡ Π°Π²ΡΠΎΡΠΎΠΊΡΡΠΈΡΠΎΠ²ΠΊΠΈ, ΠΈ Π½Π° ΠΏΠ΅ΡΠ²ΡΠΉ Π²Π·Π³Π»ΡΠ΄ ΠΌΠΎΠΆΠ΅Ρ ΠΏΠΎΠΊΠ°Π·Π°ΡΡΡΡ, ΡΡΠΎ ΡΠΈΡΡΠ΅ΠΌΠ° Π°Π²ΡΠΎΡΠΎΠΊΡΡΠΈΡΠΎΠ²ΠΊΠΈ Ρ
ΡΠΆΠ΅, ΡΠ΅ΠΌ Ρ a99. ΠΠ΄Π½Π°ΠΊΠΎ ΡΡΠ°Π²Π½Π΅Π½ΠΈΠ΅ ΡΠΎΡΠ΅ΠΊ Π°Π²ΡΠΎΡΠΎΠΊΡΡΠΈΡΠΎΠ²ΠΊΠΈ, ΠΊΠΎΡΠΎΡΡΠ΅ ΠΌΠΎΠΆΠ½ΠΎ ΠΈΡΠΏΠΎΠ»ΡΠ·ΠΎΠ²Π°ΡΡ Π΄Π»Ρ ΠΏΠ΅ΡΠ²ΠΎΠ½Π°ΡΠ°Π»ΡΠ½ΠΎΠΉ ΡΠΎΠΊΡΡΠΈΡΠΎΠ²ΠΊΠΈ Π½Π° ΡΠ΅ΡΠΊΠ΅ ΠΏΡΠ°Π²ΠΈΠ»Π° ΡΡΠ΅ΡΠ΅ΠΉ, ΠΊΠ°ΠΊ ΠΏΠΎΠΊΠ°Π·Π°Π½ΠΎ Π½Π° ΡΠ»Π΅Π΄ΡΡΡΠ΅ΠΌ ΡΠΈΡΡΠ½ΠΊΠ΅, Π³ΠΎΠ²ΠΎΡΠΈΡ ΠΎ Π΄ΡΡΠ³ΠΎΠΌ. Π’ΠΎΡΠΊΠΈ ΡΠΎΠΊΡΡΠΈΡΠΎΠ²ΠΊΠΈ a99 ΡΠ»Π΅Π²Π° ΡΠ³ΡΡΠΏΠΏΠΈΡΠΎΠ²Π°Π½Ρ Π²ΠΎΠΊΡΡΠ³ ΡΠ΅Π½ΡΡΠ°, ΡΡΠΎ ΡΡΠ΅Π±ΡΠ΅Ρ ΠΎΡ Π²Π°Ρ ΠΈΡΠΏΠΎΠ»ΡΠ·ΠΎΠ²Π°Π½ΠΈΡ ΡΠ΅Ρ
Π½ΠΈΠΊΠΈ ΡΠΎΠΊΡΡΠΈΡΠΎΠ²ΠΊΠΈ ΠΈ ΠΏΠ΅ΡΠ΅ΠΊΠΎΠΌΠΏΠΎΠ½ΠΎΠ²ΠΊΠΈ Π΄Π»Ρ ΠΊΠ°ΠΆΠ΄ΠΎΠ³ΠΎ ΠΎΡΠ΄Π΅Π»ΡΠ½ΠΎΠ³ΠΎ ΡΠ½ΠΈΠΌΠΊΠ°, ΠΊΠΎΡΠΎΡΡΠΉ ΡΠ»Π΅Π΄ΡΠ΅Ρ ΠΏΡΠ°Π²ΠΈΠ»Ρ ΡΡΠ΅ΡΠ΅ΠΉ, Π° ΡΡΠΎ Π±ΡΠ΄Π΅Ρ Π±ΠΎΠ»ΡΡΠΈΠ½ΡΡΠ²ΠΎ Π²Π°ΡΠΈΡ
ΡΠ½ΠΈΠΌΠΊΠΎΠ².
Π’ΠΎΡΠΊΠΈ Π°Π²ΡΠΎΡΠΎΠΊΡΡΠΈΡΠΎΠ²ΠΊΠΈ 5D Mark III ΠΏΡΠΎΡΡΠΈΡΠ°ΡΡΡΡ Π³ΠΎΡΠ°Π·Π΄ΠΎ Π΄Π°Π»ΡΡΠ΅, ΠΏΠΎΠ·Π²ΠΎΠ»ΡΡ Π²Π°ΠΌ ΡΡΠΎΠΊΡΡΠΈΡΠΎΠ²Π°ΡΡΡΡ Π½Π° Π»Π΅Π²ΠΎΠΉ ΠΈΠ»ΠΈ ΠΏΡΠ°Π²ΠΎΠΉ ΡΡΠ΅ΡΠΈ ΠΊΠ°Π΄ΡΠ° (Π½ΠΎ, ΠΊ ΡΠΎΠΆΠ°Π»Π΅Π½ΠΈΡ, Π½Π΅ ΠΏΠΎ ΡΠ³Π»Π°ΠΌ). Π’ΠΎΡΠΊΠΈ Π°Π²ΡΠΎΡΠΎΠΊΡΡΠΈΡΠΎΠ²ΠΊΠΈ Sony Alpha a99 (ΡΠ»Π΅Π²Π°) ΡΠ³ΡΡΠΏΠΏΠΈΡΠΎΠ²Π°Π½Ρ Π²ΠΎΠΊΡΡΠ³ ΡΠ΅Π½ΡΡΠ° ΠΊΠ°Π΄ΡΠ°, ΡΡΠΎ ΠΌΠ΅Π½Π΅Π΅ ΠΏΠΎΠ»Π΅Π·Π½ΠΎ, ΡΠ΅ΠΌ ΡΠΎΡΠΊΠΈ Π°Π²ΡΠΎΡΠΎΠΊΡΡΠΈΡΠΎΠ²ΠΊΠΈ Canon 5D Mark III (ΡΠΏΡΠ°Π²Π°), ΠΊΠΎΡΠΎΡΡΠ΅ ΡΠ°ΡΠΏΡΠ΅Π΄Π΅Π»Π΅Π½Ρ Π΄Π°Π»ΡΡΠ΅ ΠΏΠΎ ΠΊΠ°Π΄ΡΡ. Π― Π½Π΅ ΠΈΠΌΠ΅Ρ Π² Π²ΠΈΠ΄Ρ ΠΊΠΎΠ½ΠΊΡΠ΅ΡΠ½ΠΎ Π°99; ΡΡΠΎ ΠΏΠΎΡΡΡΡΠ°ΡΡΠ°Ρ ΠΊΠ°ΠΌΠ΅ΡΠ°. Π― ΠΏΡΠΎΠ²Π΅Π» ΠΏΠ΅ΡΠ²ΠΎΠ΅ Π΄Π΅ΡΡΡΠΈΠ»Π΅ΡΠΈΠ΅ ΡΠ²ΠΎΠ΅ΠΉ ΠΊΠ°ΡΡΠ΅ΡΡ ΡΠΎΡΠΎΠ³ΡΠ°ΡΠ°, ΠΈΡΠΏΠΎΠ»ΡΠ·ΡΡ ΡΠΎΠ»ΡΠΊΠΎ ΡΠ΅Π½ΡΡΠ°Π»ΡΠ½ΡΡ ΡΠΎΡΠΊΡ Π°Π²ΡΠΎΡΠΎΠΊΡΡΠΈΡΠΎΠ²ΠΊΠΈ (Π² ΡΠΎΡΠ΅ΡΠ°Π½ΠΈΠΈ Ρ ΡΠ΅Ρ
Π½ΠΈΠΊΠΎΠΉ ΡΠΎΠΊΡΡΠΈΡΠΎΠ²ΠΊΠΈ ΠΈ ΠΏΠ΅ΡΠ΅ΠΊΠΎΠΌΠΏΠΎΠ½ΠΎΠ²ΠΊΠΈ), ΡΠ°ΠΊ ΡΡΠΎ Π΄Π°ΠΆΠ΅ ΠΎΠ΄Π½Π° ΡΠΎΡΠΊΠ° Π°Π²ΡΠΎΡΠΎΠΊΡΡΠΈΡΠΎΠ²ΠΊΠΈ ΡΠ΄Π΅Π»Π°Π΅Ρ ΡΠ²ΠΎΠ΅ Π΄Π΅Π»ΠΎ. Π― ΠΏΠΎΠΊΠ°Π·ΡΠ²Π°Ρ ΡΡΠΎΡ ΠΏΡΠΈΠΌΠ΅Ρ ΡΠΎΠ»ΡΠΊΠΎ ΠΏΠΎΡΠΎΠΌΡ, ΡΡΠΎ, ΠΊΠΎΠ³Π΄Π° Π²Ρ ΠΎΡΠ΅Π½ΠΈΠ²Π°Π΅ΡΠ΅ ΡΠ°Π·Π»ΠΈΡΠ½ΡΠ΅ ΠΊΠΎΡΠΏΡΡΠ° ΠΊΠ°ΠΌΠ΅Ρ, Ρ Ρ
ΠΎΡΡ, ΡΡΠΎΠ±Ρ Π²Ρ ΡΠ΄Π΅Π»ΡΠ»ΠΈ ΠΌΠ΅Π½ΡΡΠ΅ Π²Π½ΠΈΠΌΠ°Π½ΠΈΡ ΠΊΠΎΠ»ΠΈΡΠ΅ΡΡΠ²Ρ ΡΠΎΡΠ΅ΠΊ Π°Π²ΡΠΎΡΠΎΠΊΡΡΠΈΡΠΎΠ²ΠΊΠΈ ΠΈ Π±ΠΎΠ»ΡΡΠ΅ Π²Π½ΠΈΠΌΠ°Π½ΠΈΡ ΡΠΎΠΌΡ, ΠΊΠ°ΠΊ ΠΎΠ½ΠΈ ΡΠ°ΡΠΏΡΠ΅Π΄Π΅Π»ΡΡΡΡΡ ΠΏΠΎ ΠΊΠ°Π΄ΡΡ.
ΠΠ»Π΅ΠΊΡΡΠΎΠ΄Π²ΠΈΠ³Π°ΡΠ΅Π»ΠΈ ΡΠΎΠΊΡΡΠΈΡΠΎΠ²ΠΊΠΈ Nikon
ΠΠ»Ρ ΠΊΠΎΡΠΏΡΡΠΎΠ² ΠΊΠ°ΠΌΠ΅Ρ Nikon Π½Π΅ΠΎΠ±Ρ
ΠΎΠ΄ΠΈΠΌΠΎ ΡΡΠΈΡΡΠ²Π°ΡΡ Π΅ΡΠ΅ ΠΎΠ΄ΠΈΠ½ ΡΠ°ΠΊΡΠΎΡ: Π½Π°Π»ΠΈΡΠΈΠ΅ Π² ΠΊΠΎΡΠΏΡΡΠ΅ ΠΌΠΎΡΠΎΡΠ° ΡΠΎΠΊΡΡΠΈΡΠΎΠ²ΠΊΠΈ.
Π ΡΠΎ Π²ΡΠ΅ΠΌΡ ΠΊΠ°ΠΊ Π±ΠΎΠ»ΡΡΠΈΠ½ΡΡΠ²ΠΎ ΡΠΎΠ²ΡΠ΅ΠΌΠ΅Π½Π½ΡΡ
ΠΎΠ±ΡΠ΅ΠΊΡΠΈΠ²ΠΎΠ² ΠΈΠΌΠ΅ΡΡ ΠΌΠΎΡΠΎΡ ΡΠΎΠΊΡΡΠΈΡΠΎΠ²ΠΊΠΈ, Π²ΡΡΡΠΎΠ΅Π½Π½ΡΠΉ Π² ΠΎΠ±ΡΠ΅ΠΊΡΠΈΠ², ΡΡΠ°ΡΡΠ΅ ΠΎΠ±ΡΠ΅ΠΊΡΠΈΠ²Ρ Nikon ΠΏΠΎΠ»Π°Π³Π°Π»ΠΈΡΡ Π½Π° ΡΠΏΠ΅ΡΠΈΠ°Π»ΡΠ½ΡΠΉ ΠΌΠΎΡΠΎΡ, Π²ΡΡΡΠΎΠ΅Π½Π½ΡΠΉ Π² ΠΊΠΎΡΠΏΡΡ, Π΄Π»Ρ ΡΠ΅Π³ΡΠ»ΠΈΡΠΎΠ²ΠΊΠΈ ΡΠΎΠΊΡΡΠ° ΠΎΠ±ΡΠ΅ΠΊΡΠΈΠ²Π°. Π¦ΠΈΡΡΠΎΠ²ΡΠ΅ Π·Π΅ΡΠΊΠ°Π»ΡΠ½ΡΠ΅ ΡΠΎΡΠΎΠΊΠ°ΠΌΠ΅ΡΡ Nikon Π±ΠΎΠ»Π΅Π΅ Π²ΡΡΠΎΠΊΠΎΠ³ΠΎ ΠΊΠ»Π°ΡΡΠ° ΠΏΠΎ-ΠΏΡΠ΅ΠΆΠ½Π΅ΠΌΡ ΠΎΡΠ½Π°ΡΠ΅Π½Ρ ΠΌΠΎΡΠΎΡΠ°ΠΌΠΈ ΡΠΎΠΊΡΡΠΈΡΠΎΠ²ΠΊΠΈ, ΠΏΠΎΠ·Π²ΠΎΠ»ΡΡΡΠΈΠΌΠΈ Π²ΡΠΏΠΎΠ»Π½ΡΡΡ Π°Π²ΡΠΎΡΠΎΠΊΡΡΠΈΡΠΎΠ²ΠΊΡ Ρ ΡΡΠΈΠΌΠΈ ΡΡΠ°ΡΡΠΌΠΈ ΠΎΠ±ΡΠ΅ΠΊΡΠΈΠ²Π°ΠΌΠΈ. Π ΡΠ°ΡΡΠ½ΠΎΡΡΠΈ, ΡΠ»Π΅Π΄ΡΡΡΠΈΠ΅ ΠΏΠΎΡΠ»Π΅Π΄Π½ΠΈΠ΅ ΡΠΈΡΡΠΎΠ²ΡΠ΅ Π·Π΅ΡΠΊΠ°Π»ΡΠ½ΡΠ΅ ΡΠΎΡΠΎΠΊΠ°ΠΌΠ΅ΡΡ Nikon ΠΈΠΌΠ΅ΡΡ ΠΌΠΎΡΠΎΡ ΡΠΎΠΊΡΡΠΈΡΠΎΠ²ΠΊΠΈ: D90, D300, D7100, D600, D610, D800, D810, D3x, D4 ΠΈ D4S. ΠΡΠ΅ ΠΎΡΡΠ°Π»ΡΠ½ΡΠ΅ Π½ΠΎΠ²ΡΠ΅ ΡΠΈΡΡΠΎΠ²ΡΠ΅ Π·Π΅ΡΠΊΠ°Π»ΡΠ½ΡΠ΅ ΡΠΎΡΠΎΠΊΠ°ΠΌΠ΅ΡΡ Nikon Π½Π΅ ΠΈΠΌΠ΅ΡΡ ΠΌΠΎΡΠΎΡΠ° ΡΠΎΠΊΡΡΠΈΡΠΎΠ²ΠΊΠΈ. Π’Π°ΠΊΠΈΠΌ ΠΎΠ±ΡΠ°Π·ΠΎΠΌ, Π°Π²ΡΠΎΡΠΎΠΊΡΡΠΈΡΠΎΠ²ΠΊΠ° Π±ΡΠ΄Π΅Ρ Π½ΠΎΡΠΌΠ°Π»ΡΠ½ΠΎ ΡΠ°Π±ΠΎΡΠ°ΡΡ ΡΠΎ Π²ΡΠ΅ΠΌΠΈ Π½ΠΎΠ²ΡΠΌΠΈ ΠΎΠ±ΡΠ΅ΠΊΡΠΈΠ²Π°ΠΌΠΈ AF-S ΠΈ AF-I, Π½ΠΎ Π²Ρ Π½Π΅ ΡΠΌΠΎΠΆΠ΅ΡΠ΅ Π²ΡΠΏΠΎΠ»Π½ΡΡΡ Π°Π²ΡΠΎΡΠΎΠΊΡΡΠΈΡΠΎΠ²ΠΊΡ ΡΠΎ ΡΡΠ°ΡΡΠΌΠΈ ΠΎΠ±ΡΠ΅ΠΊΡΠΈΠ²Π°ΠΌΠΈ AF, Π΄Π»Ρ ΠΊΠΎΡΠΎΡΡΡ
ΡΡΠ΅Π±ΡΠ΅ΡΡΡ ΠΌΠΎΡΠΎΡ ΡΠΎΠΊΡΡΠΈΡΠΎΠ²ΠΊΠΈ (Ρ
ΠΎΡΡ Π²Ρ Π²ΡΠ΅ ΡΠ°Π²Π½ΠΎ ΠΌΠΎΠΆΠ΅ΡΠ΅ ΠΈΡΠΏΠΎΠ»ΡΠ·ΠΎΠ²Π°ΡΡ ΠΈΡ
Ρ ΡΡΡΠ½ΠΎΠΉ ΡΠΎΠΊΡΡΠΈΡΠΎΠ²ΠΊΠΎΠΉ). Π ΡΡΠ°ΡΡΡΡ, Π±ΠΎΠ»ΡΡΠ°Ρ ΡΠ°ΡΡΡ ΡΠ΅ΠΊΡΡΠ΅ΠΉ Π»ΠΈΠ½Π΅ΠΉΠΊΠΈ Nikon β ΡΡΠΎ AF-S. ΠΡΠ΅, ΡΠ΅Π³ΠΎ Π²Π°ΠΌ Π΄Π΅ΠΉΡΡΠ²ΠΈΡΠ΅Π»ΡΠ½ΠΎ Π½Π΅ Ρ
Π²Π°ΡΠ°Π΅Ρ, ΡΠ°ΠΊ ΡΡΠΎ Π°Π²ΡΠΎΡΠΎΠΊΡΡΠΈΡΠΎΠ²ΠΊΠΈ Ρ ΠΈΡ
ΠΎΠ±ΡΠ΅ΠΊΡΠΈΠ²Π°ΠΌΠΈ ΡΠΈΠΏΠ° Β«ΡΡΠ±ΠΈΠΉ Π³Π»Π°Π·Β», Π½ΠΎ Π±ΠΎΠ»ΡΡΠ°Ρ Π³Π»ΡΠ±ΠΈΠ½Π° ΡΠ΅Π·ΠΊΠΎΡΡΠΈ Ρ ΠΎΠ±ΡΠ΅ΠΊΡΠΈΠ²Π°ΠΌΠΈ ΡΠΈΠΏΠ° Β«ΡΡΠ±ΠΈΠΉ Π³Π»Π°Π·Β» ΡΠΏΡΠΎΡΠ°Π΅Ρ ΡΠΎΠΊΡΡΠΈΡΠΎΠ²ΠΊΡ.


ΠΡΠΎ ΡΠ΄ΠΎΠ±Π½ΠΎ ΠΏΡΠΈ ΡΠ΄Π΅ΡΠΆΠ°Π½ΠΈΠΈ ΡΠ²Π΅ΡΠΎΡΠΈΠ»ΡΠ½ΠΎΠ³ΠΎ ΠΎΠ±ΡΠ΅ΠΊΡΠΈΠ²Π°, ΠΏΠΎΡΠΊΠΎΠ»ΡΠΊΡ ΠΊΠ½ΠΎΠΏΠΊΡ ΡΠ΄Π΅ΡΠΆΠ°Π½ΠΈΡ ΡΠΎΠΊΡΡΠΈΡΠΎΠ²ΠΊΠΈ Π»Π΅Π³ΡΠ΅ Π΄ΠΎΡΡΠ°ΡΡ, Π½Π΅ ΡΠ±ΠΈΡΠ°Ρ Π±ΠΎΠ»ΡΡΠΎΠΉ ΠΏΠ°Π»Π΅Ρ Ρ ΡΡΠΊΠΎΡΡΠΊΠΈ ΠΊΠ°ΠΌΠ΅ΡΡ.


].
ΠΡΠΎΡ ΡΠ΅ΠΆΠΈΠΌ ΠΏΠΎΠ΄Ρ
ΠΎΠ΄ΠΈΡ Π΄Π»Ρ ΡΡΠ΅ΠΌΠΊΠΈ Π΄ΠΈΠ½Π°ΠΌΠΈΡΠ½ΡΡ
ΡΡΠ΅Π½, Π½Π°ΠΏΡΠΈΠΌΠ΅Ρ, ΡΠΏΠΎΡΡΠΈΠ²Π½ΡΡ
ΡΠΎΡΠ΅Π²Π½ΠΎΠ²Π°Π½ΠΈΠΉ.
Π‘Π°ΠΌΡΠΉ Π±ΡΡΡΡΡΠΉ ΡΠΏΠΎΡΠΎΠ± Π°Π²ΡΠΎΡΠΎΠΊΡΡΠΈΡΠΎΠ²ΠΊΠΈ, ΡΠ°Π·ΠΎΠ²Π°Ρ Π΄Π΅ΡΠ΅ΠΊΡΠΈΡ ΠΈΡΠΏΠΎΠ»ΡΠ·ΡΠ΅Ρ ΠΏΠ°ΡΡ Π΄Π°ΡΡΠΈΠΊΠΎΠ² Π΄Π»Ρ ΠΊΠ°ΠΆΠ΄ΠΎΠΉ ΡΠΎΡΠΊΠΈ ΡΠΎΠΊΡΡΠΈΡΠΎΠ²ΠΊΠΈ. Π DSLR ΡΠ²Π΅Ρ ΠΏΡΠΎΡ
ΠΎΠ΄ΠΈΡ ΡΠ΅ΡΠ΅Π· ΡΠ°ΡΡΠΈΡΠ½ΠΎ ΠΏΡΠΎΠ·ΡΠ°ΡΠ½ΠΎΠ΅ Π·Π΅ΡΠΊΠ°Π»ΠΎ Π²Π°ΡΠ΅ΠΉ DSLR. ΠΠ° ΡΡΠΈΠΌ Π·Π΅ΡΠΊΠ°Π»ΠΎΠΌ, Π½Π° ΡΠΎΡΠ½ΠΎ ΡΠ°ΠΊΠΎΠΌ ΠΆΠ΅ ΡΠ°ΡΡΡΠΎΡΠ½ΠΈΠΈ ΠΎΡ ΠΎΠ±ΡΠ΅ΠΊΡΠΈΠ²Π°, ΠΊΠ°ΠΊ ΠΈ Π΄Π°ΡΡΠΈΠΊΠΈ Π²Π°ΡΠ΅ΠΉ ΠΊΠ°ΠΌΠ΅ΡΡ, Π½Π°Ρ
ΠΎΠ΄ΠΈΡΡΡ ΠΎΠ΄Π½Π° ΠΈΠ»ΠΈ Π½Π΅ΡΠΊΠΎΠ»ΡΠΊΠΎ ΠΏΠ°Ρ Π΄Π°ΡΡΠΈΠΊΠΎΠ² ΡΠΎΠΊΡΡΠΈΡΠΎΠ²ΠΊΠΈ Π΄Π»Ρ ΠΊΠ°ΠΆΠ΄ΠΎΠΉ ΡΠΎΡΠΊΠΈ ΡΠΎΠΊΡΡΠΈΡΠΎΠ²ΠΊΠΈ Π½Π° Π²Π°ΡΠ΅ΠΉ ΠΊΠ°ΠΌΠ΅ΡΠ΅. ΠΡΠΈ Π΄Π°ΡΡΠΈΠΊΠΈ Π²ΠΈΠ΄ΡΡ Π½Π΅Π±ΠΎΠ»ΡΡΡΡ ΡΠ°ΡΡΡ Π²Π°ΡΠ΅Π³ΠΎ ΠΈΠ·ΠΎΠ±ΡΠ°ΠΆΠ΅Π½ΠΈΡ ΠΏΠΎΠ΄ Π΄Π²ΡΠΌΡ Π½Π΅ΠΌΠ½ΠΎΠ³ΠΎ ΡΠ°Π·Π½ΡΠΌΠΈ ΡΠ³Π»Π°ΠΌΠΈ. ΠΠΎΠ³Π΄Π° ΠΈΠ·ΠΎΠ±ΡΠ°ΠΆΠ΅Π½ΠΈΠ΅ Ρ Π΄Π²ΡΡ
Π΄Π°ΡΡΠΈΠΊΠΎΠ² ΡΠΎΠ²ΠΏΠ°Π΄Π°Π΅Ρ, ΡΡΠ° ΡΠ°ΡΡΡ ΠΈΠ·ΠΎΠ±ΡΠ°ΠΆΠ΅Π½ΠΈΡ Π½Π°Ρ
ΠΎΠ΄ΠΈΡΡΡ Π² ΡΠΎΠΊΡΡΠ΅, ΠΈ Π²Π°ΡΠ° ΠΊΠ°ΠΌΠ΅ΡΠ° ΠΌΠΎΠΆΠ΅Ρ ΠΎΡΡΠ°Π½ΠΎΠ²ΠΈΡΡ ΠΏΡΠΎΡΠ΅ΡΡ Π°Π²ΡΠΎΡΠΎΠΊΡΡΠΈΡΠΎΠ²ΠΊΠΈ.
ΠΠ±Π½Π°ΡΡΠΆΠ΅Π½ΠΈΠ΅ ΠΊΠΎΠ½ΡΡΠ°ΡΡΠ° ΠΈΡΡΠ»Π΅Π΄ΡΠ΅Ρ Π΄Π°Π½Π½ΡΠ΅ Ρ ΡΠ΅Π½ΡΠΎΡΠ° ΠΊΠ°ΠΌΠ΅ΡΡ ΠΏΡΠΈ Π½Π°ΡΡΡΠΎΠΉΠΊΠ΅ ΡΠΎΠΊΡΡΠ° ΠΎΠ±ΡΠ΅ΠΊΡΠΈΠ²Π° ΠΈ, ΡΡΠ°Π²Π½ΠΈΠ²Π°Ρ ΠΏΠΎΡΠ»Π΅Π΄ΡΡΡΠΈΠ΅ ΠΊΠ°Π΄ΡΡ, ΡΠ½ΡΡΡΠ΅ Ρ ΡΠ΅Π½ΡΠΎΡΠ°, ΠΌΠΎΠΆΠ΅Ρ ΠΎΠΏΡΠ΅Π΄Π΅Π»ΠΈΡΡ, Π΄Π΅Π»Π°Π΅Ρ Π»ΠΈ Π΄Π²ΠΈΠΆΠ΅Π½ΠΈΠ΅ ΡΠΎΠΊΡΡΠ° Π·Π°Ρ
Π²Π°ΡΠ΅Π½Π½ΠΎΠ΅ ΠΈΠ·ΠΎΠ±ΡΠ°ΠΆΠ΅Π½ΠΈΠ΅ Π±ΠΎΠ»Π΅Π΅ ΠΊΠΎΠ½ΡΡΠ°ΡΡΠ½ΡΠΌ (ΡΡΠΎ ΡΠΊΠ°Π·ΡΠ²Π°Π΅Ρ Π½Π° Π±ΠΎΠ»Π΅Π΅ ΡΡΠΎΠΊΡΡΠΈΡΠΎΠ²Π°Π½Π½ΠΎΠ΅ ΠΈΠ·ΠΎΠ±ΡΠ°ΠΆΠ΅Π½ΠΈΠ΅) ΠΈΠ»ΠΈ ΠΌΠ΅Π½Π΅Π΅ ΠΊΠΎΠ½ΡΡΠ°ΡΡΠ½ΡΠΌ (ΡΡΠΎ ΡΠΊΠ°Π·ΡΠ²Π°Π΅Ρ Π½Π° ΠΌΠ΅Π½ΡΡΡΡ ΡΠ΅Π·ΠΊΠΎΡΡΡ). Π² ΡΠΎΠΊΡΡΠ΅) Π² Π»ΡΠ±ΠΎΠΉ ΡΠΎΡΠΊΠ΅ ΠΊΠ°Π΄ΡΠ°. ΠΠΎΡΡΠΎΠΌΡ ΠΏΡΠΈ ΠΎΠ±Π½Π°ΡΡΠΆΠ΅Π½ΠΈΠΈ ΠΊΠΎΠ½ΡΡΠ°ΡΡΠ° ΡΠΎΡΠΊΠ° ΡΠΎΠΊΡΡΠΈΡΠΎΠ²ΠΊΠΈ ΠΌΠΎΠΆΠ΅Ρ Π½Π°Ρ
ΠΎΠ΄ΠΈΡΡΡΡ Π² Π»ΡΠ±ΠΎΠΌ ΠΌΠ΅ΡΡΠ΅ ΠΊΠ°Π΄ΡΠ°. ΠΠΎΠ»ΡΡΠΈΠ½ΡΡΠ²ΠΎ Π΄Π°ΡΡΠΈΠΊΠΎΠ² ΡΠΈΡΡΠΎΠ²ΡΡ
Π·Π΅ΡΠΊΠ°Π»ΡΠ½ΡΡ
ΠΊΠ°ΠΌΠ΅Ρ ΠΏΡΠ΅Π΄ΠΎΡΡΠ°Π²Π»ΡΡΡ Π΄Π°Π½Π½ΡΠ΅ ΡΠΎΠ»ΡΠΊΠΎ ΡΠΎ ΡΠΊΠΎΡΠΎΡΡΡΡ 30 ΠΊΠ°Π΄ΡΠΎΠ² Π² ΡΠ΅ΠΊΡΠ½Π΄Ρ ΠΈΠ»ΠΈ 60 ΠΊΠ°Π΄ΡΠΎΠ² Π² ΡΠ΅ΠΊΡΠ½Π΄Ρ, ΡΡΠΎ ΠΎΠ³ΡΠ°Π½ΠΈΡΠΈΠ²Π°Π΅Ρ ΡΠΊΠΎΡΠΎΡΡΡ, Ρ ΠΊΠΎΡΠΎΡΠΎΠΉ ΠΊΠ°ΠΌΠ΅ΡΠ° ΠΌΠΎΠΆΠ΅Ρ Π·Π°Ρ
Π²Π°ΡΡΠ²Π°ΡΡ ΠΏΠΎΡΠ»Π΅Π΄ΡΡΡΠΈΠ΅ Π²ΠΈΠ΄Ρ ΡΡΠ΅Π½Ρ Π²ΠΎ Π²ΡΠ΅ΠΌΡ ΡΠΎΠΊΡΡΠΈΡΠΎΠ²ΠΊΠΈ, ΠΈ, ΡΠ»Π΅Π΄ΠΎΠ²Π°ΡΠ΅Π»ΡΠ½ΠΎ, ΠΎΠ±ΡΡΡ ΡΠΊΠΎΡΠΎΡΡΡ ΡΠΎΠΊΡΡΠΈΡΠΎΠ²ΠΊΠΈ. Π’Π°ΠΊΠΈΠΌ ΠΎΠ±ΡΠ°Π·ΠΎΠΌ, Π±Π΅Π·Π·Π΅ΡΠΊΠ°Π»ΡΠ½ΡΠ΅ ΠΊΠ°ΠΌΠ΅ΡΡ, ΠΊΠ°ΠΊ ΠΏΡΠ°Π²ΠΈΠ»ΠΎ, ΠΈΠΌΠ΅ΡΡ Π³ΠΎΡΠ°Π·Π΄ΠΎ Π±ΠΎΠ»Π΅Π΅ Π±ΡΡΡΡΡΡ Π°Π²ΡΠΎΡΠΎΠΊΡΡΠΈΡΠΎΠ²ΠΊΡ Ρ ΠΎΠΏΡΠ΅Π΄Π΅Π»Π΅Π½ΠΈΠ΅ΠΌ ΠΊΠΎΠ½ΡΡΠ°ΡΡΠ°, ΡΠ΅ΠΌ Π·Π΅ΡΠΊΠ°Π»ΡΠ½ΡΠ΅ ΠΊΠ°ΠΌΠ΅ΡΡ.
Π Π½Π°ΡΡΠΎΡΡΠ΅Π΅ Π²ΡΠ΅ΠΌΡ ΠΎΡΠ΅Π½Ρ Π½Π΅ΠΌΠ½ΠΎΠ³ΠΈΠ΅ ΠΎΠ±ΡΠ΅ΠΊΡΠΈΠ²Ρ ΠΏΠΎΠ΄Π΄Π΅ΡΠΆΠΈΠ²Π°ΡΡ ΠΎΠΏΡΠ΅Π΄Π΅Π»Π΅Π½ΠΈΠ΅ ΡΠ°Π·Ρ. ΠΠ°ΠΏΡΠΈΠΌΠ΅Ρ, Olympus E-M1 ΠΏΠΎΠ΄Π΄Π΅ΡΠΆΠΈΠ²Π°Π΅Ρ ΡΠ°Π·ΠΎΠ²ΡΠΉ Π°Π²ΡΠΎΡΠΎΠΊΡΡ, Π½ΠΎ Π½ΠΈ ΠΎΠ΄ΠΈΠ½ ΡΠΎΠ΄Π½ΠΎΠΉ ΠΎΠ±ΡΠ΅ΠΊΡΠΈΠ² Π½Π° ΡΡΠΎ Π½Π΅ ΡΠ°ΡΡΡΠΈΡΠ°Π½. Sony a5100, Sony a6000 ΠΈ Fujifilm X-T1 ΠΏΠΎΠ΄Π΄Π΅ΡΠΆΠΈΠ²Π°ΡΡ ΡΠ°Π·ΠΎΠ²ΡΡ Π°Π²ΡΠΎΡΠΎΠΊΡΡΠΈΡΠΎΠ²ΠΊΡ, Π½ΠΎ ΡΠΎΠ»ΡΠΊΠΎ Π½Π΅Π±ΠΎΠ»ΡΡΠΎΠ΅ ΠΊΠΎΠ»ΠΈΡΠ΅ΡΡΠ²ΠΎ ΠΎΠ±ΡΠ΅ΠΊΡΠΈΠ²ΠΎΠ² ΡΠΎΠ²ΠΌΠ΅ΡΡΠΈΠΌΠΎ Ρ ΡΠΈΡΡΠ΅ΠΌΠΎΠΉ.